Вольтамперметрические газоанализаторы.
Если в раствор электролита погружены два электрода, к которым приложена разность напряжений от внешнего или внутреннего источника ЭДС, то во внешней цепи потечет ток, обусловленный движением ионов в растворе. При этом у поверхности электродов собираются ионы противоположного знака, создавая внутри раствора разность напряжений U, направленную встречно действующему в цепи напряжению Е. Ток в цепи определяется выражением
I = (Е – U)/R,
где R – сопротивление раствора; U – разность внутренних потенциалов анода фа и катода фк.
В вольтамперметрических газоанализаторах используется фоновый раствор электролита, в котором при соответствующем материале электродов и уровне действующего напряжения происходит поляризация одного из элек-родов, и ток в цепи при отсутствии определяемого газа практически равен нулю.
При наличии анализируемого газа в цепи возникает поляризационный ток, который определяется количеством введенных в фоновый раствор молекул газа, способных окисляться или восстанавливаться на поляризованном электроде, изменяя его потенциал. Сравнительный электрод имеет поверхность, в сотни раз превышающую поверхность измерительного электрода, благодаря чему его потенциал не зависит от протекающего в цепи тока.
При введении в раствор деполяризующего анализируемого газа на поверхности поляризованного электрода протекают следующие реакции: перенос деполяризатора из раствора на поверхность электрода, электрохимическая реакция на электроде, выделение на нем продуктов реакции. В большинстве случаев наиболее медленным процессом является перенос деполяризатора, при диффузионном подводе которого ток в растворе I определяется соотношением
I = nFSD(∂c/∂x)X=0
где n – число переносимых электронов; F – число Фарадея; S – площадь электрода; D – коэффициент диффузии; (∂c/∂x)X=0 – пространственный градиент концентрации у поверхности электрода.
Согласно уравнению, ток в растворе возрастает с увеличением концентрации деполяризующего вещества и площади электрода. Снижение толщины диффузионного слоя вследствие перемешивания электролита также приводит к росту тока.
Увеличение действующего в цепи напряжения вызывает пропорциональное увеличение тока, но в ограниченных пределах, определяемых вовлечением в электродный процесс всех близлежащих деполяризующих частиц. Установившийся ток, называемый диффузионным, определяется скоростью диффузии частиц из глубины раствора. График зависимости тока от приложенного напряжения называется поляризационной кривой (см. рисунок). Ее характер при заданном типе электродов и фоновом электролите определяется видом газа, а диффузионный ток Iд – его концентрацией. График поляризационной кривой, представленный на рис. 16.15, имеет форму волны. Полуволновый потенциал, соответствующий половине диффузионного тока, не зависит от концентрации и является характеристикой деполяризатора. Таким образом, в вольтамперметрических газоанализаторах протекающий во внешней цепи ток, являющийся выходным сигналом анализатора, однозначно определяется концентрацией определяемого газа.
Графики поляризационных кривых.
Если в качестве измерительного электрода используется ртуть, приборы называются полярографическими анализаторами или полярографами.
При измерениях концентрации кислорода в чистых газах в качестве поляризованного электрода используется катод, фоновым электролитом служит раствор кислоты. Подвод анализируемого газа осуществляется таким образом, чтобы между концентрациями кислорода в газах и электролите устанавливалось равновесие. Кислород, являясь активным деполяризатором, восстанавливается на катоде до перекиси водорода, вызывая прохождение поляризационного тока.
При анализе содержания SO2 в технических газах для исключения влияния кислорода в качестве поляризованного электрода используется анод, на котором SO2 окисляется с образованием серной кислоты.
Кулонометрические газоанализаторы.
Кулонометрические газоанализаторы основаны на измерении количества электричества, израсходованного при электролизе. Согласно закону Фарадея, для выделения при электролизе количества вещества G необходимо через раствор пропустить ток I в течение времени t:
G = M I t / (96492 n),
где М – молекулярная масса окисленного или восстановленного вещества, n – число электронов, участвующих в электродном процессе.
Выделившееся при электролизе вещество связывается без остатка с анализируемым компонентом газовой смеси, благодаря чему мерой концентрации последнего служит протекающий ток I. Последний регулируется таким образом, чтобы обеспечивалась нейтрализация раствора.
Кулонометрические газоанализаторы благодаря использованию компенсационного метода измерения обеспечивают высокую точность измерения, их показания не зависят от влажности газа, его давления и температуры, параметров окружающей среды.
Отечественной промышленностью выпускаются кулонометрические газоанализаторы "Атмосфера 1", "Атмосфера 2", предназначенные для измерения содержания в воздухе микроконцентраций SO2, H2S, Cl2, O3.
2.2.7. Эксплуатация и поверка газоанализаторов.
Качество и надежность работы промышленных газоанализаторов в значительной мере зависят от способа отбора пробы и соблюдения требований к характеристикам газа, поступающего в приемник газоанализатора. Эти требования относятся к температуре, давлению, расходу и влажности газа, наличию в нем механических, агрессивных и других примесей.
Отбираемая проба газа должна быть представительной, т. е. по своему составу соответствовать усредненному составу газов в соответствующих сечениях технологических объектов. В связи с этим отбор проб из трубопроводов должен производиться в сечениях с установившимся потоком, удаленных от местных сопротивлений. Не рекомендуется производить отбор из нижних точек трубопровода, в которых могут собираться механические примеси и влага. Если газы содержат частицы золы, угольную и другую пыль, то для отбора пробы используются керамические фильтры, вводимые в измеряемую среду. Вблизи точек отбора не должно быть ввода технологических потоков, создающих пространственный градиент концентраций, а также устройств, через которые возможен подсос воздуха или других газов. Так, при анализе топочных газов на содержание О2, характеризующего избыток подаваемого в топку воздуха, отбор пробы производится из трубы, шунтирующей конвективные поверхности нагрева. Газы в трубу поступают после пароперегревателя, а возвращаются в газоход после воздухоподогревателя. При этом подсосы воздуха, имеющие место в конвективных поверхностях нагрева, не влияют на состав анализируемого газа.
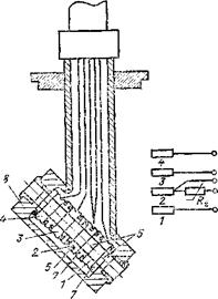
Для подготовки пробы газа и ее транспортировки через газоанализатор используются вспомогательные устройства, которые, исходя из их функций, разделяются на газоотборньте, редуцирующие, охлаждающие, очистные, просасывающие и др. Набор этих устройств, входящих в состав газоанализатора, зависит от типа последнего, состава и параметров анализируемого газа. В качестве примера на рис. представлена схема установки приемника кислородомера. Наиболее распространенным устройством, используемым для отбора пробы, является керамический фильтр 1. Он вводится в поток газа, имеющего температуру до 500 °С, содержание пыли до 20 г/м3, и может обеспечить расход газа через установку до 0,8 л/мин. При использовании водяного охлаждения фильтра температура газов в точке отбора может достигать 1700 °С. Нижняя граница температур газов в точках отбора определяется возможностью образования при конденсации жидких частиц,: забивающих поры фильтра. Для защиты от механического истирания частицами золы керамический фильтр 1 закрывается стальным щитком.
Наклон газоотводящей трубки обеспечивает отток конденсата, а наличие на ее конце пробки – возможность периодической продувки фильтра, которая производится сжатым воздухом при закрытом кране.
При повышенных температурах газов газоанализатор снабжается холодильником 2, который обеспечивает также снижение влажности анализи-руемого газа. Конструкция холодильника зависит от температуры и составa газа. При температуре газов 400–600°С используются прямоканальные холодильники, в которых охлаждающая вода снаружи омывает трубку, по которой протекает газ. В змеевиковых холодильниках трубка свернута спиралью. В нижней части холодильника 1 имеется полость для сбора конденсата 3, сливающегося в дренаж с использованием гидрозатвора. В холодильнике 2 изображенном на рис., используется комбинированный охладитель, нижняя его часть, заполненная железными стружками, служит для сбора конденсата и удаления сернистого газа.
Установки газоанализаторов обычно содержат несколько фильтров, предназначенных для очистки газа от механических частиц, капелек влаги и неопределяемых компонентов. Так, установка, представленная на рис., помимо керамического фильтра для удаления мелких механических частиц включает в себя тканевый фильтр тонкой очистки 4, который благодаря прозрачной крышке служит также в качестве контрольного.
Для осушки газа используются фильтры, заполненные гранулами хлористого кальция, или силикагели. Удаление неопределяемых компонентов производится химическими фильтрами или с помощью печей дожигания. Для поглощения сероводорода фильтр заполняется болотной рудой, двуокись углерода удаляется поглотителем ХПИ, а хлор – активированным углем. Водород сжигается в электрических печах дожигания.
На рис. элементы 5–9 предназначены для прососа газа через установку, контроля и поддержания постоянства его расхода и давления. Ротаметром 6 измеряется расход газа, регулируемый вентилем 5. Требуемое разрежение в линии устанавливается вентилем 7 и контролируется жидкостным дифманометром 8 или мембранным тягомером. Водоструйный эжектор 9 служит побудителем расхода, в качестве последнего могут использоваться также центробежные, пластинчатые и другие электронасосы.
Перечисленные вспомогательные элементы типизированы и входят в состав блоков регулировки и фильтрации типа Б, модификации которых различаются набором фильтров. Расход газа через блок регулировки и фильтрации достигает 8 л/мин.
Для газоанализаторов, работающих в системах автоматического регулирования, важной характеристикой является запаздывание показаний. Для того чтобы у газоанализатора показания новой концентрации установились в пределах основной погрешности, необходима в среднем двух–пятикратная смена внутреннего объема в установке от точки отбора давления до приемника, В связи с этим последние вместе с вспомогательными устройствами размещают вблизи технологических объектов. Для уменьшения запаздывания показаний используется повышение скорости анализируемого газа в линиях за счет байпасирования приемника газоанализатора. Сокращение длины газовых линий и уменьшение запаздывания может быть получено также за счет отбора газа из петель, шунтирующих участки технологических объектов.
Поверка показаний газоанализаторов производится с помощью образцовых газовых смесей, заключенных в баллоны и прилагаемых к газоанализаторам.
3. Анализ состава жидкостей.
3.1. Методы анализа состава жидкостей.
Ведение технологических процессов в химической, газо- и нефтехимической промышленности, энергетике во многих случаях основывается на результатах анализа состава жидкостей. Одним из важных моментов работы по охране окружающей среды является контроль за состоянием естественных и искусственных водоемов и анализ сбросных вод промышленных предприятий и населенных пунктов, которые осуществляются также с использованием анализаторов состава жидкостей. К числу наиболее распространенных методов анализа жидкостей, применяемых в промышленных анализаторах, относятся разновидности электрохимического, оптического и теплового методов, приведенные в таблице.
Таблица. Методы анализа состава растворов.
| Метод | Разновидность метода | Измеряемая величина |
| Электрохимический | Кондуктометрический | Общая электропроводность, концентрация диссоциирующего вещества в растворе, кондуктометрическое титрование. |
| Потенциометрический | Концентрация ионов (ионометрия), окислительно-восстановительный потенциал (редоксометрия), потенциометрическое титрование. | |
| Вольтамперметрический Кулонометрический | Концентрация определенного вещества в расплаве или растворе. | |
| Оптический | Колориметрический Пламенно-фотометрический | Измерение концентрации ионов и вещества в расплаве или растворе. |
| Турбидиметрический Нефелометрический | Измерение концентрации взвешенных частиц в суспензиях и эмульсиях. | |
| Тепловой | Термокондуктометрический | Измерение концентрации растворенных газов. |
В таблице не приведены такие методы, как хроматографический, титро-метрический, масс-спектрометрический. Первый более широко применяется для анализа состава газов, в связи с чем изложен выше. Титрометрический и масс-спектрометрический методы в основном используются в лабораторной практике и в данной главе не рассматриваются.
Из перечисленных в таблице методов наибольшей разрешающей способностью обладают пламенно-ионизационный, колориметрический, вольтам-перметрический и кулонометрический, применяемые для измерения микроконцентраций растворенных веществ. Последние два метода были рассмотрены выше. Подобно газоанализаторам приборы для анализа жидкостей представляют собой установки, содержащие помимо первичных и измерительных преобразователей вспомогательные устройства для подготовки пробы и ее транспортирования.
3.2. Кондуктометрический метод анализа растворов. Общие сведения.
Condact (англ.) – проводить.
Водные растворы электролитов представляют собой проводники второго рода, перенос тока в которых осуществляется движением ионов. Последние образуются при диссоциации веществ, находящихся в растворе. Электропроводность характеризует суммарную концентрацию находящихся в растворе ионов, в связи с чем приборы для ее измерения градуируются в единицах удельной электропроводности: См/см (сименс на сантиметр) и мкСм/см, в единицах условного солесодержания (мг/кг NaCl) или концентрации % H2SO4).
Удельная электропроводность раствора k, См/см, являющаяся величиной, обратной удельному сопротивлению, связана с эквивалентной концентрацией η (г-экв/см3) следующей зависимостью:
k = σ η λ
где σ – степень диссоциации молекул растворенного вещества; λ – эквивалентная электропроводность вещества при бесконечном разбавлении.
Степень диссоциации определяется числом молекул, диссоциированных на ионы. При одной и той же концентрации молекулы сильных электролитов диссоциируют больше, чем слабых. К сильным относятся соляная, серная, азотная кислоты, большинство солей, щелочи, к слабым электролитам – органические кислоты. По мере снижения концентрации степень диссоциации растет, приближаясь к единице.
При полной диссоциации молекул эквивалентная электропроводность раствора определяется подвижностью анионов λА и катионов λК, зависящей от природы диссоциированного вещества и свойств растворителя:
λ = λА + λК.
Поскольку в уравнении σ меняется с изменением концентрации, зависимость удельной электропроводности от концентрации носит сложный характер. Графики этих зависимостей для ряда веществ представлены на рисунке. Как видно из графиков, близкий к линейному рост электропроводности с увеличением концентрации наблюдается при значениях последней, составляющих 5–10%. Рост концентрации свыше 15–30 % сопровождается снижением электропроводности вследствие уменьшения степени диссоциации молекул. Учитывая неоднозначный характер зависимости электропроводности от концентрации, необходимо заранее знать область работы кондуктометра, исключая возможность измерений в области экстремума.
Графики зависимости удельной электропроводности от концентрации при 18ОС.
Удельная электропроводность раствора зависит не только от концентрации вещества и его природы, но и от температуры. Уравнение Кольрауша устанавливает связь между удельной электропроводностью раствора и температурой:
kt = k25 (1 + α (t–25) + β (t – 25)2)
При изменении температуры в пределах 15–35°С квадратичный член в уравнении (17.2) может быть опущен. В таблице приведены значения подвижностей ионов при температуре 25°С и температурный коэффициент α, характеризующий увеличение подвижности ионов с ростом температуры.
Согласно данным, приведенным в табл., подвижность ионов водорода и гидроксильной группы при бесконечном разбавлении в 2–8 раз выше, чем подвижность остальных ионов. Этим объясняется высокая электропроводность кислот и щелочей. Приведенные в табл. данные показывают, что изменение температуры на один градус вызывает изменение подвижности на 1,5 – 2,5 %. Это обусловливает необходимость стабилизации температуры раствора и введение температурной компенсации.
Таблица. Значения подвижностей ионов и температурного коэффициента.
| Катионы | λК, См см2/г–экв | α, 1/ОС | Анионы | λА,См см2/г–экв | α, 1/ОС |
| H+ | 349,8 | 0,0142 | OH– | 198,3 | 0,0196 |
| Na+ | 50,10 | 0,0208 | Cl– | 76,35 | 0,0193 |
| K+ | 73,50 | 0,0187 | F– | 55,4 | 0,021 |
| NH4+ | 73,55 | 0,0187 | Br– | 78,14 | 0,0185 |
| Li+ | 38,6 | 0,0214 | I– | 76,85 | 0,019 |
| Ag+ | 61,90 | 0,0194 | HCO3– | 44,5 | 0,0202 |
| 1/2 Ca2+ | 59,50 | 0,021 | NO2– | 71,4 | 0,0248 |
| 1/2 Mg2+ | 53,05 | 0,0218 | NO3– | 71,4 | 0,0184 |
| 1/2 Fe2+ | 53,5 | 0,024 | 1/2 CO32– | 69,3 | 0,0192 |
| 1/2 Zn2+ | 54,0 | 0,0185 | 1/2 NO42– | 80,02 | 0,0206 |
Если в сильно разбавленном растворе содержится ряд ионов с эквивалентной концентрацией каждого ηi, то результирующая электропроводность определяется суммарной электропроводностью всех ионов

Степень диссоциации слабых электролитов зависит от присутствия в растворе сильных электролитов. В связи с этим на их удельную электропроводность влияет не только концентрация вещества, но и состав раствора.
К приборам, предназначенным для измерения электропроводности, относятся кондуктомеры, солемеры, концентратомеры. Первые градуируются в единицах электропроводности, вторые – в единицах условного солесо-держания, обычно в процентах содержания NaCl. Концентратомеры градуируются в процентах содержания анализируемого вещества.
Следует отметить, что теоретически чистая вода при температуре 25°С обладает электропроводностью, составляющей 0,055 мкСм/см. При измерении малых концентраций растворенных веществ электропроводность воды создает фоновую составляющую, нарушающую пропорциональную зависимость между электропроводностью и концентрацией.
На тепловых и атомных электростанциях конденсат перегретого и насыщенного пара, питательная и химически обессоленная вода, обладая малым солесодержанием, содержат растворенные газы СО2 и NH3, которые образуют ионы Н+, NH4+, ОН–, НСО3–, CO32–. В результате электропроводность воды, обусловленная концентраций нелетучих компонентов, составляет проценты общей электропроводности. Для снижений влияния на электропроводность растворенных газов используются предвключенные Н–катионитовые фильтры, производится дегазация пробы и ее концентрирование путем упаривания.
При пропускании маломинерализованных вод, содержащих растворенный аммиак и углекислый газ, через Н-катионитовый фильтр, аммиак задерживается, а нелетучие примеси переходят в соответствующие кислоты. При этом электропроводность, обусловленная нелетучими примесями, за счет большой подвижности ионов водорода возрастает в 3–4 раза, влияние растворенных газов снижается, поскольку в присутствии сильных кислот также уменьшается диссоциация молекул Н2СОз.
Для измерения концентрации растворов по их электропроводности используются электродные и безэлектродные методы, последние менее распространены и применяются в основном для измерения концентраций кислот, щелочей.
3.3. Электродные кондуктометры.
В общем случае первичные преобразователи электродных кондуктометров представляют собой две погруженные в жидкость пластины (электроды), сопротивление раствора RХ между которыми связано с удельной электропроводностью (раствора) следующей зависимостью:
RХ = l / (kS) = K / k,
где l, S – расстояние между электродами и их площадь.
Коэффициент К, имеющий размерность см–1, называют постоянной первичного преобразователя (датчика). При известной постоянной первичного преобразователя легко осуществляется переход от измеряемого обычными методами сопротивления RХ к удельной электропроводности раствора. Постоянная преобразователя определяется путем градуировки по образцовым растворам с известной электропроводностью.
Измерительные мосты, используемые для измерения сопротивления первичного преобразователя электропроводности, питаются переменным током. При использовании постоянного тока происходит поляризация электродов. У их поверхности собираются ионы противоположного знака и продукты электролиза (пузырьки газов), вызывая образование внутренней противо-ЭДС и увеличение сопротивления раствора. Электродные эффекты при прочих равных условиях зависят от материала электродов и состояния их поверхности. Платиновые электроды обладают минимальным поляризационным сопротивлением, и их применяют в лабораторных кондуктометрах при выполнении измерений повышенной точности. Электроды промышленных кондуктометров выполняются из нержавеющей стали.
При питании первичных преобразователей переменным током влияние поляризации электродов на результат измерения снижается по мере роста частоты. Преобразователи промышленных кондуктометров питаются переменным током частотой 50 Гц, на лабораторные кондуктометры, включающие мосты полных проводимостей, подается переменное напряжение частотой 1–2 кГц и выше от звуковых генераторов.
При питании электродных преобразователей переменным током между электродами помимо активного сопротивления возникает и емкостное, зависящее от диэлектрической проницаемости раствора. Комплексный характер сопротивления преобразователя должен быть учтен при измерении путем введения комплексного сопротивления в одно из прилежащих к RХ плеч моста, используемого для измерения сопротивления раствора.
Схема проточного электродного преобразователя кондуктомера КК-1.
Электродные преобразователи для измерения электропроводности в промышленных условиях разделяются на магистральные, погружные и проточные. Магистральные преобразователи вводятся непосредственно в трубопровод, по которому течет анализируемый раствор. Погружные преобразователи опускаются в резервуар с контролируемой жидкостью. Через проточный преобразователь протекает проба анализируемого раствора, прошедшая в большинстве случаев предварительную подготовку. Внутри преобразователя, как правило, находится терморезистор, с помощью которого осуществляется компенсация влияния температуры.
Схема проточного преобразователя кондуктометра КК-1 представлна на рис. Корпус 1 служит одним электродом, второй – внутренний – состоит из двух изолированных между собой цилиндров 2, 3 различного диаметра и высоты. При подключении электрода 2 постоянная преобразователя составляет 10–2 см–1, а электрода 3 – 10–1 см–1. Внутри электрода 3 находится терморезистор 4.
Схема погружного электродного кондуктомера КК-2,3.
Для снижения влияния поляризации используются четырехэлектродные преобразователи (рис. КК-2,3). К внешним электродам 1, 4 подводится напряжение питания, внутренние электроды 2, 3 являются измерительными. При поддержании постоянства протекающего через первичный преобразователь тока разность потенциалов между электродами 2, 3 будет зависеть от электропроводности и постоянной преобразователя. Терморезистор 5 намотан на электрод 2, электроды разделены между собой и корпусом 8 втулками 6 с прокладками 7.
Рассмотренные выше первичные преобразователи кондуктометров могут включаться в различные измерительные схемы. К числу наиболее распространенных относится схема уравновешенного моста, представленная на рис. Последняя включает в себя помимо реохорда R три постоянных резистора R1–R3. Конденсатор С служит для компенсации емкостной составляющей сопротивления электродного преобразователя, который на схеме входит в плечо, включающее медный проволочный резистор Rt и шунтирующий манганиновый резистор RШ. Последний служит для согласования температурных коэффициентов цепи, включающей в себя RХ, RШ и медный резистор. Мост питается напряжением промышленной частоты. Сигнал небаланса моста поступает на усилитель У, выходной сигнал которого приводит во вращение вал реверсивного двигателя РД, соединенного с движком реохорда и показывающей стрелкой прибора.
В рассматриваемой измерительной схеме компенсация влияния темпера-туры раствора на электропроводность осуществляется с помощью медного резистора Rt, размещенного внутри первичного преобразователя и имеющего температуру раствора. Поскольку сопротивление раствора RХ имеет отрицательный температурный коэффициент, а медный резистор – положительный, включение последнего в противоположное или одно плечо с первичным преобразователем позволяет снизить влияние температуры.
Для осуществления температурной компенсации могут быть также использованы полупроводниковые терморезисторы и жидкостные преобразователи сравнения. Последние имеют ту же конструкцию, что и рабочие первичные преобразователи, но их герметизированный корпус заполнен раствором с постоянной концентрацией. Преобразователи сравнения погружаются в анализируемый раствор и имеют его температуру. Поскольку сопротивления полупроводниковых резисторов и жидкостных преобразователей сравнения, как и рабочих, имеют отрицательный температурный коэффициент, они включаются в одно из прилежащих к измерительному плеч моста.
Кондуктометр АК-310, который имеет диапазон измерения 0–1; 0–10 и 0–100 мкСм/см и выходной токовый сигнал 0–5 мА при предельной погрешности ±5 %, включает в себя помимо первичного преобразователя П измерительный ИИ и нормирующий НП, последний служит для получения унифицированного выходного сигнала. Схема кондуктометра с предвключенными катионитовыми фильтрами 1 представлена на рис. В первичный преобразователь, содержащий помимо измерительных электродов с сопротивлением RХ полупроводниковый терморезистор Rt, анализируемая вода поступает после предвключенных Н-катионитовых фильтров 1, ее расход контролируется ротаметром 2. Измерительная схема преобразователя ИП содержит последовательно соединенные питающую вторичную обмотку трансформатора Тр, первичный преобразователь RХ и цепь температурной компенсации. Последняя включает в себя резисторы Rt, R1 и R2 с параллельной цепью нагрузки, содержащей показывающий узкопрофильный микроамперметр 3 и резистор R3. С последнего сопротивления снимается сигнал до 10 мВ, подаваемый на нормирующий преобразователь НП. Выходной токовый сигнал 0 – 5 мА поступает на вторичный автоматический миллиамперметр КСУ. В измерительном преобразователе через нагрузочное сопротивление R3 протекает однополупериодный ток, сглаживаемый конденсаторами C1 и C2. При увеличении концентрации сопротивление RХ снижается, при этом возрастает ток и падение напряжения на резисторе R2. Последнее вызывает увеличение показаний микроамперметра 3 и рост выходного сигнала ИП. При увеличении температуры раствора RХ также снижается, но при этом снижается и сопротивление полупроводникового резистора Rt, включенного параллельно R2. Относительное уменьшение сопротивления Rt с помощью резистора R1 устанавливается таким, чтобы падение напряжения на параллельных резисторах R1, R2, Rt оставалось неизменным при величении тока, вызванного ростом температуры раствора.






