![]() |
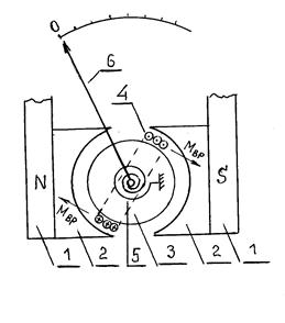
Подвижная часть прибора этой системы отклоняется в результате взаимодействия поля постоянного магнита и витков катушки с протекающим по ней током. В зависимости от того, какой из двух элементов схемы (магнит или катушка) является подвижным, различают измерительный механизм с подвижной катушкой или с подвижным магнитом. Принципиальная схема магнитоэлектрического прибора с подвижной измерительной катушкой показана на Рис. 4.2.
Рис. 4.2
Измерительный механизм прибора состоит из постоянного магнита 1, полюсных наконечников 2, цилиндра 3 из ферромагнитного материала, измерительной катушки 4, имеющей прямоугольную форму, двух спиральных пружин 5, установленных на полуосях катушки, и стрелки 6. Измерительная катушка свободно перемещается в воздушном зазоре между полюсными наконечниками и цилиндром, а измеряемый ток поступает в неё через спиральные пружины. Ток катушки I, взаимодействуя с магнитной индукцией B в воздушном зазоре, создает вращающий момент Mвр:
Мвр = BSWI
|
|
|
,где S – площадь измерительной катушки (S = ab), W – число витков катушки. Под действием вращающего момента подвижная часть измерительного механизма поворачивается вокруг оси и закручивает спиральные пружины. При этом создается противодействующий момент Мпр = W0 α.
При равенстве моментов Мвр = Мпр наступает динамическое равновесие, которое соответствует перемещению на угол α


, где
– чувствительность измерительного механизма по току. Уравнение 4.1 представляет собой уравнение шкалы прибора. Из уравнения 4.1 можно сделать следующие выводы: первопричиной отклонения подвижной части измерительного механизма является ток, шкала прибора равномерная, измеряется только постоянный ток (напряжение).
Достоинствами прибора является: высокая чувствительность, достигаемая уменьшением удельного противодействующего момента Wo (использования вместо спиральных пружин растяжек и подвесов), большое входное сопротивление (десятки кОм) и как следствие малая входная мощность, малое влияние внешних магнитных полей (прибор имеет сильное собственное магнитное поле), класс точности приборов 0.1; 0.2; 0.5; 1.
Магнитоэлектрические приборы используются для измерения различных электрических величин как на постоянном токе (ток, напряжение, сопротивление, сдвиг по фазе, частота сигнала и др.), так и на переменном токе (ток, напряжение). В последнем случае используются преобразователи переменного тока в постоянный, образуя группу приборов: выпрямительные, термоэлектрические и электронные.
Магнитоэлектрические приборы широко используются для измерения неэлектрических величин. В этом случае используются измерительные преобразователи, выходной сигнал которых представлен током или напряжением (ЭДС). Шкала прибора в такой системе градуируется в единицах измеряемой неэлектрической величины.







