Краткая классификация разрезов
Виды
Лекция №9. Виды. Разрезы. Сечения
Изображения на чертежах делятся на виды, разрезы, сечения в соответствии с ГОСТ ом 2.305 - 68. Изображения представляют собой графическое выражение предмета, выполненное способом прямоугольного проецирования, в заданном масштабе с использованием основных правил условностей и упрощений, и служат для характеристики свойств геометрических предметов.
Видом называется изображение обращенной к наблюдателю видимой части поверхности предмета.
Все изображения изделий проецируются на плоскости проекций, за которые принимают шесть граней куба. Развертка этих граней на плоскости чертежа дает возможность получить шесть проекций предмета (рис. 9.1).

Рис. 9.1. Основные плоскости проекции чертежа.
Главный вид (вид спереди) располагается в проекционной связи с остальными видами (сверху, снизу, справа, слева, сзади).
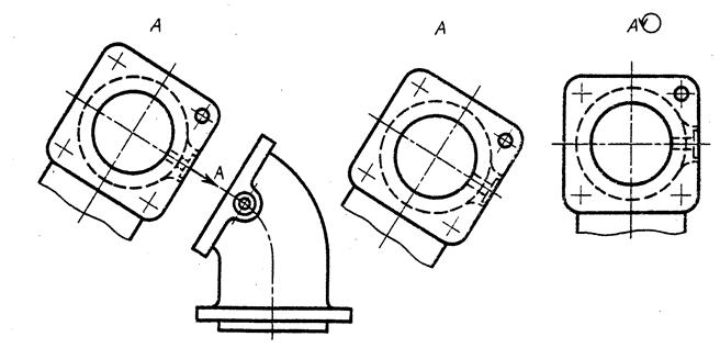
Если виды смещены относительно главного вида, то они обозначаются на чертеже как дополнительный вид, по типу "А" (рис. 9.2).
|
|
|
При этом стрелкой (размером 5 мм) указывается направление взгляда на вид детали с соответствующей буквой русского алфавита, как показано на рис. 9.2.
Дополнительным видом называется изображение, полученное на дополнительной плоскости, не параллельной основным плоскостям проекций. Он может быть смещен или повернут относительно главного вида. Этот вид обозначается так же, как было описано выше, и приведен на рис. 9.2.

Рис. 9.2. Дополнительные виды.
Если вид повернут, то необходимо к его имени добавить информацию в виде окружности диаметром 3 - 5 мм и стрелочки расположенной на ней.
Изображение отдельного места поверхности детали называется местным видом и может ограничиваться тонкой линией обрыва.
Информация о том, какие поверхности находятся внутри детали, передается с помощью штриховых линий (линий невидимого контура). Для выявления данных поверхностей применяют разрезы.
Разрез – изображение, полученное при мысленном рассечении детали одной или несколькими секущими плоскостями, при этом на плоскости чертежа изображается то, что попало в секущую плоскость, и то, что расположено за ней.
По расположению секущих плоскостей относительно плоскостей проекций разрезы делятся на:
1) Горизонтальные — секущая плоскость параллельна горизонтальной плоскости проекций П1;
2) Вертикальные
а) секущая плоскость параллельна фронтальной плоскости проекций П2 (Рис.9.3)

Рис. 9.3. Фронтальный разрез.
б) секущая плоскость параллельна профильной плоскости проекций П3 (рис. 9.4)

Рис. 9.4. Профильный разрез.
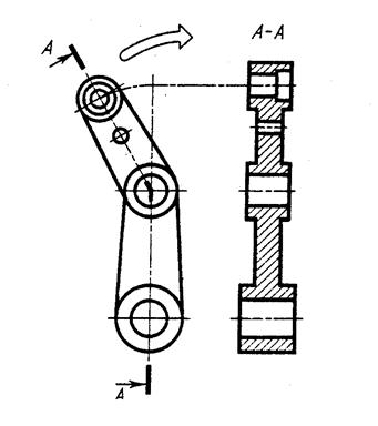
3) Наклонные — секущая плоскость не параллельна основным плоскостям проекций (Рис. 3.5).
|
|
|


Рис. 3.5. Наклонный разрез.
Разрезы называются продольными, если секущие плоскостинаправлены вдоль длины или высоты изделия, и поперечными, если секущие плоскости направлены перпендикулярно к ним..
По количеству секущих плоскостей мысленно рассекающих деталь разрезы делятся на:
· простые, когда в разрезе участвует одна секущая плоскость,
· сложные, когда разрез выполняется несколькими секущими плоскостями.
В свою очередь сложные разрезы делятся на:
а) ступенчатые, когда секущие плоскости параллельны между собой (рис. 9.6);
А -А

Рис. 9.6. Ступенчатый разрез.
б) ломаные, когда секущие плоскости пересекаются (Рис. 9.7)

Рис. 9.7. Ломаный разрез.
Положение секущей плоскости отмечают на чертеже разомкнутой линией сечения (ГОСТ 2.303 - 68) толщиной от S до 1,5S. Штрихи разомкнутой линии не должны пересекать контур изображения. К штрихам разомкнутой линии сечения подводятся стрелки, указывающие направление взгляда (Рис. 9.6 9.6). Стрелки наносят на расстоянии 2 - 3 мм от внешнего штриха линии сечения. Около стрелок, с внешней стороны концов штрихов линии сечения, выполняют надпись одной прописной буквой русского алфавита. Высота буквы должна быть на один или два номера шрифта больше, чем размерные числа. Над изображением разреза с обозначенной секущей плоскостью выполняется надпись по типу А - А (Рис. 9.7). Надпись не подчёркивается.
Обозначение секущих плоскостей вводится для простых разрезов, если секущая плоскость проходит не по плоскости симметрии детали, для всех сложных разрезов, для наклонных разрезов. Секущие плоскости, совпадающие с плоскостями симметрии детали при выполнении простых разрезов, допускается не обозначать.
Местный разрез применяется для выявления поверхности детали в отдельном, ограниченном месте. Он выполняется на виде с помощью тонкой волнистой линии, которая не должна совпадать с какими-либо другими волнистыми линиями изображения.
При выполнении любых разрезов штриховкой покрывается часть предмета, которая попадает в секущую плоскость. Штриховка наносится сплошными тонкими линиями толщиной S/3 - S/2 под углом 450 к линии рамки чертежа. Частота штриховки должна быть в диапазоне от 1 - 10 мм в зависимости от масштаба изображения. Обычно штриховые линии наносят на расстоянии от 3 до 5 мм. Для металлических изделий принята односторонняя штриховка. Одну и ту же деталь штрихуют одинаково (направление штриховки и расстояние между штрихами) на всех изображениях.
Форму отдельных элементов детали на чертежах наглядно демонстрируют сечения, которые показывают только то, что расположено в секущей плоскости.
Сечения подразделяются на вынесенные и наложенные. Вынесенные сечения обводятся сплошной основной линией толщиной S и вычерчиваются на свободном поле чертежа (рис. 9.8).
![]() |
Рис. 9.8. Вынесенные сечения.
Они имеют такое же обозначение, как сложные и наклонные разрезы, при этом они могут быть вычерчены с изменением масштаба и повернуты. Если сечение повернуто относительно заданной секущей плоскости, то после присвоения имени ставится знак "повернуто" в виде окружности диаметром 3 - 5 мм и стрелкой, расположенной на ней. Внутри контура сечение штрихуется тонкими линиями под углом 450.
Наложенные сечения обводятся сплошной тонкой линией S/2 и располагаются непосредственно на изображении.
Ось симметрии наложенного и вынесенного сечения указывают штрих-пунктирной тонкой линией.







