ПРОЕКЦИИ С ЧИСЛОВЫМИ ОТМЕТКАМИ. ТОЧКА, ПРЯМАЯ ЛИНИЯ.
В прямоугольных проекциях изображенный предмет проецируют на две и более плоскостей проекций. Но если вертикальные размеры изображаемого предмета существенно невелики по сравнению с горизонтальными (длиной и шириной), то построение фронтальной проекции затруднено, а практическое ее использование неудобно. В таком случае пользуются особым методом построения изображений, называемым методом проекций с числовыми отметками. Наибольшее применение этот метод нашел в решении задач при горном и геологоразведочном производстве.
Сущность метода проекций с числовыми отметками заключается в следующем. Изображаемый предмет прямоугольно проецируют только на одну горизонтально расположенную плоскость проекций П0, называемую плоскостью нулевого уровня. На чертеже в этом случае отображаются только два его измерения: длина и ширина. Третье измерение – высота изображаемого предмета – выражается числами, определяющими расстояние от точек предмета до плоскости проекций. Условимся в дальнейшем эти числа называть числовыми отметками. Плоскость проекций П0, относительно которой ориентируют точки пространства, называют основной или плоскостью нулевого уровня. В решении географических, геодезических и геологических задач за такую плоскость принимают уровень воды моря и океана. В России все абсолютные высоты отсчитываются от нуля Кронштадтского футштока. Изображение в проекциях с числовыми отметками называется планом.
|
|
|
Для полного определения пространственного расположения изображенных на чертеже точек необходимо наличие масштаба (масштаб всегда указывается на чертеже) и указания линейной единицы, в которой выражены числовые отметки.
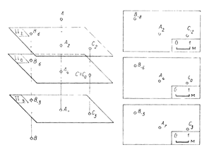
На рис.2.1, а изображены точки A, B и C. Основания перпендикуляров, опущенных из этих точек на плоскость П0, являются их проекциями на эту плоскость. Проекция каждой точки определяет две координаты точки в пространстве: по оси x и по оси y. Третья координата по оси z – высота точки – определяется числом. Точка A находится над П0 и отстоит от нее на расстояние 3 ед. длины. Точка B находится под плоскостью П0 на расстоянии 2 ед. длины. Эти числа указаны около проекций точек A и B. Числовые отметки точек, расположенных ниже плоскости П0, имеют отрицательный знак (В-2). Точка C, принадлежащая плоскости нулевого уровня, имеет нулевую отметку (C0). На рис.2.1, б дан план, на котором показаны проекции точек A, B и C с их числовыми отметками.

Рис. 2.1
В решении практических задач геодезии, а также маркшейдерии возможен случай перехода от одной плоскости проекций к другой: новую плоскость проекций располагают параллельно П0, но выше или ниже ее (рис 2.2). Расположение точек в пространстве остается неизменным, поэтому положение их проекций не изменяется, изменяются только отметки точек. Если новую плоскость расположить выше первоначальной, то положительные отметки всех точек уменьшатся на n ед. (на рис 2.2 на 2 ед.), а отрицательные - увеличатся на n ед. (на рис 2.2 на 2 ед.). Если плоскость проекций расположить ниже, то отрицательные отметки всех точек уменьшатся на n ед., а положительные - увеличатся на n ед. (на рис 2.2 на 3 ед.). Числовая отметка, выражающая удаление точки от плоскости проекций, называется абсолютной, от произвольно взятой плоскости проекций – условной.
|
|
|

Рис. 2.2