Напор
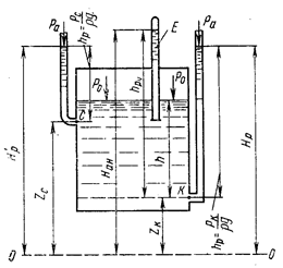
Рассмотрим точку К (рис. 6) на произвольной глубине h по отношению к плоскости сравнения 0 – 0. В точке К установим пьезометр. Пьезометрический напор

где
– геометрический напор.
Аналогично определим напор в точке С:

Очевидно, что
.
Отсюда следует, что напор
состоит из удельной потенциальной энергии давления
и удельной потенциальной энергии положения
(геометрический напор).


Рис 6. Схема расчета напора
Далее опустим в сосуд на малую глубину трубку Е, предварительно выкачав из нее воздух. По этой трубке жидкость поднимается на высоту
равную приведенной пьезометрической высоте. Сумма двух линейных величин
и
называют гидростатическим напором:
(19)
Таким образом, при учете гидростатического напора учитывают атмосферное давление
.
Пусть в точке К (рис. 6) имеется частица жидкости массой
. Потенциальная энергия этой массы относительно плоскости 0-0 равна
.
С учетом полной высоты добавится еще
- пьезометрическая высота и полная потенциальная энергия частицы
будет
(20)
Разделив обе части уравнения на
, получим уравнение для удельной потенциальной энергии 
|
|
|
(21)
Итак, удельная потенциальная энергия жидкости равна пьезометрическому напору и для всех точек на оси К рассматриваемого объема одинакова.