Энергетический баланс потока жидкости определяется уравнением Даниила Бернулли, впервые выведенного им в 1738 г. для элементарной струйки идеальной жидкости (т.е. не имеющей вязкости) при установившемся движении.
В последующем на основании работ как Д.Бернулли, так и других ученых (Л. Эйлера, Г. Кориолиса, Ж. Буссинеска и др.), это уравнение было сформировано для целого потока реальной жидкости, однако в истории науки оно известно как уравнение Даниила Бернулли. Для составления энергетического баланса рассмотрим поток, проходящий по трубопроводу переменного сечения от живого сечения
к живому сечению
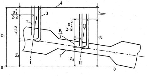
(рис. 25).
|

Рис. 25. Графическое изображение уравнения Д. Бернулли для потока реальной жидкости при установившемся движении:
1 - поток; 2 - пьезометр; 3 - трубка Пито; 4 - линия полной энергии;
- плоскость сравнения.
Рассмотрим полную удельную энергию в сечениях относительно плоскости сравнения
с учетом ранее полученного уравнения (69):
Полная удельная энергия потока в сечении
:
(70)
Полная удельная энергия потока в сечении
:
, (71)
Показания пьезометров и скоростных трубок, установленных в сечениях
и
, демонстрируют, что
.
Это вызвано тем, что часть энергии потока расходуется на преодоление гидравлических сопротивлений при движении жидкости от одного сечения к другому.
Величина
называется удельной потерей энергии (или потерей напора) и обозначается
. Отсюда на основании закона сохранения энергии запишем следующее уравнение
(72)
Полученное выражение и называется уравнением Бернулли для потока реальной жидкости.
Влияние вязкости жидкости приводит к неравномерному распределению скоростей в поперечном сечении потока (трубопровода). Поэтому уравнение (72) перепишется в следующем виде:
, (73)
где
- коэффициент, характеризующий неравномерность распределения скоростей в поперечном сечении потока (коэффициент Кориолиса).
Значение коэффициента Кориолиса находится в пределах
в зависимости от режима движения жидкости.
Каждая составляющая уравнения Бернулли имеет геометрический и энергетический смысл.
Все члены уравнения (73) имеют линейную размерность, и каждый из них может называться высотой:
| - геометрическая высота, или высота положения, |
| - пьезометрическая высота; |
| - высота скоростного напора; |
| - высота потерь напора. |
Сформулируем геометрический смысл уравнения Бернулли для потока реальной жидкости.
При установившемся потоке реальной жидкости сумма четырех высот (высота положения, пьезометрическая высота, высота скоростного напора и высота потерь напора) есть величина постоянная для любого сечения потока.
Энергетический смысл уравнения Бернулли заключается в следующем: при установившемся потоке реальной жидкости сумма четырех удельных энергий (энергии положения, энергии давления, кинетической энергии и энергии потерь) остается неизменной для любого сечения потока.
Уравнение Бернулли является основным уравнение гидродинамики, с помощью которого выводятся расчетные формулы для различных случаев движения жидкости, и решается большое количество практических задач равномерного движения жидкости в трубах и открытых руслах.
Для решения этих задач используют два основных уравнения гидродинамики:
1) уравнение Бернулли
, (74)
2) уравнение неразрывности потока
, (75)
При решении задач обычно по длине потока выбирают два характерных поперечных сечения (
и
). Горизонтальная плоскость сравнения
, как правило, выбирается по оси трубопровода. При этом сечения выбираются с таким расчетом, чтобы для одного из них были известны величины
,
и
, а для другого – одна или две из них были неизвестны и подлежали определению.
Взаимосвязь между тремя параметрами: скоростью, давлением и живым сечением послужила основой для конструирования различных гидравлических и пневматических машин, устройств и приспособлений, получивших широкое применение в технике.