Основные схемы базирования
Выбор базовых поверхностей зависит от конструктивных форм зубчатых колес и технических требований. У колес со ступицей (одновенцовых и многовенцовых) с достаточной длиной центрального базового отверстия (l/D >1) в качестве технологических баз используют двойную направляющую поверхность отверстия и опорную базу в осевом направлении – поверхность торца.
У одновенцовых колес типа дисков (l/D <1) длина поверхности отверстия недостаточна для образования двойной направляющей базы. Поэтому после обработки отверстия и торца установочной базой для последующих операций служит торец, а поверхность отверстия – двойной опорной базой. У валов-шестерен в качестве технологических баз используют, как правило, поверхности центровых отверстий.
На первых операциях черновыми технологическими базами являются наружные необработанные «черные» поверхности. После обработки отверстия и торца их принимают в качестве технологической базы на большинстве операций. Колеса с нарезанием зубьев после упрочняющей термообработки при шлифовании отверстия и торца (исправление технологических баз) базируют по эвольвентной боковой поверхности зубьев для обеспечения наибольшей соосности начальной окружности и посадочного отверстия.
|
|
|
Для обеспечения наилучшей концентричности поверхностей вращения колеса применяют следующие варианты базирования. При обработке штампованных и литых заготовок на токарных станках за одну установку их закрепляют в кулачках патрона за черную поверхность ступицы или черную внутреннюю поверхность обода. При обработке за две установки заготовку сначала крепят за черную поверхность обода и обрабатывают отверстие, а при второй установке заготовки на оправку обрабатывают поверхность обода и другие поверхности колеса.
Изготовление зубчатых колес осуществляется в несколько этапов. Каждый из этапов состоит из определенного количества операций, содержание которых может быть разработано таким образом, чтобы обеспечить возможность обработки группы колес с общим или близким конструктивными и технологическими решениями.
В этом случае мы имеем дело с типовыми этапами изготовления зубчатых колес и групповыми операциями. Для изготовления зубчатых колес необходимы следующие типовые этапы:
1) обработка наружных и внутренних поверхностей зубчатого колеса до обработки зубьев;
2) нарезание зубьев перед термообработкой;
3) термическая обработка зубьев или всего зубчатого колеса;
4) отделка зубьев и других поверхностей зубчатого колеса.
На первом этапе, как правило, окончательно обрабатывают наружные, торцовые и другие поверхности. Отверстие обрабатывается по 7-му квалитету точности, так как оно является базой при обработке зубьев. Точная обработка зубьев (отсутствие радиального биения венца и др.дефектов) позволяет уменьшить величины припусков на отделочные операции зубьев, что в свою очередь, значительно сокращает машинное время этих операций. Например, уменьшение припусков на 0,1 мм сокращает время шлифования колеса с числом зубьев 40 на 20 минут. Если отверстие зубчатого колеса после термообработки (третий этап) подвергается шлифованию, то на первом этапе оно также обрабатывается по 7-му квалитету точности, но с припуском на шлифование. Например, если окончательный размер диаметра отверстия 40 Н 7, то на первом этапе оно обрабатывается в размер 39,7 Н 7. Припуск 0,3 мм будет удален на внутришлифовальной операции после термообработки. На первом этапе торцы ступиц зубчатых колес также обрабатываются точно, т.е. с обеспечением заданного допуска перпендикулярности к оси отверстия. Торцы ступиц наряду с отверстием также участвуют в базировании колеса при обработке зубьев. Если торцы ступиц окажутся с большими отклонениями от перпендикулярности к оси отверстия зубчатого колеса, а между собой торцы будут непараллельны, то при их закреплении на оправке зубофрезерного или другого станка последняя получит искривление оси, что приведет к большим погрешностям в зубчатом венце. Этап обработки зубьев при отсутствии термообработки зубчатого колеса заключается в обработке зубьев либо окончательно на зуборезных станках, либо с припуском на шлифование, если выполняются по 6, 7-й степеням точности и точнее.
|
|
|
Этап термической обработки, как правило, заключается в закалке токами высокой частоты (ТВЧ) зубчатого венца. При этом зубья получают некоторую деформацию. Если деформация зубьев приводит к недопустимым отклонениям, то прибегают к четвертому этапу – отделке зубьев. Если в процессе термообработки отверстие деформируется настолько, что оно требует дополнительной обработки для восстановления точности и шероховатости поверхности внутренним шлифованием, то эта операция выполняется до отделки зубьев. Вначале шлифуют отверстие с базированием колеса по впадинам деформированных зубьев и одному торцу, затем, базируясь по отверстию и торцу, шлифуют зубья. Такая последовательность выполнения шлифовальной операции четвертого этапа обеспечивает равномерность распределения припуска на деформированных зубьях, что, в свою очередь, сокращает время шлифования зубьев. Это время в десятки раз превосходит время шлифования отверстия. Поэтому выгоднее оставлять больший припуск на шлифование отверстия для компенсации последствия деформации зубьев, чем увеличивать припуск на шлифование зубьев.
Нарезание зубьев зубчатых колес осуществляется двумя основными методами: обкатки и копирования.
Метод обкатки – основной метод нарезания зубьев колес. В соответствии с ним зубья формируют фрезерованием червячными фрезами, долблением долбяками, строганием гребенками, горячим и холодным накатыванием.
Наиболее широкое применение при нарезании зубьев получил метод обкатки червячными фрезами и долбяками (рис. 4). При этом методу профиль зубьев образуется в результате взаимного зацепления инструмента 1 (червячные фрезы или долбяка) и обрабатываемого колеса 2, что обеспечивает высокую точность.

Рис. 4. Схемы нарезания зубьев зубчатых колес методом обкатки:
а– червячными фрезами; б - долбяками
Нарезание зубьев при модулях до 3…4 мм осуществляется за один проход на полную глубину зуба. При больших модулях нарезание зубчатых колес осуществляют за два прохода: черновой и чистовой.
|
|
|
Режимы резания при нарезании зубьев червячной фрезой выбирают исходя из стойкости инструмента и качества материала заготовки. Скорость резания при обработке червячной фрезой, изготовленной из быстрорежущей стали марок Р6М5, Р6М5К5, Р9К10 и др. может достигать 2 м/с (120 м/мин) при подаче S = 3 мм/об заготовки.
С помощью круглых долбяков осуществляется нарезание прямозубых зубчатых колес на зубодолбежных станках. На таких станках можно нарезать зубья зубчатого колеса как наружного, так и внутреннего зацепления.
При нарезании зубчатых колес с прямыми зубьями долбяк и нарезаемая заготовка, вращаясь вокруг своих осей, представляет как бы пару зубчатых колес, находящихся в зацеплении. Кроме вращательного движения долбяк совершает поступательно-возвратное движение вдоль своей оси, в результате чего на заготовке формируются зубья заданного профиля. Для устранения преждевременного износа долбяка во время каждого холостого хода создается зазор путем увеличения межосевого расстояния между нарезаемым зубчатым колесом и долбяком.
При нарезании косозубых колес долбяк кроме возвратно-поступательного движения вдоль оси заготовки совершает дополнительное винтовое движение.
Преимуществом метода обработки круглым долбяком на зубодолбежном станке является как простота и удобство обслуживания станка, так и более высокая точность обработки. Поэтому при обработке точных зубчатых колес (7-я степень точности) модулем более 3 мм предварительное нарезание зубьев осуществляют на зубофрезерных станках, а окончательное нарезание – на зубодолбежных станках.
Метод копирования. При нарезании колес методом копирования профиль режущей части инструмента (фрезы, резца, протяжки) полностью соответствует профилю впадины зуба колеса.
Метод копирования применяют главным образом в индивидуальном и мелкосерийном производствах, а также при ремонтных работах ввиду низкой точности обработки зуба и малой производительности. Обработка зубьев методом копирования осуществляется, в основном, путем фрезерования зубьев модульными дисковыми фрезами при модуле нарезаемых зубьев до 20 мм и модульными пальцевыми фрезами при модуле свыше 20 мм на универсально- и вертикально-фрезерных станках с использованием делительных головок. Получаемая точность – 10-я степень и грубее. Обрабатываемую заготовку закрепляют на оправке, установленной в центрах делительной головки и задней бабки (рис. 5). Во время работы модульная фреза совершает вращательное движение (движение резания), а стол станка поступательно перемещение (движение подачи). После прорезания одной впадины зуба заготовку с помощью делительной головки поворачивают на угол a = 360 о/ Z, где Z – число зубьев колеса, и прорезают следующую впадину.
|
|
|

Рис. 5. Схемы нарезания зубьев зубчатых колес методом копирования:
а – модульными пальцевыми фрезами; б – модульными дисковыми фрезами
В крупносерийном и массовом производстве для нарезания зубчатых колес методом копирования применяют протягивание, которое осуществляется специальной модульной протяжкой в виде дисковой фрезы большого диаметра на протяжном станке. Зубья нарезаются при вращении и поступательно-возвратном перемещении с протяжки.
Нарезание зубчатых колес методом копирования осуществляется также на зубодолбежных станках набором резцов, собранных в головке. Их количество и профиль соответствуют числу зубьев и модулю зубчатого колеса. Число двойных ходов головки определяется модулем зубьев и принятой глубиной резания за один ход. Резцы в головке затачивают комплектно в специальном приспособлении. За каждый двойной проход головки резцы сходятся радиально на величину установленной подачи.
Зубья закаленных зубчатых колес и незакаленных колес 6, 7-й степени точности подвергают шлифованию.
Для шлифования зубьев используют один из трех методов:
1) копирование, когда каждую впадину между зубьями шлифуют фасонным кругом (рис. 6, а, б); фасонный круг автоматически правится тремя алмазами; за время чистового шлифования зубчатое колесо совершает несколько оборотов;
2) обкатку зуба дисковыми коническими кругами с прямолинейными боковыми сторонами профиля (рис. 6, в, г); при таком способе два крайних круга выполняют предварительную, а средний – окончательную обработку; после шлифования зубчатые колеса получают 7-6-ю степень точности, производительность в несколько раз ниже способа копирования;
3) обкатку зуба червячным абразивным кругом;принцип работыаналогичен зубофрезерованию, но вместо фрезы установлен червячный круг; в результате обработки колеса получают 5-6-ю степени точности, производительность в 4…5 раз больше производительности способа шлифования обкаткой.

Рис. 6. Схемы шлифования зубьев:
а, б – методы копирования; в, г – методом обкатки
Для отделки после термической обработки применяют хонингование. Хон имеет форму зубчатого колеса и сделан из особого состава шлифовального порошка (рис. 7). Хонингование выполняют при зацеплении колеса с хоном с притормаживанием колеса на станке типа шевинговального, но без радиальной подачи.

Рис. 7. Схема шлифования зубьев червячным абразивным кругом
Хонингование применяется как отделочная операция при обработке зубчатых колес 7-й степени точности после термической обработки шевингованных колес.
Применяются также доводные процессы приработки и притирки зубьев зубчатых колес после термообработки (рис. 8). Притирка осуществляется на притирочных станках при помощи специальных притиров, которые изготовляют в виде зубчатых колес из чугуна и смазывают абразивным порошком с маслом. Обрабатывать поверхности можно одним притиром (рис. 8, а) и тремя (рис. 8, б). При обработке тремя притирами два из них (1 и 4) выполняют с винтовыми зубьями. Скрещивание осей создает относительное скольжение зубьев. Притир 3 является ведущим, обеспечивая попеременное вращение колеса 2 в разных направлениях. Давление притиров на поверхности зубьев регулируют притормаживанием двух притиров 1 и 4.
Во избежание ударов при переключении зубчатых колес в коробках скоростей главных приводов сельскохозяйственных машин применяют зубозакругление на зубозакругляющих станках.
Закругление торцов зубьев можно производить пальцевой, чашечной, торцовой, дисковой фасонными фрезами и др.

Рис. 8. Схема притирки зубьев:
а – одним притиром; б – тремя притирами
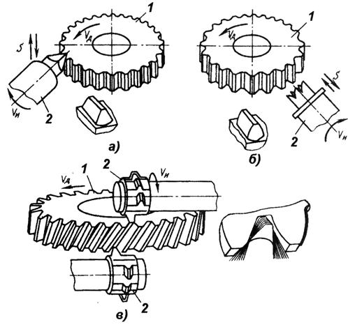
В процессе закругления торцов пальцевой фрезой (рис. 9, а) обрабатываемое зубчатое колесо 1 непрерывно вращается, а инструмент 2, кроме вращения, получает дополнительную возможность синхронного перемещения вдоль зуба вверх и вниз по специальному копиру, профиль которого соответствует закругленной форме. За один оборот копира закругляется профиль одного зуба. Торцы зубьев с модулем до 3 мм закругляют за один проход, с модулем более 3 мм – за два прохода и более. Частота вращения фрезы составляет 780…1500 мин-1. Время обработки одного торца зуба соответствует 1…3 с.
Более эффективным методом закругления зубьев является обработка с помощью фасонных чашечных двухзубых и трехзубых фрез (рис. 9, б). Чашечные фрезы снимают металл внутренними криволинейными и прямолинейными режущими кромками.
В процессе обработки вращающаяся фреза 2, установленная под углом к обрабатываемому зубчатому колесу 1 (неподвижному), совершает возвратно-поступательные перемещения вдоль своей оси. После обработки одного зуба зубчатое колеса автоматически поворачивается на один зуб, затем цикл обработки повторяется. Время закругления чашечной фрезой зубьев с модулем m = 3 мм и числом зубьев колеса z = 18 за два прохода составляет 14 с.
Снятие фасок и заусенцев с острых кромок торцов зубьев чаще всего производится двумя одновитковыми многозубыми фрезами (рис. 9, в) на специальном станке методом непрерывного деления. Фрезы имеют различные осевые шаги, направление винтовой линии и углы рабочего профиля зуба. При обработке зубчатое колесо 1 и фрезы 2 вращаются синхронно. За один оборот инструмента зубчатое колесо поворачивается на один зуб. После окончания процесса обработки фрезы отводятся в исходное положение для съема и установки детали. Время обработки зубьев с модулем m - = 3,50 мм и числом зубьев z = 43 составляет 13 с. Обработка торцов и снятие с них фасок и заусенцев производятся до отделки зубьев.

Рис. 9. Схемы закругления и снятия фасок на торцах зубьев
Для повышения плавности работы пары зубчатых колес, предназначенных для совместной работы, применяют приработку зубьев, для чего колеса вводят в зацепление и при смазывании абразивной смесью с маслом выполняют попеременное вращение (со скоростью 1…1,5 м/с) в двух направлениях при взаимном сближении.