005 Заготовительная.
Для заготовок из проката – резка проката, для штампованных заготовок – штамповка.
Штампованные заготовки целесообразно выполнять с прошитыми отверстиями, если их диаметр более 30 мм и длина не более трех диаметров.
Заготовки из чугуна и цветных сплавов (иногда из сталей) получают литьем.

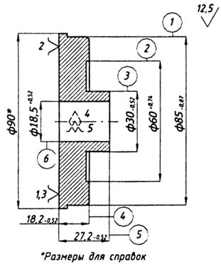
Рис. 10. Типовое цилиндрическое зубчатое колесо с односторонней
ступицей
010 Термическая.
Нормализация, отпуск (для снятия внутренних напряжений).
015 Токарная (рис. 11).

Рис. 11. Операционный эскиз операции 15
Точить торец обода и торец ступицы с одной стороны начерно, точить наружную поверхность обода до кулачков патрона начерно, расточить начерно на проход отверстие (или сверлить и расточить при отсутствии отверстия в заготовке), точить наружную поверхность ступицы начерно, точить фаски.
Технологическая база – наружная поверхность обода и торец, противолежащий ступице (закрепление в кулачках токарного патрона).
Оборудование:
единичное производство – токарно-винторезный станок;
мелко- и среднесерийное – токарно-револьверный, токарный с ЧПУ;
крупносерийное и массовое – одношпиндельный или многошпиндельный токарный полуавтомат (для заготовки из прутка – прутковый автомат).
020 Токарная (рис. 12).

Рис. 12.Операционный эскиз операции 20
Точить базовый торец обода (противолежащий ступице) начерно, точить наружную поверхность обода на оставшейся части начерно, расточить отверстие под шлифование, точить фаски.
Технологическая база – обработанные поверхности обода и большего торца (со стороны ступицы).
Оборудование – то же (см. операцию 015).
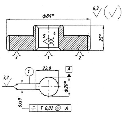
025 Протяжная (долбежная) (рис. 13).

Рис. 13. Операционный эскиз операции 25
Протянуть (долбить в единичном производстве) шпоночный паз или шлицевое отверстие.
Технологическая база – отверстие и базовый торец колеса.
Оборудование – горизонтально-протяжной или долбежный станки.
Применяются варианты чистового протягивания отверстия на данной операции вместо чистового растачивания на предыдущей операции.
030 Токарная (рис. 14).
Точить базовый и противолежащие торцы 1, 2, наружную поверхность венца начисто.
Технологическая база – поверхность отверстия (реализуется напрессовкой на оправку, осевое положение на оправке фиксируется путем применения подкладных колец при запрессовке заготовки). Необходимость данной операции вызывается требованием обеспечения соосности поверхностей вращения колеса.
Оборудование – токарно-винторезный (единичное производство), токарный с ЧПУ (серийное) или токарный многорезцовый полуавтомат.

Рис. 14. Операционный эскиз к операции 30
035 Зубофрезерная (рис. 15).

Рис. 15. Операционный эскиз операции 35
Фрезеровать зубья начерно (обеспечивается 8-я степень точности).
Технологическая база – отверстие и базовый торец (реализуется оправкой и упором в торец).
Оборудование – зубофрезерный полуавтомат.
040 Зубофрезерная.
Фрезеровать зубья начисто (обеспечивается 7-я степень точности).
045 Шевинговальная.
Шевинговальная операция повышает на единицу степень точности зубчатого колеса. Операции применяют для термообрабатываемых колес с целью уменьшения коробления зубьев, так как снимается поверхностный наклепанный слой после фрезерования.
Технологическая база – отверстие и базовый торец (реализуется оправкой).
Оборудование – зубошевинговальный станок.
050 Термическая.
Калить заготовку или зубья (ТВЧ) или цементировать, калить и отпустить (согласно техническим требованиям). Наличие упрочняющей термообработки, как правило, приводит к снижению точности колеса на одну единицу.
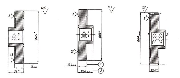
055 Внутришлифовальная (рис. 16).

Рис. 16. Операционный эскиз операции 55
Шлифовать отверстие 1 и базовый торец 2 за один установ. Обработка отверстия и торца за один установ обеспечивает их наибольшую перпендикулярность.
Технологическая база – рабочие эвольвентные поверхности зубьев (начальная окружность колеса) и торец, противолежащий базовому. Реализация базирования осуществляется специальным патроном, у которого в качестве установочных элементов используют калибровочные ролики или зубчатые секторы. Необходимость такого базирования вызвана требованием обеспечения равномерного съема металла и зубьев при их последующей отделке с базированием по отверстию на оправке.
Оборудование – внутришлифовальный станок.
При базировании колеса на данной операции за наружную поверхность венца для обеспечения соосности поверхностей вращения необходимо ввести перед или после термообработки круглошлифовальную операцию для шлифования наружной поверхности венца и торца, противолежащего базовому (желательно за один установ на оправке).
Технологическая база – отверстие и базовый торец.
Оборудование – круглошлифовальный или торцекруглошлифовальные станки.
Необходимость отделки наружной поверхности венца колеса часто вызывается также и тем, что контроль основных точностных параметров зубьев производится с использованием этой поверхности в качестве измерительной базы.
060 Плоскошлифовальная (рис. 17).

Рис. 17. Операционный эскиз операции 60
Шлифовать торец 1, противолежащий базовому (если необходимо по чертежу).
Технологическая база – базовый торец.
Оборудование – плоскошлифовальный станок с прямоугольным или круглым столом.
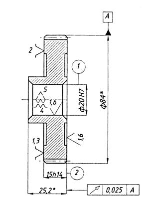
065 Зубошлифовальная (рис. 18).
Шлифовать зубья.
Технологическая база – отверстие и базовый торец.
Оборудование – зубошлифовальный станок (обработка откаткой двумя тарельчатыми или червячными кругами или копированием фасонным кругом). При малом короблении зубьев или термообработке (например. При азотировании вместо цементации) операция зубошлифования может быть заменена зубохонингованием или вообще отсутствовать.
Наличие зубошлифовальной или зубохонинговальной операции определяется наличием и величиной коробления зубьев при термообработке. Двукратное зубофрезерование и шевингование зубьев до термообработки может обеспечить 6-ю степень точности. При потере точности во время термообработки на одну степень конечная 7-я степень точности будет достигнута. Введение отделочной операции зубошлифования или зубохонингования необходимо только при уменьшении точности колеса при термообработке больше, чем на одну степень.

Рис. 18. Операционный эскиз операции 65
070 Моечная.
075 Контрольная.
080 Нанесение антикоррозионного покрытия.
Применяются варианты технологического процесса с однократным зубофрезерованием, но с двукратным зубошлифованием.
Наличие упрочняющей термообработки приводит, как правило, к снижению степени точности колес на одну единицу, что требует введения дополнительной отделочной операции. Для незакаливаемых зубчатых колес шевингование является последней операцией; перед термообработкой шевингуют зубья в целях уменьшения деформации колеса в процессе термообработки и повышения степени на одну единицу.
Приведенный выше технологический процесс требует обработки колеса на оправках как до нарезания зубьев и термообработки, так и после термообработки.
Процесс может быть построен иначе, т.е. без применения оправок до термообработки. В этом случае токарная обработка ведется в патронах, а протягивание шпоночного паза или шлицев производят после нарезания зубьев и нет операции чистовой обработки на оправке до термообработки. В этом случае не гарантируется достаточная перпендикулярность торца к оси отверстия. Для уменьшения отклонения от перпендикулярности протягивание выполняют с жестким направлением протяжки.