Общие сведения о деформациях зданий и сооружений. Под воздействием окружающей среды и нагрузок от эксплуатации оборудования, а также от других причин с течением времени здания могут изменять свое положение, как в вертикальной, так и в горизонтальной плоскости. Такие изменения в ряде случаев могут приводить к перекосам, прогибам, трещинам и кренам конструкций. Если эти изменения не будут во время обнаружены и устранены, то здание или сооружение может разрушиться. В этой связи за положением зданий и сооружений в процессе эксплуатации необходимо вести натурные наблюдения с проведением необходимых геодезических измерений. Кроме наблюдений за состоянием строительных конструкций, в ряде случаев необходимо наблюдение за положением технологического оборудования в процессе его эксплуатации. Смещение здания, сооружения или оборудования в вертикальной плоскости называется осадкой, а соответствующее горизонтальное смещение – сдвигом. При равномерных осадках все точки здания или сооружения перемещаются в вертикальном направлении на одну и ту же величину, что не существенно влияет на их прочность и устойчивость. В тех случаях, когда свойства грунта под фундаментом здания сильно зависят от координаты, или нагрузка на грунт по координатам фундамента сильно изменяется, осадка может иметь неравномерный характер, что приводит к заметным деформациям здания, появлению трещин или разломов. Наблюдения за деформациями зданий и сооружений необходимо проводить в первые годы эксплуатации и до их стабилизации. При этом необходимо установить периодический цикл наблюдений. В течение этого цикла наблюдения надлежит выполнять через равные промежутки времени в зависимости от скорости осадок. При снижении скорости осадок интервал между повторными наблюдениями может быть увеличен.
Размещение реперов и марок для наблюдений за осадками. Для наблюдений за осадками зданий необходимо иметь систему определенных точек, закрепленных специальными постоянными нивелирными знаками. Эти точки являются фундаментальными глубинными реперами, закладываемыми в стороне от сооружения, где их сохранность и неизменность геометрического положения в системе геодезических координат не вызывают сомнений в течение длительного времени. В районе наблюдений за осадками зданий должны быть установлены не менее трех глубинных реперов с учетом возможного обеспечения контроля их высотного положения с одной постановки нивелира. Глубинные фундаментальные реперы для наблюдений особо ответственных сооружений устанавливаются при измерении осадок нивелированием 1 класса. При измерении осадок нивелированием II и III классов можно использовать реперы, расположенные в грунте ниже уровня его промерзания. Наиболее распространенными типами грунтовых реперов являются трубчатые реперы, или забитые в грунт сваи. Верхняя часть трубчатого репера или сваи должна иметь сферическую головку. Кроме грунтовых реперов для наблюдений за осадками зданий необходимы так называемые контрольные осадочные марки, которые закладываются в стены сооружения и перемещаются вместе с ними. По наблюдениям за положением марок можно определить численные значения величины осадки сооружения или его отдельных частей. От правильности размещения и количества осадочных марок, заложенных в тело сооружения будет зависеть достоверность определения величин осадок. При этом необходимо учитывать удобство для наблюдения марок. Размещение марок на сооружении проводится с учетом конструкции фундамента, нагрузки на отдельные части основания, а также с учетом свойств грунта. Желательно устанавливать осадочные марки примерно на одном уровне в местах, где ожидаются наибольшие осадки. Для жилых и общественных бескаркасных зданий с кирпичными стенами и ленточным фундаментом марки размещаются по периметру через 10÷15 метров. Для промышленных сооружений и каркасных жилых и общественных зданий марки размещаются на несущих колоннах по продольным и поперечным осям не менее трех в каждом направлении. Для бескаркасных крупнопанельных зданий со сборными фундаментами марки устанавливаются по периметру через 6÷8 метров. Для сооружений со свайными фундаментами марки размещаются через 10÷15 м по продольным и поперечным осям сооружения. На доменных печах, дымовых трубах устанавливается не менее 4 марок по периметру. Для гидротехнических сооружений, разделенных на секции, устанавливают не менее трех марок на каждую секцию, а при ширине секции более 15 м – не менее четырех марок. Осадочные марки бывают различных видов. Простейшая марка представляет собой стальной уголок длиной 15 см при закладке в каменную стену и 5 см при креплении марки к стальной конструкции. Более сложная марка имеет сферическую поверхность и при закладке в стену должна выступать на 3-4 см для удобства установки рейки. В земляные сооружения типа плотин, дамб закладываются марки, представляющие собой штанги, верхний конец которых имеет головку, а нижний – башмак в виде диска с арматурными шипами. Марка устанавливается в защитную трубу, заполненную на 0,5 бетоном, в который вдавливается башмак. Сверху марка закрывается крышкой. Марки закладывают на разную глубину и по результатам их нивелирования определяют деформации земляного сооружения.
Методы определения осадок зданий и сооружений. Самым распространенным методом наблюдений за осадками зданий является метод геометрического нивелирования. При этом методе через заданные промежутки времени проводится нивелирование осадочных марок относительно исходных глубинных или грунтовых реперов. Численное значение величины и скорость изменения координаты осадочной марки по высоте является основной характеристикой осадки сооружения. Интервал между циклами наблюдений выбирается в зависимости от типа сооружения, характера грунта в основании фундамента и времени, прошедшего с начала эксплуатации сооружения. Наблюдения за особо сложными сооружениями, например, АЭС, гидроэлектростанциями, начинаются с возведения фундамента и проводятся нивелированием 1 класса в прямом и обратном направлениях с ошибкой в превышениях, полученных из двух горизонтов нивелира, не более 0,3 мм. Для многих промышленных сооружений определение осадок проводится нивелированием II и III классов. Нивелирование II класса проводят при одном горизонте прибора в прямом и обратном направлении, используя инварные штриховые рейки. При определении осадок нивелированием III класса с помощью нивелира Н-3 и двусторонних геодезических реек с сантиметровыми делениями, нивелирование проводят при двух горизонтах прибора в одном направлении. Длина визирного луча не должна превышать 40 м, высота визирного луча должна быть не менее 0,3 м над поверхностью земли. Неравенство расстояний от нивелира до реек не должно превышать 2 м, а предельная невязка хода – не более 2 n мм, где n – число станций. Допустимые средние квадратические ошибки определения осадок здания относительно исходного репера не должны превышать 1мм для здания на скальных или полускальных грунтах, 2 мм для зданий и сооружений на песчаных, глинистых и других сжимаемых грунтах, 5 мм для зданий на насыпных, просадочных и других сильно сжимаемых грунтах.
Методы определения горизонтальных перемещений зданий и сооружений. Горизонтальные перемещения зданий, называемые сдвигом, определяются от опорных пунктов, расположенных вне сферы влияния здания и принимаемых за неподвижные точки. Перемещения, определяемые относительно какой-либо точки здания, выбранной за опорную, называются относительными или взаимными. Согласно требованиям строительных норм и правил (СНиП) средние квадратические ошибки определения горизонтальных перемещений точек здания на скальных грунтах не должны превышать 1 мм, на песчаных, глинистых и других сжимаемых грунтах – 3 мм, на насыпных, просадочных и других сильно сжимаемых грунтах – 10 мм, земляных плотин – 15 мм. Наблюдение за горизонтальными перемещениями зданий после ввода их в эксплуатацию проводится дважды в году, желательно весной и осенью и прекращаются, когда скорость смещения становится менее 2 мм в год. Наблюдения могут возобновляться, когда на здании появляются деформации, непредусмотренные проектом. Метод створных наблюдений применяют для определения горизонтальных перемещений прямолинейных плотин, колонн зданий и других сооружений, когда наблюдаемые точки в плане лежат на одной прямой.

Рис. Схема расположения знаков при створных наблюдениях
На схеме изображены опорные точки пунктов А и В, задающие створ наблюдений и контрольные точки 1, 2, 3, 4 находящиеся в стенах здания. В каждой контрольной точке размещают подвижную визирную марку, снабженную наводящим винтом. При наблюдениях за горизонтальными перемещениями сооружения необходимо определять величины отклонений контрольных точек от створа АВ с помощью подвижной марки. При наблюдениях визирную цель марки наводящим винтом перемещают до совмещения вертикальной оси этой цели с визирной осью теодолита. Перед наблюдениями устанавливают теодолит в точке А и визируют его зрительную ось на точку В, задавая таким образом соответствующий створ. Взяв отсчет по шкале марки, получают численное значение величины сдвига контрольной точки от створа линии. В случае установки в контрольных точках здания неподвижных марок, задача определения горизонтальных деформаций и перемещений контрольных точек может быть решена путем измерения малых углов между линией створа здания и направлением на контрольную точку. Для этих измерений необходимо использование высокоточных приборов. При этом кроме численных значений величин малых углов, необходимо измерять соответствующие расстояния от точки А до контрольных точек. При невозможности закрепления створа на здании или сооружении для измерения перемещений применяется метод отдельных направлений.

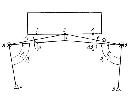
Рис. Схема определения смещения точек сооружения методом отдельных направлений
Сущность данного метода заключается в повторных измерениях горизонтальных углов β1 и β2 в опорных точках пунктов А и В. Углы измеряются высокоточным теодолитом, а расстояния – измерительными приборами с точностью 1:1000.