При сварке переменным током полярность подаваемого напряжения изменяется в связи с тем, что анодное и катодное пятно имеют разную площадь, поэтому эмитирующая способность анодного и катодного пятна разная. Особенно это проявляется при сварке легкоплавких металлов.



При сварке алюминия из-за вентильного эффекта в сварочной цепи появляется постоянная составляющая, которая ухудшает катодное распыление. Формирование и качество шва ухудшаются. Ухудшается работа сварочного трансформатора (трансформатор может войти в насыщение, произойдёт перегрев обмоток и он может выйти из строя). Для устранения вентильного эффекта используются специальные устройства или последовательно в сеть включаются конденсаторы, на которых падает постоянная составляющая.

Элементная база сварочных источников питания.
Конденсатор С:

10-6[Ф]=мкФ
10-9[Ф]=нФ
10-12[Ф]=пФ
Основное назначение конденсаторов - накопление электрической энергии в виде электрического поля. Конденсаторы применяются в источниках питания переменного тока для подавления вентильного эффекта и при конденсаторной сварке. Также конденсаторы используются в микросхемах.



С=С1+С2
Резистор R:


103Ом=1кОм
106Ом=1МОм
При сварке для построения вольтамперных характеристик используются балластные реостаты, например: РБ – 301У3
R=(0.095-3) Ом
С помощью балластных реостатов можно регулировать силу сварочного тока при многопостовой сварке.
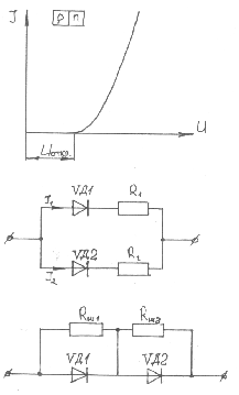
Диод VD:

Основными характеристиками диода являются максимальный, средний или действительный ток (максимально допустимая сила тока); максимально допустимое обратное напряжение; диапазон рабочих частот.

- применяется для увеличения общего тока диода

- идеальная вольтамперная характеристика
Uоткр=0,6 – 0,8 В –кремневые диоды
I1= I2

Основное назначение диодов в сварочных установках – это выпрямление переменного напряжения.






