Важнейший путь снижения вклада энергетики в загрязнение окружающей среды:
· повышение КПД электростанций и энергетических технологий производства;
· другой путь – это энергоресурсоэкономия при генерации, распределении и потреблении энергии, а также и при производстве энерготехники и сооружении энергообъектов.
Важно снижение объема суммарных воздействий на окружающую среду на единицу полезного эффекта, учет системного подхода и того общего закона, что нет вполне экологически чистых источников. Необходимо также:
· реализация природоохранных и защитных мероприятий, включая компенсирующие, путем реконструкции, модернизации, улучшения, рационализация всех процессов и узлов в энергетике:
· совершенствование законодательной базы, системы контроля и мониторинга за сбросами, выбросами, отходами, системы идентификации виновных юридических лиц и их наказания на основе реального нанесённого ущерба, но не условного.
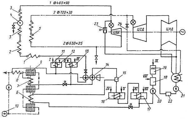
Оценим значимость первого пути для энергетики России на основе анализа схем блоков повышенной эффективности (БПЭ).
Основные технические решения, повышающие КПД и общую эффективность таких энергоблоков следующие: более глубокая газовая регенерация наравне с паровой за счет включения в рассечку между 3-мя пакетами воздухоподогревателя 9 теплообменников 6 и 7 на байпасе ПНД и ПВД соответственно; применение деаэрационных устройств в конденсатосборнике и отсутствие деаэратора; использование смешивающих ПНД 1 и 2 по гравитационной схеме, двухподъемная схема с единым турбинным приводом, позволяющая во всех поверхностях нагрева в системе регенерации, включая ПВД, иметь пониженное рабочее давление; полнопроходной сепаратор сниженного сопротивления и т.д.
Ограничения на выбросы в атмосферу со временем будут значительно жестче. Поэтому и в блоках повышенной экономичности должны быть и будут приняты все те меры по достижению перспективных сниженных выбросов оксидов серы, азота, золы, которые были предложены в разработках по известной программе "Экологически чистые угольные ТЭС". Системы водоподготовки во всех случаях будут ориентированы на применение современных технологий приготовления подпиточной воды с минимальными расходами реагентов и воды.

Рис. 16.1. Схема блока повышенной эффективности (БПЭ):
1 – экономайзер; 2 – экранная система; 3 – пароперегреватель; 4 – полнопроходной сепаратор; 5 – промежуточный пароперегреватель; 6 – теплообменник на байпасе ПНД;
7 – теплообменик на байпасе ПВД; 8 – охладитель воздуха; 9 – воздухоподогреватель; 10 – дутьевой вентилятор; 11–13 – ПВД №7–9; 14 – турбопитательный насос; 15 – смеситель; 16 – ПНД №5 и №6; 17 – ПНД №3 и №4; 18–19 – смешивающие ПНД №1 и №2; 20, 21 – конденсатные насосы; 22 – блочная обессоливающая установка; 23 – БРОУ;
24 – линия сброса пара из "горячих" паропроводов промперегревателя;
I–IX – потоки отборного греющего пара
Таблица 16.1
Важнейшие мероприятия повышения экологичности и эффективности ЭС
| Мероприятие | Описание технологических изменений | Что достигается для экологии |
| Повышение начальных параметров пара ТЭС | Котельные агрегаты и турбоустановки на сверхкритических параметрах пара 27–30 МПа, 580–600 °С, возможно с двухкратным промперегревом. | Рост КПД и снижение выбросов на единицу полезной отпущенной энергии. |
| Повышение КПД котла | Глубокое до 90–100 °С охлаждение уходящих газов путем установки на его хвосте между ступенями трубчатого воздухоподогревателя дополнительных теплообменников, включенных в байпас ПНД и ПВД. | Вытеснение части турбинной регенерации, но развитие газовой регенерации. КПД турбины падает, но КПД блока растет примерно на 2% абсолютных. |
Продолжение табл. 16.1
| Реконструкция топочных устройств для канско-ачинских бурых угли березовского месторождения | Восемь вертикальных блоков горелок (по 2 на каждой стене), восемь пылесистем с прямым вдуванием, мельницами, вентиляторами и газовой сушкой. Рециркуляция дымовых газов, температура горения до 1270 °С. Отсутствует интенсивное шлакование экранов и достаточно высокое связывание серы золой топлива | Степень золоулавливания (ЗУ): 99,3–99,6% 300–400 мг/м3 оксидов серы 200–250 мг/м3 оксидов азота |
| Для кузнецкого каменного уголя | Призматическая топка с вихревым встречно-размещенными горелками (на 50% снижение образования оксидов азота), трехступенчатое сжигание по высоте топки. Требуемая степень ЗУ 99,7–99,8% может обеспечиваться только рукавными фильтрами и электрофильтрами (ЭФ) с знакопеременным импульсным электропитанием. Снижение SOx: ввод известняка в высокотемпературную зону котла (СНКВ) + мокросухая известковая суспензия в форкамеру перед первым полем ЭФ. Снижение NOx: ввод аммиака в высокотемпературную зону. | оксиды серы 300–400 мг/м3 (при α=1,4) и ниже оксиды азота 350–400 мг/м3 |
| Модернизация турбинной установки | Снижение выходных потерь в последних ступенях, лопатки 1200 мм и саблевидные сопловые аппараты. Снижение утечек пара через уплотнения. Уменьшение концевых потерь. Аэродинамическое совершенствование выхлопных патрубков. Совершенствование конденсационных установок (шарико-очистка, частотно-регулируемый привод) | повышение ηoi на 1,5% + 0,6–1,0% + 1,5% + 0,6–0,8% |
| Бездеаэраторная схема. Двухподъемная схема ПН. Два смешивающих ПВД по гравитационной схеме. Паропроводы, вспомогательное оборудование, АСУ ТП. | КПД до 49,0–50,5% 7350–7200 кДж/кВт·ч |






