КОНТАКТНЫЕ ЯВЛЕНИЯ
Принцип действия большинства полупроводниковых приборов основан на физических
явлениях, происходящих в области контакта твердых тел. При этом
преимущественно используются контакты: полупроводник-полупроводник; металл-
полупроводник; металл-диэлектрик-полупроводник.
Если переход создается между полупроводниками n-типа и p-типа, то его
называют электронно-дырочным или p-n переходом.
Электронно-дырочный переход создается в одном кристалле полупроводника с
использованием сложных и разнообразных технологических операций.
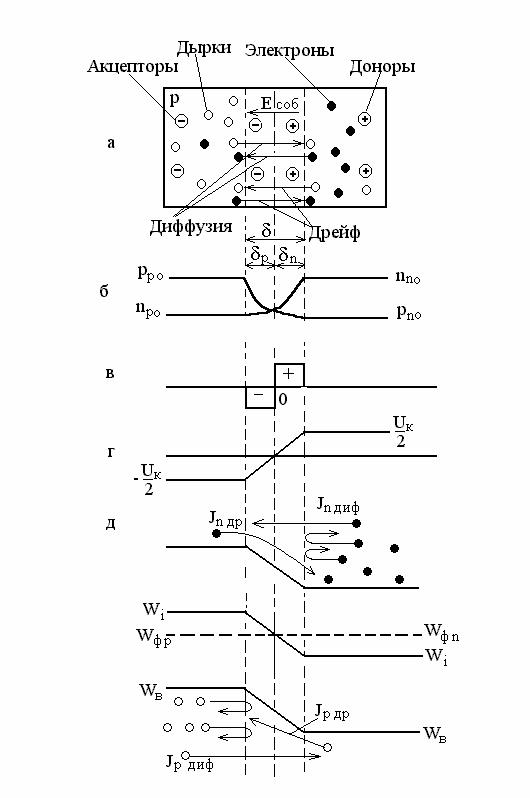
Рассмотрим p-n переход, в котором концентрации доноров Nд и
акцепторов Na изменяются скачком на границе раздела (рис. 1.7, а).
Такой p-n переход называют резким. Равновесная концентрация дырок в p-области
(
) значительно
превышает их концентрацию в n-области (
). Аналогично для электронов выполняется условие 
>
. Неравномерное
распределение концентраций одноименных носителей зарядов в кристалле (рис. 1.7,
б) приводит к возникновению диффузии электронов из n-области в p-область и
дырок из p-области в n-область. Такое движение зарядов создает диффузионный
ток электронов и дырок. С учетом выражений (1.13) и (1.14) плотность полного
диффузионного тока, проходящего через границу раздела, определится суммой
.
Электроны и дырки, переходя через контакт навстречу друг другу (благо- даря
диффузии), рекомбинируют и в приконтактной области дырочного полу- проводника
образуется нескомпенсированный заряд отрицательных ионов акцепторных примесей,
а в электронном полупроводнике нескомпенсирован -ный заряд положительных
донорных ионов (рис. 1.6, в). Таким образом, электронный полупроводник
заряжается положительно, а дырочный - отрицательно. Между областями с
различными типами электропроводности возникает собственное электрическое поле
напряженностью Eсоб (рис. 1.7, а), созданное двумя слоями объемных
зарядов.
Этому полю соответствует разность потенциалов Uк между n- и
p-областями, называемая контактной (рис. 1.7, г). За пределами области
объемного заряда полупроводниковые области n- и р-типа остаются электрически
нейтральными.
Собственное электрическое поле является тормозящим для основных носителей
заряда и ускоряющим для неосновных. Электроны p-области и

Рисунок 1.7 Равновесное состояние p-n перехода.
дырки n-области, совершая тепловое движение, попадают в пределы
диффузионного электрического поля, увлекаются им и перебрасываются в
противоположные области, образуя ток дрейфа, или ток проводимости.
Выведение носителей заряда из области полупроводника, где они являются
неосновными, через электронно-дырочный переход ускоряющим электрическим полем
называют экстракцией носителей заряда.
Используя выражение (1.12) и учитывая, что Е = -dU/dx, определяем плотность
полного дрейфового тока через границу раздела p- и n-областей:
.
Так как через изолированный полупроводник ток проходить не должен, между
диффузионным и дрейфовым токами устанавливается динамическое равновесие:
. (1.15)
Приконтактную область, где имеется собственное электрическое поле, называют
p-n переходом.
Поскольку потенциальная энергия электрона и потенциал связаны соотношением W =
-qU, образование нескомпенсированных объемных зарядов вызывает понижение
энергетических уровней n-области и повышение энергетических уровней р-области.
Смещение энергетических диаграмм прекратится, когда уровни Ферми W ф
n и W фp совпадут (рис. 1.7, д). При этом на
границе раздела (x = 0) уровень Ферми проходит через середину запрещенной зоны.
Это означает, что в плоскости сечения x = 0 полупроводник характеризуется
собственной электропроводностью и обладает по сравнению с остальным объемом
повышенным сопротивлением. В связи с этим его называют запирающим слоем или
областью объемного заряда.
Совпадение уровней Ферми n- и p-областей соответствует установлению
динамического равновесия между областями и возникновению между ними
потенциального барьера Uk для диффузионного перемещения через p-n
переход электронов n-области и дырок p-области.
Из рис. 1.7, д следует, что потенциальный барьер
.
Подстановка в это выражение результатов логарифмирования соотношений (1.4),
(1.7) позволяет получить следующее равенство:
.
Если обозначить jт = kT/q и учесть уравнение (1.10), то можно записать:
; (1.16)
. (1.17)
Из уравнений (1.16) и (1.17) следует:
;
. (1.18)
При комнатной температуре (Т = 300 К) jт» 0,026 В.
Таким образом, контактная разность потенциалов зависит от отношения
концентраций носителей зарядов одного знака в р- и n-областях полупроводника.
Другим важным параметром p-n перехода является его ширина, обозначаемая d = d
p + dn.
Ширину запирающего слоя d можно найти, решив уравнения Пуассона для n-
области и p-области:
; (1.19)
. (1.20)
Решения уравнений (1.19) и (1.20) при граничных условиях
; 
; 
имеют вид:
для -dp < x < 0;
для 0 < x <dn; (1.21)
В точке x = 0 оба решения должны давать одинаковые значения j и 
. Приравняв
и 
, можно записать:
. (1.22)
Из равенства (1.22) видно, что ширина слоев объемных зарядов в n- и
p-областях обратно пропорциональна концентрациям примесей и в несимметричном
переходе запирающий слой расширяется в область с меньшей концентрацией
примесей.
На основании равенства (1.22) можно записать:
;
, (1.23)
где d = dn + dр.
Приравнивая правые части уравнений (1.21) и учитывая соотношения (1.23), при
x = 0 получаем
.
На основании этого выражения формулу для определения ширины запирающего слоя
p-n перехода можно записать в следующем виде:
. (1.24)
Из соотношения (1.24) видно, что на ширину запирающего слоя существенное
влияние оказывает концентрация примесных атомов. Увеличение концентрации
примесных атомов сужает запирающий слой, а уменьшение расширяет его. Это
часто используется для придания полупроводниковым приборам требуемых
свойств.






