Газ, образующийся в обжиговых печах, содержит значительное количество пыли до 300 г/см3, которая засоряе т аппараты и отравляет катализатор. Пыль удаляется из обжигового газа в процессе общей очистки газа (Рис. 3.2):
| Рис. 3.2. Общая очистка газа: для общей очистки газа используют циклон (центробежная сила) и сухой электрофильтр (электростатическая сила). |
Общая очистка газа включает операции механической (грубой) и электрической (тонкой) очистки газа.
Механическую очистку газа от грубых частиц осуществляют пропусканием газа через центробежные пылеуловители (циклоны).
Электрическая очистка - удаление наиболее лёгких частиц
пыли - производится очисткой в сухих волокнистых электрофильтрах, которые снижают содержание пыли и тумана до 0,05-0,1 г/см3.
Обжиговый газ после общей очистки, подвергают специальной очистке в промывных башнях и мокрых электрофильтрах для окончательного освобождения газа от оставшихся частиц пыли и боле полного удаления оксидов мышьяка и селена, которые являются сильными контактными ядами, необратимо отравляющими катализатор (Рис. 3.3).
Для удаления оксида мышьяка и селена, находящихся в газообразном состоянии, их переводят в твёрдое состояние за счёт охлаждения обжигового газа ниже температур плавления (315 °С) (340 °С) этих соединений.
1) С этой целью сернистый газ, имеющий температуру 300-400 ºС, поступает в так называемые промывные башни. Башня – это стальной цилиндр высотой 12-14 м и шириной 4-5 м. Стены башни для защиты от коррозии покрыты изнутри листами пластмассы и выложены поверх этого кислотоупорным кирпичом.
В первой промывной башне без насадок газ охлаждают орошением 70%-ной серной кислотой до 70 ºС.

Рис. 3.3. Схема специальной очистки обжигового газа: 1,2 - промывные башни; 3, 5 - мокрые электрофильтры; 4 - сушильная башня; 6 - сушильная башня; 7 - фильтр с асбестом; 8 - оросительные холодильники; 9 - сборники; 10 - центробежные насосы; 11 - турбогазодувка.
В результате промывке серной кислотой, имеющей более низкую температуру, чем очищенный газ, примеси серы и селена, находящиеся в газообразном состоянии, переходят в твёрдое состояние. Часть примесей растворяются в серной кислоте. При этом получается загрязнённая 75%-ная серная кислота, которая поступает в накопитель и выдаётся как нестандартная продукция (башенная кислота).
Однако большая часть примесей переходит в состав сернокислого тумана. Появление тумана объясняется тем, что обжиговый газ помимо оксида серы (IV) содержит небольшое количество оксида серы (VI) и паров воды. При быстром охлаждении газа, оксид серы (VI) взаимодействует с парами воды, с образованием мельчайших капелек серной кислоты в виде тумана.
В связи с этим необходима дополнительная очистка сернистого газа от сернокислого тумана для полного удаления примесей окислов мышьяка и селена.
Для удаления сернокислого тумана обжиговый газ после прохождения влажного электрофильтра поступает во вторую промывную башню с насадками.
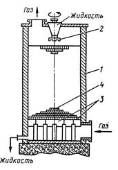
Во второй промывной башне с насадками газ орошают 20%-ной серной кислотой и охлаждают до 30 ºС. Для создания большей поверхности контакта газа с жидкостью (сернистого газа с серной кислотой), в башне размещены специальные насадки в виде колец из кислотоупорной керамики: (Рис 3.4):
1) В этих условиях в результате значительного понижения температуры и уменьшения количества водяных паров, которые улавливаются серной кислотой, происходит укрупнение и частичное осаждение капель тумана. Полученная при этом 30% серная кислота также удаляется в накопитель и выдаётся как нестандартный продукт.
| Рис. 3.4. Башня с насадкой: 1 - корпус; 2 - разбрызгиватель жидкости; 3 - колосниковая решётка; 4 - насадки (кольца). |
2) Окончательное удаление капель сернокислого тумана осуществляется в мокрых электрофильтрах. После очистки от ядов газ подаётся на осушку.
3) Осушку газа (полное удаление паров воды) проводят в сушильных башнях с насадками за счет орошения 95%-ной серной кислотой.
Из системы специальной очистки газ выходит с температурой 140-50 °С.
Затем его подают турбокомпрессором в контактное отделение для окисления оксида серы.