| Схема | D, мм | Dn. мм
| Область применения |
| 60—200 | 2,0—2,5 | Средние и тяжелые токарные и фрезерные станки при крупносерийном производстве |
| 40—160 | 2,5—3,0 | Легкие и средние токарные, фрезерные и шлифовальные станки при крупносерийном производстве |
| 60—200 | 2,5—4,0 | Средние и тяжелые токарные,- фрезерные фрезерно-расточные, шлифовальные станки |
![]()
| 30—120 | 4,0—6,0 | Высокоскоростные легкие и средние токарные, фрезерные, фрезерно-расточ-ные, отделочно-расточные станки |
| 60— 140 | 4,0—6,0 | Тяжелые станки шлифовальные |
| 20—100 20—80 20— 80 | 6,0—11 8,0—12 10—18 | Шлифовальные отделочно-расточные станки для работы на сверхвысоких скоростях |
Типовые схемы сверхскоростных ШУ с опорами качения приведены в нижней части таблицы.
13.3. ОПОРЫ СКОЛЬЖЕНИЯ ДЛЯ ШПИНДЕЛЕЙ
Опоры скольжения применяют в шпиндельных узлах тех станков, где подшипники качения не могут обеспечить требуемой точности и долговечности работы. В качестве таких опор используют в зависимости от свойств гидродинамические и гидростатические подшипники, а также подшипники с газовой смазкой.
|
|
|

Рис. 13.8. Гидродинамические подшипники с одним (а) и несколькими (б) маслеными клиньями
Гидродинамические подшипники применяют в станках с высокими постоянными или мало изменяющимися скоростями вращения шпинделей при незначительных нагрузках (станки шлифовальной группы).
В станкостроении, используют многоклиновые гидродинамические подшипники (рис. 13.8, б), так как одноклиновые (рис. 13.8, а ) не могут обеспечить требуемой жесткости и точности вращения. В многоклиновых подшипниках создается несколько клиновых зазоров, куда вращающимся валом увлекается масло, и результирующая гидродинамических сил F дпозволяет воспринимать внешнюю нагрузку F, действующую в любом направлении. Клиновые зазоры создаются обычно с помощью башмаков, самоустанавливающихся в зависимости от нагрузки и положения шпинделя. Самоустановка башмаков осуществляется либо их поворотом на сферических опорах (подшипник ЛОН-34 конструкции ЭНИМС, рис. 13.9, а), либо поворотом относительно специально выполненной втулки (подшипник ЛОН-88, рис. 13.9, б).

Рис 13.9. Гидродинамические подшипники с самоустановкой баш маков:
а — поворотом на сферических опорах; б — поворотом относительно втулки
Существенным недостатком гидродинамических опор является изменение положения оси шпинделя при изменении частоты его вращения.
Система подачи масла в гидродинамические опоры весьма проста и должна обеспечивать подачу масла в количестве, компенсирующем его потери через уплотнения.
|
|
|
Гидростатические опоры обеспечивают высокую точность вращения, обладают высокой демпфирующей, способностью, что значительно повышает виброустойчивость шпиндельного узла, имеют практически неограниченную долговечность, высокую нагрузочную способность при любой частоте вращения шпинделя. Гидростатические опоры могут быть использованы в качестве датчиков силы в системахадаптивного управления, в качестве приводов микроперемещений.
Принцип действия гидростатического подшипника основан натом, что при прокачивании масла под давлением от внешнего источника через зазоры (щели) между сопряженными поверхностями в зазоре образуется несущий масляный слой, исключающий непосредственный контакт поверхностей даже при не вращающемся шпинделе (рис. 13.10). В радиальных подшипниках равномерно по окружности делают полости-карманы, куда через дроссели подается под давлением масло от источника питания (насоса).При приложении внешней нагрузки вал занимает эксцентричное положение, зазоры h в подшипнике перераспределяются, что приводит к увеличению давления р масла в одних карманах и уменьшению в противоположных. Уравнивания давлений в карманах не происходит вследствие наличия дросселей на входе в каждый карман. Разность давлений создает результирующую силу Fc, воспринимающую внешнюю нагрузку. Отвод смазочного материала производится через торцы подшипника, иногда и через дренажные канавки, выполненные на перемычках между карманами.

Рис. 13.10. Гидростатические осевые (а) и радиальные (б) опоры

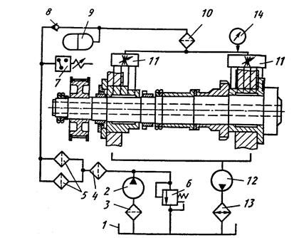
Рис. 13.11. Система питания гидростатических подшипников:
1 — бак; 2 — насос; 3 — фильтр грубой очистки; 4 — магнитный фильтр; 5—фильтры тонкой очистки; 6 — напорный золотник; 7 — реле давления; 8 —обратный клапан; 9 — гидроаккумулятор; 10 — фильтр тонкой очистки; 11 -дроссели; 12 — насос; 13 — теплообменник; 14 — манометр
Систему подучи масла в гидростатические опоры отличают надежная и тонкая фильтрация, наличие блокировок, исключающих вращение шпинделя до достижения заданного давления в системе отсутствие манометров между дросселем и карманом, наличие ресивера. Типовая схема питания представлена на рис. 13.11.
13.4. РАСЧЕТ ШПИНДЕЛЬНЫХ УЗЛОВ
Расчет на жесткость. Главные размеры шпиндельного узла (рис. 13.12) — диаметр d шейки шпинделя под передней опорой и расстояние l между опорами — выбирают из расчета шпинделя на жесткость. Величину вылета а шпинделя определяют по стандартным размерам, его переднего конца и размерам уплотнений; она должна быть возможно малой.

мм







