Автор: преподаватель, Рудианов Г.В., Преподаватель, Санкт-Петербург. Тип материала: Конспект
Занятие № 6.2. Устройство и работа передающей системы (СГ) ССЦ
Вид занятия: групповое занятие.
Время: 2 часа.
Цель: 1. Изучить назначение, состав и основные технические характеристики системы СГ;
2. Изучить принцип действия передающей системы СГ по функциональной схеме;
3. Изучить органы управления и контроля системы СГ, признаки нормальной работы.
Учебные вопросы:
1. Назначение, состав и основные технические характеристики системы СГ;
2. Работа передающей системы СГ по функциональной схеме;
3. Органы управления и контроля передающей системы СГ. Признаки нормальной работы системы СГ.
Литература: 1. РудиановГ.В., Переверзев М.А. Устройство и эксплуатация ЗПРК 2К22. Часть II. Станция сопровождения целей. Конспект лекций. С.-Пб. 2011, с. 9-11.
1. НАЗНАЧЕНИЕ, СОСТАВ И ОСНОВНЫЕ ТЕХНИЧЕСКИЕ ХАРАКТЕРИСТИКИ СИСТЕМЫ СГ
Передающая система СГ предназначена _______________________________________
____________________________________________________________________________
В состав системы СГ входят следующие блоки:
· блок СГ1 - ____________________________________________________________________
· блок СГ2М -___________________________________________________________________
· блок ОГ3 - ____________________________________________________________________
________________________________________________________________________________
Основные технические данные.
Импульсная мощность - ___________________________________________________________
Длительность зондирующих импульсов - ____________________________________________
Частота следования зондирующих импульсов:
без вобуляции - ______________________________________________________________
с вобуляцией - _______________________________________________________________
Частота следования кодовых групп - ______________________________________________
Время готовности________________________________________________________________
Амплитуда импульсов запуска_____________________________________________________
Длительность импульса запуска____________________________________________________
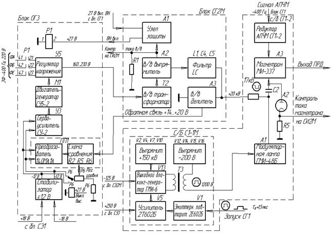
2. РАБОТА СИСТЕМЫ СГ ПО ФУНКЦИОНАЛЬНОЙ СХЕМЕ
_______________________________________________________________________________
_______________________________________________________________________________
_______________________________________________________________________________
_______________________________________________________________________________
_______________________________________________________________________________
_______________________________________________________________________________
_______________________________________________________________________________
_______________________________________________________________________________
_______________________________________________________________________________
_______________________________________________________________________________
_______________________________________________________________________________
_______________________________________________________________________________
_______________________________________________________________________________
Функциональная схема системы СГ

_______________________________________________________________________________
_______________________________________________________________________________
_______________________________________________________________________________
_______________________________________________________________________________
_______________________________________________________________________________
_______________________________________________________________________________
_______________________________________________________________________________
_______________________________________________________________________________
_______________________________________________________________________________
_______________________________________________________________________________
_______________________________________________________________________________
_______________________________________________________________________________
_______________________________________________________________________________
_______________________________________________________________________________
_______________________________________________________________________________
_______________________________________________________________________________
_______________________________________________________________________________
_______________________________________________________________________________
_______________________________________________________________________________
_______________________________________________________________________________
_______________________________________________________________________________
_______________________________________________________________________________
_______________________________________________________________________________
_______________________________________________________________________________
_______________________________________________________________________________
_______________________________________________________________________________
_______________________________________________________________________________
_______________________________________________________________________________
_______________________________________________________________________________
_______________________________________________________________________________
_______________________________________________________________________________
_______________________________________________________________________________
_______________________________________________________________________________
_______________________________________________________________________________
_______________________________________________________________________________
_______________________________________________________________________________
_______________________________________________________________________________
_______________________________________________________________________________
_______________________________________________________________________________
_______________________________________________________________________________
_______________________________________________________________________________
_______________________________________________________________________________
_______________________________________________________________________________
_______________________________________________________________________________
_______________________________________________________________________________
_______________________________________________________________________________
_______________________________________________________________________________
_______________________________________________________________________________
_______________________________________________________________________________
_______________________________________________________________________________
_______________________________________________________________________________
_______________________________________________________________________________________________________________________________________________________________
_______________________________________________________________________________
_______________________________________________________________________________
_______________________________________________________________________________
_______________________________________________________________________________
_______________________________________________________________________________
_______________________________________________________________________________
_______________________________________________________________________________
_______________________________________________________________________________
________________________________________________________________________________________________________________________________________________________________
_______________________________________________________________________________
_______________________________________________________________________________
_______________________________________________________________________________
_______________________________________________________________________________
_______________________________________________________________________________
_______________________________________________________________________________
_______________________________________________________________________________
_______________________________________________________________________________
_______________________________________________________________________________
_______________________________________________________________________________
_______________________________________________________________________________
_______________________________________________________________________________
_______________________________________________________________________________
_______________________________________________________________________________
______________________________________________________________________________________________________________________________________________________________
_______________________________________________________________________________
3. ОРГАНЫ УПРАВЛЕНИЯ И КОНТРОЛЯ ПЕРЕДАЮЩЕЙ СИСТЕМЫ. ПРИЗНАКИ НОРМАЛЬНОЙ РАБОТЫ СИСТЕМЫ СГ.
Органы управления и контроля системы СГ:
а) Блок СИ1М.
На передней панели блока расположены:
Кнопки-табло:
СЕТЬ - _____________________________________________________________________
РАБОТА - __________________________________________________________________
___________________________________________________________________________
АВАРИЯ СГ - ______________________________________________________________
___________________________________________________________________________
РПЧМ - ____________________________________________________________________
Ручки потенциометров:
РПЧ - ______________________________________________________________________
Светодиоды:
ГОТОВ - ____________________________________________________________________
____________________________________________________________________________
Кнопка "АВАР.ВКЛ" - ________________________________________________________
____________________________________________________________________________
б) Блок СИ2М.
На передней панели блока СИ2М расположены:
Переключатели "ТОК" - _______________________________________________________
____________________________________________________________________________
в) Блок СУ5М.
На передней панели блока СУ5М расположены:
Кнопки-табло:
РУЧН.ВОБУЛ. - ______________________________________________________________
СДЦ - ______________________________________________________________________
ЧАСТОТА ШТ - _____________________________________________________________
При включении ССЦ:
Нажать СЕТЬ – __________________________________________________________________
Нажать РАБОТА – _______________________________________________________________
________________________________________________________________________________
Для проверки работоспособности системы:
На блоке СИ2 переключатель ТОК ® ПРОХОД.МОЩН., ______________________________
________________________________________________________________________________
ТОК ® ВЫПР., __________________________________________________________________
ТОК ® ГЕН., ____________________________________________________________________
ТОК ®СМЕСИТЕЛЬ. 11,12,21,22,31,32, _____________________________________________
________________________________________________________________________________
________________________________________________________________________________
________________________________________________________________________________
________________________________________________________________________________
________________________________________________________________________________________________________________________________________________________________
________________________________________________________________________________
Задание на самостоятельную работу:
1. Изучить материал занятия;
2. На функциональнойсхеме СГ начертить путь заряда и разряда конденсатора С2.