Расходы воды
В качестве примера рассмотрим расходы воды на тепловых электростанциях.
Кроме охлаждения конденсаторов турбин, вода на тепловых электростанциях расходуется на следующие цели:
1) охлаждение масла турбогенераторов;
2) охлаждение воздуха (водорода) или непосредственно обмоток в электрогенераторах;
3)охлаждение подшипников вспомогательного оборудования;
4) удаление золы и шлака;
5) восполнение потерь конденсата и приготовление питательной воды котлов, паропреобразователей, испарителей с учетом собственных нужд системы химводоочистки;
6) подпитка как закрытых, так и открытых систем теплоснабжения;
7) хозяйственные и бытовые нужды (питьевая вода, санузлы, душевые и пр.);
8) восполнение потерь охлаждающей воды в системах оборотного водоснабжения.
Расход охлаждающей воды на конденсацию отработавшего пара турбин определяется из уравнения теплового баланса конденсатора.
Отношение расхода охлаждающей воды Gо в к расходу сконденсировавшегося пара Dк называется кратностью охлаждения конденсатора m:
m=Gов/Dк=qк/Δhов (3.1),
где qк – теплота конденсации пара; Δhо в – разность энтальпий охлаждающей воды на выходе и входе в конденсатор.
Величина qк в реальных условиях работы конденсаторов изменяется незначительно, поэтому кратность охлаждения в основном зависит от нагрева охлаждающей воды в конденсаторе. Этот нагрев определяется следующими факторами:
- температурой воды перед конденсатором, которая может значительно колебаться по временам года; - недогревом охлаждающей воды до температуры конденсации пара;
- величиной паровой нагрузки конденсатора;
- конструкцией конденсатора.
Все эти факторы между собой взаимно связаны. Поэтому оптимальная кратность охлаждения конденсата для конкретных условий определяется технико-экономическими расчетами по минимуму расчетных затрат с учетом расходов на топливо, электроэнергию по перекачке охлаждающей воды и амортизационных отчислений на оборудования системы водоснабжения конденсаторов. Для современных установок многоходовых конденсаторов m = 40 … 60.
Полный расход охлаждающей воды конденсаторов
Gов=mDк. (3.2)
Для крупных КЭС абсолютный расход охлаждающей воды настолько значителен, что он становится одним из главных факторов, определяющих выбор места расположения электростанции и ее системы технического водоснабжения.
Прямоточная система водоснабжения наиболее проста и в 2 – 4 раза дешевле оборотной. Преимущество ее – более низкая температура охлаждающей воды, а следовательно более глубокий вакуум по сравнению с оборотными системами. Эта система наиболее предпочтительна для конденсационных электростанций. Применимость прямоточного водоснабжения определяется также требованиями Госрыбнадзора: в результате сброса нагретой воды температура в естественном водоеме не должна повышаться более чем на 5°С летом и 3°С зимой.
При прямоточной системе вода, забираемая из реки, после конденсаторов и других охладительных устройств сбрасывается в реку ниже по течению на расстояние не менее 40м от водозаборного устройства, исключающее возможность подмешивания подогретой воды к забираемой воде. Для прямоточной системы среднегодовой дебит реки должен в несколько раз превосходить потребность электростанции в охлаждающей воде.
На рис 2.3 представлена принципиальная схема прямоточного водоснабжения.
Выбор места расположения насосной станции зависит от сезонных колебаний уровня воды в реке, Если разность геодезических отметок осей циркуляционных насосов и минимального уровня воды в реке не превосходит допустимой высоты всасывания (3 – 4,5 м), то циркуляционные насосы могут размещаться вблизи конденсаторов турбин. Если разность геодезических отметок и колебания уровня воды в реке значительны, то циркуляционные насосы устанавливаются в специальном здании на берегу реки. В этом случае циркуляционная вода от береговой насосной станции подается к конденсаторам турбин не менее чем по двум напорным магистралям для обеспечения бесперебойного водоснабжения.
Береговые насосные сооружения должны быть гарантированы от затопления водой в период паводков.
Для забора воды из реки устанавливаются специальные водоприемники, в которых входные окна расположены ниже минимально возможного уровня воды в реке. Водоприемные сооружения делятся на секции, обеспечивающие возможность отключения любой из них для ремонта или очистки.

Рис. 3.3. Принципиальная схема прямоточного водоснабжения:
1 – береговая насосная; 2 – сетки; 3 – циркуляционные насосы; 4 – перепускной сливной канал; 5 – напорные магистрали; 6 – переключательный колодец; 7 – сливные колодцы (сифонные); 8 – конденсаторы; 9 – основной сливной канал
Водозаборные устройства оборудуются грубыми решетками, предотвращающими попадание в водоприемник крупных плавающих предметов, а также решеткоочистительными машинами и очистными вращающимися сетками, помещения которых совмещаются с циркуляционными насосными станциями.
При схемах водоснабжения с насосами 1-го и 2-го подъемов и наличии длинных промежуточных открытых каналов допускается установка вращающихся сеток только у насосов станции 2-го подъема. В случае забора воды из водоемов, имеющих рыбохозяйственное значение, предусматриваются рыбозащитные устройства.
Центральные насосные станции, водоприемники и водоочистные устройства, а также насосные станции добавочной и осветленной воды должны оборудоваться системой автоматики, блокировки и дистанционного контроля. Управление ими, как правило, осуществляется с главного щита без участия постоянного обслуживающего персонала.
Из конденсаторов турбин вода сбрасывается в сливные колодцы и далее по открытому каналу в реку. В зимние периоды предусматривается сброс части нагретой воды из реки для борьбы с шугой, обмерзанием водозаборных устройств и переохлаждением конденсата. В случае забора воды из водоемов, имеющих рыбохозяйственное значение, предусматриваются рыбозащитные устройства.
Центральные насосные станции, водоприемники и водоочистные устройства, а также насосные станции добавочной и осветленной воды должны оборудоваться системой автоматики, блокировки и дистанционного контроля. Управление ими, как правило, осуществляется с главного щита без участия постоянного обслуживающего персонала.
Из конденсаторов турбин вода сбрасывается в сливные колодцы и далее по открытому каналу в реку. В зимние периоды предусматривается сброс части нагретой воды из реки для борьбы с шугой, обмерзанием водозаборных устройств и переохлаждением конденсата.
–. 
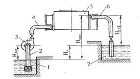
насос; 5 – Рис.3.4. Схема прямоточного водоснабжения с сифонным устройством:
1 – приемный колодец; 2 – всасывающая труба; 3 – циркуляционный
конденсатор; 6 – сифонная труба; 7 – сливной колодец.
В случае забора воды из водоемов, имеющих рыбохозяйственное значение, предусматриваются рыбозащитные устройства.
Центральные насосные станции, водоприемники и водоочистные устройства, а также насосные станции добавочной и осветленной воды должны оборудоваться системой автоматики, блокировки и дистанционного контроля. Управление ими, как правило, осуществляется с главного щита без участия постоянного обслуживающего персонала.
Циркуляционный насос всасывает воду из приемного колодца, преодолевая вакуумметрическую высоту всасывания Нвак. Конец сливного трубопровода опускают под уровень воды в сливном колодце, что позволяет использовать сифонное действие сливного трубопровода. При этом насос должен преодолевать не полную геометрическую высоту подъема воды Нпол, а лишь разность Нпол – Нсиф = Нг. Теоретически высота сифона может быть равна 10м, т. е. соответствовать атмосферному давлению. Практически она составляет примерно 7,5 – 8м, так как при больших высотах сифона верхняя часть сливной трубы оказывается под значительным разряжением, что снижает надежность работы циркуляционной системы.
Эффективность работы сифонного устройства повышается, если из верхней части сифонной трубы отсасывать выделяющийся из воды воздух. Это тем более необходимо, что в связи с разрежением вверху сифона дополнительно может иметь место подсос окружающего воздуха. Для хорошей работы сифона опускная скорость воды должна быть больше скорости подъема пузырьков воздуха, поэтому величину ее принимают до 3,5 м/с и во всяком случае не менее 1,0 м/При выборе насоса следует считаться не только с необходимым полным напором для преодоления геометрической высоты подъема и всех сопротивлений по трассе (на трение и местных), но и отдельно проверять соответствие принятой вакуумметрической высоты всасывания.
Большое значение имеет глубина водозабора. Чем она больше, тем ниже температура охлаждающей воды. Желательна глубина водозабора до 4м. Как правило, напорные водоводы от всех береговых насосных станций объединены в пределах машинного зала; для мощных турбин большое распространение имеет блочная схема охлаждения, когда не только каждый конденсатор, но и каждая его половина имеют самостоятельную систему с отдельным циркуляционным насосом в береговой насосной станции. В этом случае резервные насосы не устанавливают.
При прямоточном водоснабжении общая высота подъема воды (давление в напорном патрубке насоса) колеблется обычно в пределах 8 – 12м.