Раздел 4. ОБОРОТНАЯ СИСТЕМА ВОДОСНАБЖЕНИЯ
Вопросы для самопроверки
1. Приведите определение и состав системы технического водоснабжения.
2. Перечислите основные водопроводы промышленного предприятия.
3.Какие факторы необходимо учитывать при выборе системы водоснабжения?
4. Какие системы технического водоснабжения применяют на промпредприятиях?
5.На какие цели расходуется вода на тепловых электростанциях 6.Изобразите принципиальную схему водоснабжения предприятия и ТЭЦ от общей центральной насосной станции.
7. Дайте определение кратности охлаждения конденсатора.
8. Перечислите основные факторы, определяющие нагрев охлаждающей воды в конденсаторе.
9. Чем руководствуются при выборе места расположения насосной станции при пря моточной системе водоснабжения?
10. Объясните принципиальную схему прямоточного водоснабжения.
11. Изобразите схему прямоточного водоснабжения с сифонным устройством.
12. Опишите принцип действия сифонного устройства.
13. Что такое блочная система охлаждения при прямоточной системе водоснабжения, область ее применения?
|
|
|
Оборотные системы водоснабжения применяют, когда в районе строительства промышленного предприятия дебит естественного источника водоснабжения недостаточен. В отдельных случаях к оборотному водоснабжению приходится прибегать при большом загрязнении водоемов и сильном образовании шуги при трудностях борьбы с ней, также для удовлетворения требований Госрыбнадзора. Это прежде всего относится к мощным конденсационным электростанциям с большим расходом охлаждающей воды, а также к ТЭЦ, которые территориально больше тяготеют к тепловым потребителям, чем к источнику водоснабжения.
В оборотной системе вода, нагретая в конденсаторах турбин и в других теплообменниках, используется повторно после ее охлаждения в охладительных устройствах. Охлаждение воды может осуществляться в естественных и искусственных водохранилищах, в градирнях и брызгальных бассейнах.
В России примерно 1/3 всей установленной мощности тепловых электростанций работает на хранилищах-охладителях. Что касается промышленных тепловых электростанций, то около 60% установленной мощности их работает на оборотном водоснабжении, причем в качестве охладителей наибольшее распространение получили градирни.
Особенностями работы оборотной системы водоснабжения по сравнению с прямоточной являются:
1) более высокая температура охлаждающей воды, вследствие чего вакуум в конденсаторах турбин на 2 – 3% ниже, чем при прямоточном водоснабжении, во все времена года;
2) зависимость работы большинства охладительных устройств от метеорологических условий (температура и относительная влажность воздуха, скорость и направление ветра);
|
|
|
3) необходимость восполнения потерь воды в охладительных устройствах.
Потери воды в оборотной системе вызываются испарением нагретой воды, механическим уносом (особенно в брызгальных бассейнах и открытых градирнях), фильтрацией воды в грунт и через плотину (при искусственных водохранилищах-охладителях), продувкой охладительных устройств (для поддержания карбонатной жесткости циркуляционной воды в допустимых пределах).
Количество воды, испаряющейся в брызгальных бассейнах и градирнях, примерно равно расходу пара в конденсаторе, так как при установившемся тепловом равновесии теплота конденсации пара в конденсаторе должна быть равна теплоте испарения воды в охладителе.
Охлаждение циркуляционной воды в градирнях и брызгальных бассейнах происходит в основном за счет ее испарения. При относительной влажности воздуха менее 100% теоретически можно охладить воду в охладителе до температуры мокрого термометра. При относительной влажности воздуха равной 100%, т. е. при достижении насыщения воздуха водяными парами (tм = tсух), охладить воду даже теоретически можно лишь до температуры окружающего воздуха.
В действительности температура охлаждающей воды всегда выше теоретического предела охлаждения на некоторую величину µ, °С, называемую пределом охлаждения и зависящую от типа и условий работы охладительного устройства.
4.1. Водохранилища – охладители
Искусственные водохранилища-охладители создаются путем устройства плотины на реке, дебит которой недостаточен для использования ее в качестве источника прямоточного водоснабжения. Глубина водохранилищ-охладителей при летних уровнях воды принимается не менее 3,5м на 80% площади зоны циркуляции водохранилища.
Охлаждение воды в водохранилищах происходит как за счет испарения части циркуляционной воды, так и за счет конвективного теплообмена нагретой воды с воздухом и перемешивания нагретой воды с поступающей в водохранилище холодной водой из природных источников. Соотношения между количествами теплоты, отданными водой в водохранилище испарением и конвенцией, существенно изменяются от времени года. Зимой преобладающим является конвективный теплообмен, летом – испарительное охлаждение.
Восполнение потерь воды в водохранилищах-охладителях может осуществляться либо за счет непрерывного притока воды впадающих в водохранилище ручьев и рек, либо путем накопления запаса воды в них в период весенних паводков.
Схема снабжения конденсаторов водой при водохранилищном охлаждении в основном аналогична прямоточной (рис. 2.5). Насосы могут устанавливаться как на берегу водохранилища, так и непосредственно в турбинном цехе станции.
В связи с тем, что в водохранилищах-охладителях циркулирует одна и та же вода (если пренебречь притоком свежей воды), помимо механической очистки воды перед насосами часто необходимо осуществлять специальную ее обработку, особенно в весенне-летние периоды для предотвращения обрастания конденсаторных трубок микроорганизмами.
Необходимым условием работы водохранилищ-охладителей, как и других охладительных устройств при оборотной системе водоснабжения, является равновесие между количеством теплоты, воспринятой водой в конденсаторе и отданной водой окружающей среде в охладителе
В результате слива нагретой воды в водохранилище-охладитель температура воды в нем повышается по сравнению с температурой воды в естественном (первоначальном) состоянии. Превышение температуры охлажденной воды в водохранилище над температурой ее в первоначальном состоянии называют величиной недоохлаждения.
|
|
|
Чем меньше величина недоохлаждения, тем ниже температура воды, поступающей в конденсатор, тем глубже вакуум в конденсаторе. Величина недоохлаждения является своего рода характеристикой водохранилища как охладительного устройства и зависит от его емкости, площади зеркала испарения, очертания берегов и других факторов.
В теплообмене участвует только часть поверхности водохранилища, так называемая активная поверхность, в которой струи воды движутся параллельно от места сброса к месту забора воды.
Для увеличения активной поверхности естественных и искусственных водохранилищ-охладителей устраиваются специальные струенаправляющие насыпные дамбы или шпунтовые ряды, показанные на рисунке 4.1..

Рис 4.1.Схема прдового водоснабжения с сифонным устройством:
1 – направляющая дамба; 2 – водоприемники; 3 – перепускной канал; 4 – приемные самотечные каналы; 5 – переключательный колодец; 6 – сливные (сифонные) колодцы; 7 – циркуляционные насосы; 8 – приемные колодцы; 9 – конденсаторы; 10 – сливной канал.
Расчет водохранилищ-охладителей заключается в определении необходимой полной площади поверхности или удельной площади поверхности водохранилища-охладителя, расхода воды в сутки или в час при заданных условиях работы станции (при заданной температуре воды на входе в конденсатор).
Аналитический расчет водохранилищ-охладителей из-за множества факторов, которые оказывают влияние на их работу и учесть которые не всегда возможно, представляет собой весьма сложную задачу.
Для промышленных и отопительных ТЭЦ, располагаемых, как правило, вблизи жилых и промышленных массивов, наиболее рациональным (а в ряде случаев единственным) решением технического водоснабжения оказываются оборотные системы с градирнями. При этом на электростанции устанавливаются не менее двух градирен.
Градирня представляет собой тепломассообменное устройство, в котором охлаждение воды осуществляется за счет испарения при непосредственном контакте с воздухом.
|
|
|
Преимуществом градирен по сравнению с водохранилищами- охладителями является достижение сравнительно высокого эффекта охлаждения циркулирующей воды при значительно меньших площадях. Однако градирни, как правило, в любой период года уступают водохранищам-охладителям по глубине охлаждения циркуляционной воды.
В зависимости от условий работы и конструктивного исполнения градирни подразделяются на открытые, башенные и вентиляторные.
По характеру стекания воды в оросительной системе градирни в свою очередь делятся на капельные, пленочные и капельно-
пленочные.
Башенные градирниполучили наибольшее распространение. Они могут выполнятся из монолитного или сборного железобетона круглой формы с гиперболической поверхностью вытяжной трубы. Внутренняя поверхность железобетонной вытяжной трубы покрывается гидроизоляцией (мастикой особого состава) для защиты бетона от выщелачивающего воздействия стекающего конденсата.
Градирни с металлическим каркасом вытяжной трубы по форме представляют собой усеченную четырехгранную или многогранную пирамиду. Обшивка каркаса может выполняться из дерева, а также из асбоцементных или алюминиевых листов. Деревянные элементы градирен пропитываются противогнилостным составом. Высота современных башенных градирен достигает 75м и более.
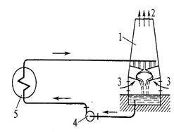
На рис. 4.2 изображена принципиальная схема оборотного водоснабжения станции с башенными градирнями капельного типа. Нагретая в конденсаторах турбин вода под напором циркуляционных насосов подается в распределительные желоба оросительного устройства градирни на высоту примерно 7 – 10м от земли. Из отверстий в днище распределительных желобов вода ударяет крупными струями по разбрызгивающим розеткам и далее, многократно дробясь о горизонтально расположенные рейки, стекает в виде дождя в сборный бассейн. Навстречу потоку воды движется воздух, который, отняв теплоту от воды, вместе с паром по вытяжной трубе отводится в атмосферу.
Из сборного бассейна вода по самотечным каналам поступает в водозаборный колодец, откуда циркуляционными насосами снова подается в конденсаторы турбин.
В пленочных градирнях вода после разбрызгивающих розеток стекает не по рейкам, а по вертикально расположенным щитам тонкой пленкой (рис. 4.3.). Опытом эксплуатации установлено, что пленочные градирни при равном с капельной градирней эффект охлаждения циркуляционной воды могут иметь примерно в 2 раза большую площадь орошения (удельную гидравлическую нагрузку). Плотностьюорошения q [м³/(м² · ч)] называют отношение часового расхода охлаждающей воды к площади поперечного сечения оросителя.
Величина q для капельных башенных градирен обычно составляет 2,5 – 3,5, для пленочных – 5 -7. Кроме того, у пленочных градирен меньше капельный унос воды, а в зимний период онименьше подвержены замерзанию.

Рис. 4.2. Схема циркуляции воды при охлаждении ее в градирне. 1 – градирня; 2 – выход нагретого влажного воздуха; 3.-вход холодного воздуха; 4 – циркуляционный насос; 5 – конденсатор.

Рис. 4.3. Принципиальная схема оборотного водоснабжения с капельными башенными градирнями:
1 – напорный трубопровод; 2 – распределительные желоба; 3 – разбрызгивающие розетки; 4 – оросительная система из реек; 5 – сборный бассейн; 6 – вытяжная труба; 7 – самотечный перепускной канал; 8 – водозаборный колодец; 9 – продувочная воронка; 10 – воронка для введения хлорной извести; 11 – поплавковый указатель уровня; 12 – всасывающий (обратный) клапан.
Охлаждение воды в градирнях происходит в основном за счет частичного испарения. При этом убыль воды из циркуляционной системы за счет испарения примерно равна расходу пара в конденсатор. Около 0,5 – 1,0% воды теряется с механическим уносом.
Количество добавочной воды равно суммарным потерям воды в градирне
Gдоб=Gисп+Gун+Gпр
где Gисп – потеря за счет испарения воды; Gун – потеря с механическим уносом; Gпр – потеря воды с продувкой.

Рис. 4.3. Оросительные устройства открытой капельной градирни башенных градирен:
а – капельных; б – пленочных.
В зависимости от условий работы градирни количество добавочной воды составляет 5 - 6% общего расхода циркуляционной воды. Добавочная вода, имеющая более низкую температуру, чем циркуляционная, перед поступлением ее в водосборный колодец обычно подается в воздухо- и маслоохладители.
Расчет башенных градирен имеет целью определение плотности орошения по заданной температуре охлаждающей воды в градирне, либо, наоборот, по известной плотности орошения – нахождение температуры охлажденной воды. Ввиду множества факторов, оказывающих влияние на работу градирни, аналитическое решение как прямой, так и обратной задачи весьма затруднительно.
На электростанциях с небольшой конденсационной мощностью иногда применяют более простые и дешевые градирни открытого типа без вытяжных башен. Доступ воздуха в оросительную систему открыт у них со всех сторон. Открытые градирни по сравнению с башенными имеют, как правило, меньший охлаждающий эффект, который зависит от метеорологических условий и в первую очередь от скорости ветра, они имеют значительный капельный унос воды и в зоне их расположения, особенно в зимний период, образуется туман. Последнее обстоятельство не позволяет размещать их вблизи проезжих дорог, открытых подстанций и в местах плотной застройки из-за ухудшения видимости и угрозы обледенения окружающих сооружений и дорог.
Вентиляторные градирни представляют собой сооружения для охлаждения в оборотных системах водоснабжения с принудительной подачей воздуха в оросительное пространство вентиляторами.
Вентиляторные градирни допускают более высокие тепловые нагрузки, обеспечивая более глубокое и устойчивое охлаждение воды, чем в башенных градирнях, брызгальных бассейнах и т. п., а также требуют меньшей площади для размещения. При одинаковой производительности сооружение вентиляторных градирен на 50 – 80 % дешевле, чем башенных, и на 20 - 50 % - чем брызгальных бассейнов. Вместе с тем при эксплуатации расходуется электроэнергия на привод вентиляторов и требуется постоянное наблюдение и уход.
Вентиляторные градирни выполняют секционными с индивидуальными вентиляторами на каждую секцию или же одновентиляторными. Вентиляторные установки в большинстве типов градирен располагаются вверху, просасывая воздух через ороситель со скоростью 4 – 5 м/с.
На электростанциях с небольшой конденсационной мощностью иногда применяют более простые и дешевые градирни открытого типа без вытяжных башен. Доступ воздуха в оросительную систему открыт у них со всех сторон. Открытые градирни по сравнению с башенными имеют, как правило, меньший охлаждающий эффект, который зависит от метеорологических условий и в первую очередь от скорости ветра, они имеют значительный капельный унос воды и в зоне их расположения, особенно в зимний период, образуется туман. Последнее обстоятельство не позволяет размещать их вблизи проезжих дорог, открытых подстанций и в местах плотной застройки из-за ухудшения видимости и угрозы обледенения окружающих сооружений и дорог.
Вентиляторные градирни представляют собой сооружения для охлаждения в оборотных системах водоснабжения с принудительной подачей воздуха в оросительное пространство вентиляторами.
Вентиляторные градирни допускают более высокие тепловые нагрузки, обеспечивая более глубокое и устойчивое охлаждение воды, чем в башенных градирнях, брызгальных бассейнах и т. п., а также требуют меньшей площади для размещения. При одинаковой производительности сооружение вентиляторных градирен на 50 – 80 % дешевле, чем башенных, и на 20 - 50 % - чем брызгальных бассейнов. Вместе с тем при эксплуатации расходуется электроэнергия на привод вентиляторов и требуется постоянное наблюдение и уход.
Вентиляторные градирни выполняют секционными с индивидуальными вентиляторами на каждую секцию или же одновентиляторными. Вентиляторные установки в большинстве типов градирен располагаются вверху, просасывая воздух через ороситель со скоростью 4 – 5 м/с.






