Принципиальная схема АЭРЩ
Особенности электроснабжения грузовых и пассажирских судов
Мощность аварийной судовой электростанции должна быть достаточной для одно-
временного электроснабжения всех своих приемников электроэнергии.
Источником электроэнергии аварийной СЭС может быть ДГ или АБ. Аккумуляторные батареи должны включаться в аварийную сеть при отключении
напряжения в основной сети.
На пассажирских судах аварийная СЭС должна сохранять работоспособность в те-
чение 36 ч, на грузовых судах неограниченного и ограниченного районов плавания 1, вало
вой вместимостью 300 рег. т и более - 18ч.
На грузовых судах аварийная СЭС обеспечивает электроэнергией сети аварийного освещения, сигнально-отличительные фонари, сети авральной сигнализации, внутренней связи и сигнализации, необходимые при аварии, радио- и навигационное оборудование, системы обнаружения пожара, звуковые сигнальные средства, пожарный насос и рулевое устройство (на время 10 или 20 мин).
|
|
|
Пуск АДГ может быть ручным или автоматическим, во 2-м случае АДГ должен пуститься и принять номинальную нагрузку за время, не превышающее 45 с.
Если не предусмотрен автоматический пуск или нагрузка может быть принята за время более 45 с, должен быть предусмотрен кратковременный аварийный источник энер-
гии.
Таким источником является АБ, которая без дополнительного заряда в течение 30 мин обеспечивает питанием сети аварийного освещения, сигнально-отличительные фона-
ри, сети авральной сигнализации и внутренней связи, необходимые при аварии, системы обнаружения пожара в помещениях судна, звуковые сигнальные средства и лампы днев-
ной сигнализации.
При аварийном состоянии основной СЭС аварийная электростанция становится автономным и единственным источником электроэнергии на судне.
В нормальном режиме работы судна АДГ не работает, но часть коммутационных устройств щита аварийной СЭС используют для подачи питания от ГРЩ, при разряде подключаются на заряд АБ, контролируют сопротивление изоляции.
В этом режиме приемники аварийной СЭС получают питание от ГРЩ, а в аварий-
ном режиме они переключаются на электроснабжение от АДГ.
На рис. 5.1 представлена упрощенная схема одного из вариантов АРЩ аварийной СЭС.

Рис. 5.1. Принципиальная схема АРЩ
В неаварийном режиме на его шины от ГРЩ по двум кабелям подается напряже-
ние 380 В и по одному - 220 В.
С помощью кнопки SB5 или SB6 включается один из контакторов КМ1 или КМ2.
На шины 220 В можно подать питание от шин 380 В через трансформатор TV, авто
матический выключатель QF2 и контактор КМЗ. Размыкающие вспомогательные контак-
|
|
|
ты КМЗ и КМ4 исключают одновременное включение напряжения 220 В от ГРЩ и от шин 380 В через TV.
В аварийном режиме пускается АДГ и его генератор G подключается на шины 380 В через автоматический выключатель QF1.
Конструктивно представленная схема щита смонтирована в 4-панельном щите. На его панелях установлены кнопки управления контакторами, контрольно-измерительные приборы с переключателями, кнопки проверки пуска АДГ, устройство контроля сопротив-
ления изоляции, кнопки включения АВ генератора.
Нагрузка аварийной СЭС контролируется общим амперметром, наиболее мощные приемники электроэнергии имеют отдельный амперметр с переключателем.
Зарядные статические устройства стартерных батарей АДГ и аппаратура СВАРН установлены в щите или отдельно в помещении аварийной СЭС.
Требования Правил Регистра СССР к стабилизации напряжения АДГ менее жесткие (допускается погрешность ±3,5 % номинального напряжения), поэтому СВАРН аварийной СЭС выполнена по простейшей схеме (обычно без корректора напряжения).
Источниками питания аварийных СЭС переменного тока являются 3-фазные СГ.
Для повышения надежности аварийных генераторов их СВАРН упрощают, для чего:
1. исключают корректоры напряжения;
2. исключают ручные регуляторы напряжения (реостаты возбуждения);
3. применяют электрическое (а не электромагнитное) суммирование сигналов,
пропорциональных напряжению и току нагрузки, что позволяет исключить из СВАРН гро
моздкий ТК.
4. на многих судах в качестве АГ используют бесщеточные СГ, не имеющие ще-
точного аппарата.
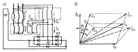
В качестве примера рассмотрим СВАРН АГ фирмы «Эльмо» (Германия) (рис. 5.2).

Рис. 5.2. Схема СВАРН АДГ фирмы «Эльмо»:
а – принципиальная электрическая схема; б – векторная диаграмма токов СВАРН
Система возбуждения АДГ фирмы "Эльмо" (ГДР) с генератором типа SSED имеет свои конструктивные и схемные особенности.
Все элементы СВАРН установлены непосредственно в цилиндрическом корпусе генератора со стороны, противоположной приводу (за щеточным аппаратом). Такое реше-
ние привело к увеличению длины корпуса генератора и объединению СВАРН с ним в единый блок.
В комплект СВАРН (рис. 5.2, а) входят трансформатор тока ТА, дроссель L, выпря
митель UZ и защитный выпрямитель VD.
Первичные обмотки трансформатора ТА включены не на выходе СГ, а с противопо
ложной стороны.
Компаундирующий дроссель L состоит из общего 3-стержневого магнитопровода, между стержнями которого и верхним ярмом имеется регулируемый воздушный зазор.
Сигналы по току и напряжению суммируются в электрической цепи (без общего трансформатора)/
Процесс амплитудно-фазового компаундирования поясняется векторной диаграмм
мой (рис. 5.2, б).
Достигается стабильность напряжения с погрешностью ±2,5 % номинального напря
жения во всем диапазоне нагрузок при cosφ = 0,5…0,9.
Ограничитель напряжения VD представляет собой выпрямитель из восьми селено-
вых элементов. На участке проводимости характеристика VD более крутая, чем у германи
евых диодов выпрямителя UZ, поэтому при перенапряжениях на стороне постоянного то-
ка (при КЗ и в переходных режимах) сопротивление выпрямителя VD значительно умень-
шается, ток замыкается через него, чем и достигается защита выпрямителя UZ. Диоды вы-
прямителя UZ выбраны с 3-кратным запасом по току, поэтому СВАРН имеет достаточную надежность.
Элементы СВАРН хорошо охлаждаются, находясь в потоке воздуха, втягиваемого крылаткой генератора в его корпус.
В цепи ОВГ не установлен ручной регулятор напряжения, поэтому значение напря-
жения СГ настраивается на фирме-изготовителе путем регулирования воздушного зазора в дросселе. Для настройки СВАРН в судовых условиях генератор нагружают активным током 80-100 %