Для автоматизированного контроля сопротивления изоляции электрических сетей применяют разные методы, однако наибольшее распространение получил метод наложе
ния постоянного тока на контролируемую сеть переменного тока. Этот метод использован в блоке контроля изоляции типа БКИ-2, входящем в СУ СЭЭС "Ижора-М".
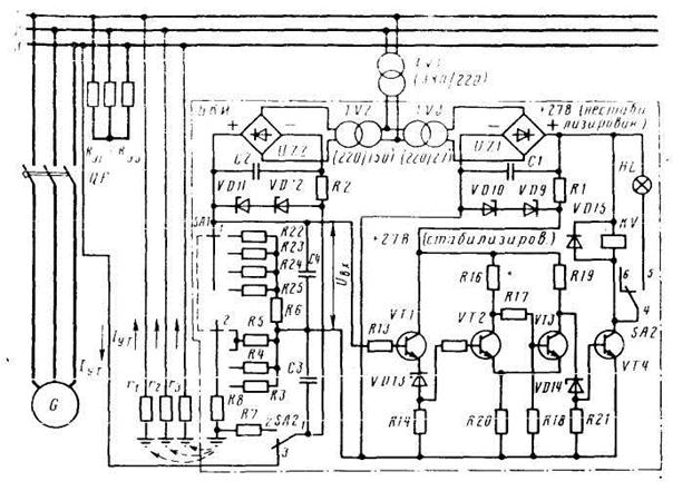
Этот блок предназначен для непрерывного автоматического контроля сопротивления изоляции двух электрически не связанных сетей напряжением до 400 В как под напряжением, так и при обесточивании. Такими сетями обычно являются силовая напряжением 380 В и освещения напряжением 220 В, поэтому блок БКИ-2 имеет 2 одинаковых по устройству канала.

Рис. 6.12. Принципиальная схема канала контроля силовой сети напряжением 380 В блока контроля изоляции БКИ-2
Канал контроля силовой сети 380 В (рис. 6.12) питается от указанной сети, напряже
ние которой понижается до 220 В при помощи трансформатора напряжения ТV1, а затем до 150 и 27 В соответственно трансформаторами ТV2 и ТVЗ.
Напряжение 150 В предназначено для создания тока утечки I
через измеряемое сопротивление изоляции, поэтому выпрямляется при помощи выпрямителя UZ2.
Для стабилизации напряжения и тем самым исключения ложных срабатываний блока в схеме использован параметрический стабилизатор напряжения на стабилитронах VD11-VD12 и резисторе R2. Конденсатор С2 выполняет функцию фильтра.
Стабилизированное напряжение 150 В подается на измерительную цепь, которая включает в себя резисторы R22-R25 уставок сопротивления изоляции, резисторы RЗ-R8, переключатель уставок SА1 и фильтрующие конденсаторы СЗ, С4.
Напряжение 27 В предназначено для питания исполнительной части блока, постро
енной на транзисторах VТ1-VТ4 и реле напряжения КV. При этом на участке схемы с тран
зисторами VТ1-VТЗ используется стабилизированное, а на участке с VТ4 нестабилизиро
ванное напряжение.
Транзисторы VТ2 и VТЗ образуют пороговый элемент - триггер Шмитта.
Переключатель SА1 имеет 4 положения, соответствующие четырем значениям (уставкам) сопротивления изоляции контролируемой сети: 200, 100, 50 и 25 кОм.
Кнопка SА2 служит для проверки исправности блока.
Электрическая сеть с включенными в нее источниками и приемниками электроэнер
гии имеет определенные значения эквивалентного сопротивления изоляции относительно корпуса (r
, r
, r
) и эквивалентного активного сопротивления (R
R
R
).
На практике 2-е из названных сопротивлений значительно меньше 1-го, поэтому можно принять R
= R
= R
= 0, что равнозначно соединению между собой прово-
дов 1,2,3.
Тогда резисторы r
, r
, r
окажутся соединенными параллельно, и при r
=
= r
= r
= r эквивалентное сопротивление изоляции электрической сети r
= r /3.
Иначе говоря, при заданном равенстве сопротивлений проводов 1, 2, 3 относитель
но корпуса, т.е. при r
= r
= r
эквивалентное сопротивление сети будет в 3 раза мень-
ше.