Пуск
Работа схемы
Подготовка схемы к работе
Для подготовки схемы к работе подают питание на линейные провода Л1, Л2 и Л3.
После этого никакие электрические цепи не образуются. Схема готова к работе.
Для пуска нажимают кнопку SB1 «Пуск». При этом возникает цепь тока через ка-
тушку линейного контактора КМ:
линейный провод Л2 – верхний предохранитель FU – размыкающий контакт тепло-
вого реле КК2 – катушка КМ – размыкающие контакты кнопки SB2 – замыкающие контак
ты кнопки SB1 “Пуск” – размыкающий контакт теплового реле КК1 – нижний предохра-
нитель FU – линейный провол Л3.
Контактор включается, при этом:
1. замыкаются главные контакты КМ1...КМ3 в силовой части схемы, вследствие чего двигатель включается в сеть;
2. замыкается вспомогательный контакт КМ4, после чего кнопку “Пуск” можно отпустить.
После отпускания кнопки ток катушки контактора КМ будет протекать через вспо-
могательный контакт КМ4.
Таким образом, этот контакт предназначен для удержания контактора КМ во вклю-
|
|
|
ченном состоянии после отпускания кнопки “Пуск”.
Если по каким-либо причинам этот контакт не пропускает ток, то при нажатии кнопки “Пуск” двигатель включится, а после отпускания – отключится.
Для остановки электродвигателя нажимают кнопку SB2 “Стоп”. Контакты этой
кнопки размыкаются, поэтому цепь тока через катушку КМ пропадает.
Контактор КМ отключается, при этом:
1. размыкаются главные контакты КМ1...КМ3 – двигатель отключается от сети;
2. размыкается вспомогательный контакт КМ4.
Если отпустить кнопку SB2 “Стоп”, ее контакт замкнется. Однако после этого кон-
тактор КМ не включится, т.к. разомкнуты контакт КМ4 и контакт кнопки SB1 Пуск».
Для повторного пусканадо нажатькнопку SB1 «Пуск».
Защиты
Схема предусматривает 2 вида защит:
1. от токов перегрузки при помощи тепловых реле КК1, КК2;
2. по снижению напряжения при помощи контактора КМ.
Под перегрузкой понимают увеличение тока обмотки статора двигателя выше номи
нального. Основная причина перегрузки двигателя состоит в перегрузке механизма.
Например, перегрузка грузовой лебёдки возникает при подъёме груза большего, чем предусмотрено грузоподъёмностью лебёдки.
Защита от токов перегрузки работает так.
При перегрузке тепловое реле КК1 (или КК2) размыкает свой контакт в цепи
катушки линейного контактора КМ.
Контактор КМ отключается, при этом:
1. размыкаются главные контакты КМ1...КМ3 – двигатель отключается от сети;
2. размыкается вспомогательный контакт КМ4.
Снижение напряжения приводит к уменьшению вращающего момента и скорости двигателя, вследствие чого увеличивается ток обмотки статора. При глубоких провалах напряжения (до 60% и менее) возможны более тяжелые последствия: остановка и стоян-
|
|
|
ка под током электроприводов насосов, вентиляторов и компрессоров, или, что ещё опас-
нее, реверс электродвигателей грузовых лебёдок или брашпилей.
Потому при снижении напряжения до недопустимих значений схемы управления
отключают двигатель от питающей сети.
Защита по снижению напряжения работает так.
При снижении напряжения до 60% и менее якорь контактора КМ отпадает под дей-
ствием пружины или собственного веса, поэтому его главные и вспомогательный контак-
ты размыкаются. Двигатель отключается от сети.
При восстановлении напряжения до 80% и более самопроизвольное включение кон
тактора КМ невозможно, потому что разомкнуты вспомогательный контакт КМ4 и контак
ты кнопки SB1“Пуск”.
Для повторного пуска надо нажать кнопку SB1 («Пуск»).
Таким образом, рассмотренная защита по снижению напряжения исключает автома
тическое повторное включение двигателя после восстановления напряжения. Такая защи-
та называется нулевой.
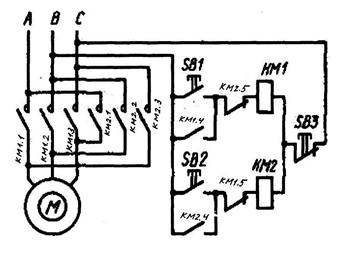
Реверсивный магнитный пускатель
Схема пускателя (рис.130) предусматривает выполнение таких действий:
1. пуск и остановку электродвигателя;
2. реверс;
2. защиту электродвигателя.
Поэтому он имеет два реверсивных контактора: КМ1 «Вперёд», КМ2 «Назад» и три
кнопки: SB1 «Вперёд», SB2 «Назад» и SB3 «Стоп».

Рис. 130. Принципиальная электрическая схема реверсивного магнитного пускате-






