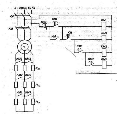
Схема автоматического пуска асинхронного электродвигателя в функции вре
Схема автоматического пуска асинхронного электродвигателя в функции времени
через пусковые резисторы приведена на рис. 122.

Рис. 122. Схема автоматического пуска асинхронного электродвигателя в функции времени через пусковые резисторы
На рис. 122 приняты такие обозначения:
1. QF – автоматический выулючатель;
2. КМ – линейный контактор;
3. КМ1, КМ» и КМ3 – контакторы ускорения;
4. SB1 – кнопка «Пуск»;
5. SB2 – кнопка «Стоп»;
6. R
, R
и R
- пусковые резисторы в цепи ротора.
Особенность схемы состоит в том, что для обеспечения выдержки времени к кон-
такторам пристроены маятниковые реле времени.






