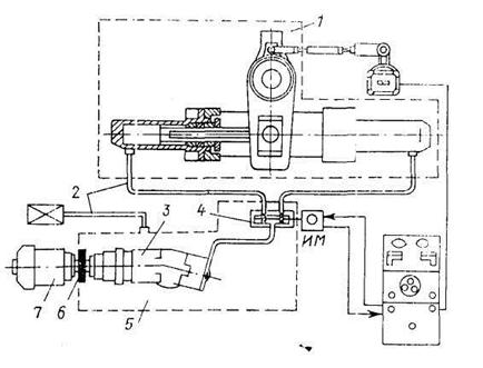
Рулевая машина с насосом постоянной подачи изображена на рис. 10.7.

Рис. 10.7. Рулевая машина с насосом постоянной подачи:
1 – привод баллера руля;
2 – масляный трубопровод с арматурой;
3 – гидромотор постоянной подачи;
4 – распределительный золотник;
5 – насосный агрегат;
6 – соединительная муфта;
7 – электродвигатель насоса.
Рулевая машина состоит из следующих основных узлов: привода баллер руля 1, на-
сосного агрегата 5, электродвигателя насоса 7, масляного трубопровода с арматурой 2.
Насосный агрегат крепится непосредственно к раме рулевой машины и состоит из насоса (гидромотора) постоянной подачи 3, соединительной муфты: и распределительно
го золотника 4.
Когда распределительный золотник выводится из среднего (нейтрального) поло-
жения в рабочее, соответствующее заданному направлению передачи, нагнетательный тру
бопровод насоса окажется соединенным с одним из цилиндров привода, а силовой трубо-
провод – со вторым цилиндром.
Насос создает поток масла в системе главного трубопровода к цилиндру силового привода, который производит перекладку руля в требуемом направлении.
В перерыве между перекладками руля насос перепускает масло через рагрузочную щель распределительного золотника.






