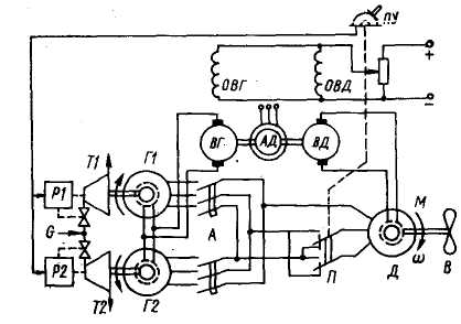
Принципиальная схема одновальной ТЭГУ на переменном токе
Принципиальная схема возможного варианта одновальной турбоэлектрической установки на переменном токе, показанная в качестве примера на рис. 14.5, имеет две турбины Т1 и Т2 с регуляторами Р1 и Р2, дистанционно связанными с постом управления ПУ, с которого осуществляет ся плавное изменение частоты вращения гребного синхрон
ного двигателя Д и винта В.
Возбудительный агрегат ВГ- АД -ВД с зависимым параллельным включением обмоток возбудителей генераторов ОВГ и двигателя ОВД обеспечивает регулируемое воз
буждение этих машин. Автоматы А и переключатель П предназначены со ответственно для включения генераторов Г1 и Г2 и переключения следования фаз(реверса) гребного двигателя Д.

Рис. 14.5. Принципиальная одновальная ТГЭУ на переменном токе
Реверс установки осуществляется в следующем порядке. Прежде всего снижают частоту вращения гребного вала путем воздействия на регуляторы турбин, затем плавно уменьшают напряжение всех синхронных машин. Когда ток в главной цепи спадает до ну-
ля, производят коммутацию реверсивного переключателя П.
Далее повышают напряжение генераторов и двигателей и увеличивают подачу ра
бочего тела G в турбины. При снижении напряжения параллельно работающих генерато
ров может произойти выпадение их из синхронизма, поэтому должно быть предусмотрено обеспечение синхронности вращения генераторов при снятом возбуждении.






