Лекция №7
План лекции:
1. Воздействия на стены.
2. Конструкции стен.
2.1 Каменные стены.
2.2 Стены из крупных блоков.
2.3 Стены из панелей.
3. Технико-экономические показатели стен.
1. Воздействия на стены.
1.1. Воздействия на наружные стены.
Р1, Р¢1 – собственный вес стены
Р2, Р¢2 – вертикальная нагрузка от перекрытия
Р3, М – вертикальная нагрузка и изгибающий момент от балки и плиты
W – давление ветра
R – солнечная радиация
А – атмосферные осадки
DТ, DW – разность температур и влажности воздуха
L1, L2 – внешний и внутренний шум
S1, S2, – сейсмические воздействия
Q – тепловой поток
E – потери пара.
Рис. 1. Воздействия на стены.
2.Конструкции стен.
Классификация стен. В зависимости от восприятия нагрузок стены зданий могут быть несущими, самонесущими и ненесущими.
Несущие стены воспринимают нагрузки от других частей здания (перекрытий, крыш) и вместе с собственным весом передают их на фундаменты.
Самонесущие стены опираются на фундаменты, но нагрузку несут только от собственной силы тяжести.
|
|
|
Ненесущие (в том числе навесные) стены являются ограждениями, опирающимися в каждом этаже на др. элементы (перекрытия, внутренние стены) и воспринимающимися собственный вес в пределах одного этажа.
· По положению в здании стены подразделяют на внутренние и наружные (по периметру здания).
· По роду основного материала несущие и самонесущие стены могут быть деревянными, каменными, бетонными, комбинированными. Для стен используют следующие основные материалы и изделия:
1. древесину (бревна, брусья, доски, панели);
2. обожженную глину (кирпич, камни);
3. силикатную массу (кирпич);
4. природный камень;
5. стабилизированный грунт (блоки);
6. легкие бетоны (камни, блоки, панели, монолит);
7. ячеистые бетоны (камни, блоки, монолит);
8. тяжелые бетоны (панели, монолит).
• В зависимости от типа и размера применяемых изделий стены бывают:
1. из мелкоразмерных стеновых изделий - кирпичей, камней, мелких блоков, рис. 1;
2. крупноэлементными - из стеновых элементов высотой от 1/4 до полной высоты этажа и более; крупноэлементные стены подразделяют на крупноблочные и крупнопанельные рис. 2.
• По способу возведения различают стены из кладки (сборки) мелкоштучных изделий, сборные, монолитные, сборно-монолитные.
• По конструктивным признакам стены бывают однослойными (как правило, внутренние) и слоистыми, сплошными и пустотелыми.
• По наличию и расположению теплоизоляции наружные стены подразделяют на:
1. стены без специального устройства теплоизоляции - из конструкционно-теплоизоляционных материалов (древесины, деревобетона, ячеистых бетонов, полистиролбетона);
|
|
|
2. стены с теплоизоляционными слоями, располагаемыми внутри стены, с наружной стороны конструкционного слоя, с наружной и внутренней сторон совместно.
• По наличию специального воздушного зазора (прослойки) стены подразделяют на:
1. вентилируемые - с воздушными прослойками, располагаемыми либо внутри конструкционного слоя (между конструкционными слоями), либо между утеплителем и защитной облицовкой;
2. невентилируемые - без воздушной прослойки.
2.1. Каменные стены.
Требования к каменным стенам:
Прочность – обеспечивается прочностью камня, раствора и укладкой камней с взаимной перевязкой вертикальных швов.
Дополнительное повышение несущей способности – за счет армирования горизонтальными сварными сетками – через 2-5 рядов.
Устойчивость – обеспечивается пространственным взаимодействием с внутренними несущими конструкциями – стенами и перекрытиями. Заводят плиты на 100 мм и закрепляют анкерами.
Долговечность – обеспечивается морозостойкостью материалов, применяемых для внешней кладки.
|
|
|
|
|
|
|
|
|
|
|

Теплозащитная способность – назначается в соответствии с гигиеническим требованиями и учетом необходимости экономии топливных ресурсов.
По конструктивным признакам стены бывают однослойными (как правило, внутренние) и слоистыми, сплошными и пустотелыми рис. 2.

Рис.2. Кирпичная слоистая стена:1 – кирпичная кладка; 2 – пенополистирольный утеплитель; 3 – противопожарная рассечка из негорючего утеплителя; 4 – гибкая связь из стали или стеклопластика; 5 – железобетонная связевая рамка; 6 – железобетонная перемычка; 7 – железобетонная плита перекрытия; 8 – оконный блок.
Стена с облицовочным самонесущим слоем из кирпича представлена на рис. 3, кирпичная вентилируемая стена с навесной фасадной облицовкой представлена на рис. 4. Кирпичная стена с наружной оштукатуренной теплоизоляцией представлено на рис. 5.

Рис. 3. Стена с облицовочным самонесущим слоем из кирпича: 1 - несущий слой кладки; 2 - плитный утеплитель; 3 - облицовочный слой кладки; 4 - гибкая связь; 5 - плита перекрытия.

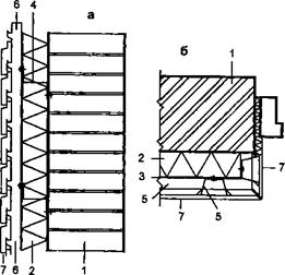
Рис. 4.Кирпичная вентилируемая стена с навесной фасадной облицовкой: а - вертикальное сечение; б - горизонтальное сечение у оконного проема; 1 - кладка; 2 - утеплитель; 3 - гидроветрозащита; 4 -ригель подоблицовочной конструкции; 5 - вертикальный элемент подоблицовочной конструкции; 6 - воздушная прослойка; 7 - облицовочный камень.

Рис. 5. Кирпичная стена с наружной оштукатуренной теплоизоляцией:
а - фрагмент стены в зоне перекрытия; б - примыкание к цоколю;
1 - кирпичная кладка; 2 -утеплитель; 3 - паропроницаемая штукатурка;
4 - дюбель; 5 -плита перекрытия; 6 - балконная плита; 7 - фундамент;
8 - гидроизоляция; 9 - керамическая плитка.
2.2. Стены из крупных блоков.
Крупноблочными называются здания, стены которых возводятся из крупных камней (блоков) массой от 0,1 до 2 т. Другие основные конструкции - перекрытия - выполняют также из крупных элементов - плит.
Малоэтажные крупноблочные здания проектируют на основе двух конструктивно-статических схем: с продольными или поперечными несущими стенами. Соответственно схемам крупноблочные стены выполняются несущими (внутренние и наружные) и самонесущими (наружные) рис. 2:
- с продольными стенами до 5 этажей;
- с поперечными (поперечно-продольными) – высотные;
![]() |
Наружные стены членятся по высоте на 2, 3 и 4 ряда.







