Принципиальное отличие АЭС от ТЭС состоит лишь в топливе, которое используется для получения тепла. Конструктивные же особенности АЭС весьма существенны.
Протекание цепной ядерной реакции с выделением большого количества тепла известно из курса физики. Этот процесс используется на АЭС, где выделяющееся в результате цепной реакции тепло направляется на получение необходимых параметров теплоносителя. Основной вид топлива на АЭС - изотопы урана. Уран-235, содержание которого в природном уране составляет 0,7%, неустойчив, легко делится от бомбардировки нейтронами сравнительно малой энергии (тепловые нейтроны со скоростью до 2 км/с). Уран-238 составляет 99,3% природного урана, но начинает распадаться только под воздействием нейтронов большой энергии (быстрые нейтроны со скоростью 30 км/с). В процессе деления урана-238 воспроизводится плутоний-239, который может служить как топливом для АЭС, так и исходным сырьём для термоядерного оружия. Легко сделать выводы о достоинствах и недостатках каждого из изотопов урана для использования на АЭС.
Первая в нашей стране Обнинская АЭС имела реакторы на тепловых нейтронах и была введена в эксплуатацию в 1951 г. Почти через 20 лет, в 1973 г. начала работать Шевченковская АЭС - первая с реакторами на быстрых нейтронах. Мощность Обнинской станции составляла 5 МВт, Шевченковской - 350 МВт. Всего к 1990 г. в СССР работала 16 АЭС с общей установленной мощностью 34,4 млн кВт, которые вырабатывали около 12,5% всей электроэнергии в стране.
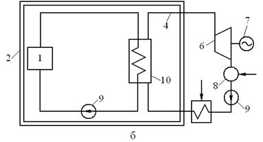
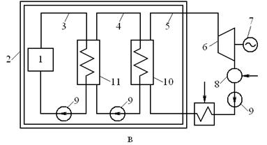
Тепловые схемы АЭС. Основными элементами тепловой схемы АЭС являются: (рис.1.9): ядерный реактор 1 с первичной биологической защитой; вторичная биологическая защита 2; контуры теплоносителя - первый 3, второй 4, третий 5; турбина 6; генератор 7; конденсатор 8 или газоохладитель; насосы 9 или компрессоры; парогенератор 10; теплообменник 11.



Рис.1.9. Схемы работы АЭС:
а- одноконтурная; б- двухконтурная; в- трехконтурная
В системе АЭС различают теплоноситель, отводящий тепло от реактора, и рабочее тело, предназначенное для преобразования тепловой энергии в механическую. Если контуры теплоносителя и рабочего тела совпадают, АЭС называется одноконтурной. В этом случае среда, отводящая теплоту из реактора, должна совершать работу в турбине. Достоинством одноконтурных АЭС является простота тепловой схемы и относительно высокая тепловая экономичность. Однако, проходя через реактор, теплоноситель активируется и значительная часть активности поступает в паротурбинный тракт, что затрудняет эксплуатацию его агрегатов и усложняет радиационную обстановку на АЭС.
В двухконтурной схеме теплоноситель и рабочее тело разделены. Контур теплоносителя называется первым и является радиоактивным. Во втором контуре, где циркулирует рабочее тело, радиоактивность отсутствует. Это упрощает конструкцию и эксплуатацию второго контура и обеспечивает сопоставимые технико-экономические показатели двух- и одноконтурных АЭС.
В качестве теплоносителя может использоваться жидкий металл, например, натрий. Это улучшает отвод тепла из реактора, но повышает вероятность аварийной ситуации (контакт жидкого натрия с водой проходит при бурном химическом взаимодействии с выделением большого количества тепла). Для предотвращения этого вводится дополнительный промежуточный контур, схема становится трехконтурной.
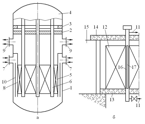
Реактор. Это аппарат, предназначенный для осуществления и поддержания цепной реакции деления тяжёлых ядер при бомбардировке их нейтронами. Примеры конструкции реакторов приведены на рис.1.10. Первым отечественным промышленным реактором был водоводяной реактор корпусного типа ВВЭР. Он состоит из прочного корпуса 1, несущего давление, закрытого крышкой 2 с нажимным кольцом 3 и защитным колпаком 4. Внутри корпуса находится активная зона 5, куда загружается ядерное топливо, размещённое в тепловыделяющих элементах (ТВЭЛ). Эти элементы объединяются в кассеты шестигранной или квадратной формы. Оболочка ТВЭЛа предотвращает контакт теплоносителя с топливом и выход продуктов деления в теплоноситель.
Для регулирования интенсивности реакции в активную зону вводятся поглотители нейтронов, например, вода или графит. Управление поглотителями производится по специальной программе с помощью стержневых приводов 6. Теплоноситель (лёгкая вода) подводится через нижние патрубки 7, опускается вниз между корпусом и цилиндром подвесной корзины 8 и поступает в нижнюю часть активной зоны, где нагревается до заданной температуры. Отвод теплоносителя происходит через верхние патрубки 9. Тепловой экран 10 служит для защиты корпуса от чрезмерного облучения нейтронами и γ - частицами.

Рис.1.10. Конструкция ядерных реакторов:
а- реактор ВВЭР; б- реактор РБМК
1 – корпус; 2 – крышка; 3 - нажимное кольцо; 4 - защитный колпак; 5 - активная зона; 6 – стержневой привод; 7 – нижние патрубки; 8 – подвесная корзина; 9 – верхние патрубки; 10 – тепловой экран; 11 – тракт теплоносителя; 12 – замедлитель; 13 - плита нижняя; 14 - плита верхняя; 15 - бак биологической защиты; 16 - трубы технологических каналов; 17 – ТВЭЛ.
В реакторах большой мощности канального типа с кипящим слоем РБМК теплоносителем является лёгкая вода, а замедлителем - графит 12. Нижняя опорная железобетонная плита 13 поддерживает графит. Верхняя плита 14 опирается на бак 15 биологической защиты, заполненный водой. Обе плиты объединены цилиндрической стальной обечайкой и вместе представляют собой герметичный корпус. В графите находятся трубы 16 технологических каналов, внутри которых размещены ТВЭЛы 17 и принудительно циркулирует теплоноситель.
Реактор РБМК больше по габаритам, чем ВВЭР, т.к.замедляющая способность графита меньше, чем у лёгкой воды. Но РБМК не имеют ограничений но мощности, связанных с наличием корпуса и корпусным давлением в реакторах ВВЭР. Некоторые сравнительные характеристики этих реакторов приведены в табл.1.8.
Кроме рассмотренных водоводяных и водографитовых реакторов на АЭС работают газографитовые реакторы, у которых теплоносителем является газ (гелий, углекислый газ), а замедлителем -графит.
В реакторах на быстрых нейтронах, отсутствует замедлитель. Поскольку быстрые нейтроны слабо поглощаются ядерным топливом, используется высокообогащенное топливо, а концентрация делящегося вещества в единице объёма в 4...5 раз больше, чем в реакторах на тепловых нейтронах. Это требует интенсивного отвода тепла, что осуществляется путем использований в качестве теплоносителя жидких металлов, например, натрия.
Таблица 1.8. Характеристики ядерных реакторов
| Тип реактора | Мощность, МВт | Давление в реакторе, МПа | Температура теплоносителя на выходе, С | Размеры активной зоны, м | |||
| тепловая | электрическая | ||||||
| диаметр | высота | ||||||
| ВВЭР-1000 РБМК-1000 | 3000 3200 | 3,12 11, 8 | 3,5 7,0 |
Парогенератор. На одноконтурных АЭС эта установка отсутствует, т.к. теплоноситель одновременно является рабочим телом. В многоконтурных схемах парогенераторы необходимы. Конструкции их многообразны. Для реакторов ВВЭР, например, наибольшее распространение имеют парогенераторы горизонтального типа с многократной естественной циркуляцией. Их поверхность нагрева выполнена нержавеющими стальными трубками диаметром 14..15 мм. Трубки находятся внутри корпуса, являющегося резервуаром для воды и пара. Теплоноситель движется внутри трубок, а рабочее тело - в объеме корпуса парогенератора. Пар, образующийся внутри корпуса, выводится по патрубкам и направляется в турбину. Парогенератор реактора ВВЭР имеет паропроизводителъностъ 1470 т/ч, давление пара 6,4 МПа, мощность 250 МВт.
Турбина. Выбор турбины АЭС в значительной степени зависит от типа ядерного реактора. Если реактор выдаёт пар высоких начальных рабочих параметров, то турбины АЭС идентичны турбинам ТЭС при условии, что поступающий в них пар нерадиоактивен. На АЭС с реакторами, выдающими воду под высоким давлением с дальнейшей генерацией пара в парогенераторе, в турбину поступает насыщенный или слабо перегретый пар. В этом случае турбина имеет конструктивные особенности, связанные с организацией сепарации и промежуточного перегрева пара. Такие особенности имеют, например, турбины одноконтурных АЭС.
Надежность АЭС. Строительство и эксплуатация АЭС невозможны без всеобъемлющего разрешения вопросов надёжности. Радиоактивное излучение опасно. В определённых дозах оно вызывает серьезные заболевания и смерть людей, приводит к негативному генетическому воздействию. Основной источник радиоактивности на АЭС содержится внутри ТВЭЛов. Отработанное ядерное топливо также весьма радиоактивно. В процессе работы АЭС образуются радиоактивные жидкости, газы, твердые вещества. Все это требует принятия особых мер защиты от возможного облучения и обеспечения высокой надёжности работы АЭС.
Важнейшим элементом обеспечения радиоактивной безопасности является биологическая защита реактора и первого контура. Она выполняется в виде толстого слоя бетона (несколько метров) с внутренними каналами, по которым циркулирует вода или газ.
Существенным фактором надёжности АЭС является автоматизация управления режимами работы основного оборудования дублирование этого оборудования, постоянная готовность и автоматическое включение аварийных систем при возникновении соответствующих ситуаций.
Необходимо соблюдать все предписанные меры безопасности и предосторожности при транспортировке ядерного топлива, загрузке его в реактор и выгрузке из реактора.
Особой проблемой является хранение радиоактивных отходов АЭС. Эту задачу пока нельзя считать полностью разрешенной.
Кроме того необходимо своевременно, полно и объективно информировать население о состоянии АЭС, в том числе и о возникающих аварийных ситуациях.
Перспективы развития атомной энергетики. В настоящее время в промышленно развитых странах до 60% (во Франции, например) всей электроэнергии вырабатывается на АЭС. Это говорит о том, что несмотря, на ряд серьезных проблем, возникающих при строительстве и эксплуатации АЭС, сегодня пока нет альтернативы их использованию.
Достоинства АЭС очевидны. Ядерная энергетика способна сгладить остроту реально надвигающегося мирового энергетического кризиса. По оценкам учёных запасов органического топлива на планете в необходимых человечеству количествах хватит примерно до середины следующего столетия. Ядерное же горючее, например, для реакторов на быстрых нейтронах, практически неисчерпаемо. Кроме того сжигание одного грамма каменного угля дает 3...7 калорий, а деление одного грамма урана-235 в три миллиона раз больше. Это почти пропорционально снижает расходы по транспортировке топлива, позволяет строить АЭС без привязки к его месторождениям, достигать большой единичной мощности блоков -1000 МВт и более. Все это обеспечивает высокую экономичность атомных станций. АЭС, в отличие от ТЭС, не загрязняют окружающую среду выбросами серы, азота, золы и целого ряда других вредных веществ. Атомные ТЭЦ (АТЭЦ) снабжают потребителей и тепловой энергией. Первая в СССР АТЭЦ работает с 1973 г. (Билибинская). Радиационная безопасность на АТЭЦ достигается за счет трехконтурной схемы. Для получения высоких параметров рабочего пара в качестве теплоносителя первого контура на АТЭЦ применяют жидкие металлы. В этом случае защитная зона составляет 30 км от крупных городов, что требует большой длины теплотрасс, влечёт за собой избыточный расход труб, потери тепла и дополнительные затраты. Проблема во многом решается строительством атомных станций теплоснабжения (АСТ), на которых используется отработавшее топливо АЭС. Трехконтурная АСТ может располагаться на расстоянии 2...3 км от города, т.к. использует ядерное горючее пониженной активности. Таким образом, ядерная энергетика может обеспечивать потребности как в электрической, так и в тепловой энергии.
Вместе с тем необходимы жесткие меры по предотвращению возможного радиоактивного заражения в зоне станции. Ограничен и срок эксплуатации АЭС (в настоящее время около 30 лет), после чего необходимо решать вопросы их закрытия. Потребность АЭС в больших количествах охлаждающей воды может приводить к нарушению экологического баланса водоёмов. Требуют решения проблемы захоронения радиоактивных отходов АЭС.
Объективное сопоставление достоинств и недостатков АЭС позволяет выработать оптимальную стратегию развития ядерной энергетики. Оптимальным представляется подход, предусматривающий не закрытие действующих и прекращение строительства новых
АЭС, а действенные усилия по улучшению технико-экономических
характеристик атомных станций и в первую очередь по обеспечению безопасности их работы.