Применяют для периодического соединения валов, например, в приводе главного движения или приводе подач станков.
В станках часто применяются сцепные кулачковые муфты в виде дисков с торцовыми зубьями-кулачками и зубчатые муфты.
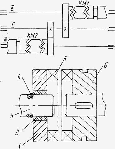
Зубчатые колеса насаженные на вал I находятся в постоянном зацеплении с зубчатыми колесами насаженными на ведомые валы II и III. Подключение валов II и III к ведущему, производится муфтами КМ1 и КМ2
1 - зубчатое колесо
2 - втулка, запрессованная в отверстие
зубчатого колеса
3 - вал
4 - стопорное кольцо
5 - кулачковый венец
6 - кулачковая муфта
В зависимости от точности изготовления кулачков различают точные и неточные кулачковые муфты. У точных муфт передача крутящего момента осуществляется несколькими кулачками, у неточных - одним кулачком.
Недостатком сцепных муфт является то, что при больших разностях скоростей вращения ведущего и ведомого элементов, муфты нельзя включить.






