Тепловыми расходомерами называют расходомеры, действие которых основано на измерении эффекта теплового воздействия на поток (или на тело, контактирующее с потоком), зависящего от расхода. Чаще применяются для измерения расхода газа и реже для измерения расхода жидкости. Тепловые расходомеры отличаются способом нагревания, расположением нагревателя (снаружи технологического трубопровода или внутри), а также характером функциональной связи между расходом и измеряемым сигналом. Основной способ нагревания — электрический омический. По характеру теплового взаимодействия тепловые расходомеры подразделяют на калориметрические, термоконвективные, термоанемометрические.
У калориметрических и термоконвективных расходомеров измеряется разность температур
газа или жидкости (при постоянной мощности
нагревания) или же мощность
(при
). У термоанемометров измеряется сопротивление
нагреваемого тела (при постоянной силе тока
) или же сила тока
(при
). Калориметрические и термоконвективные расходомеры измеряют массовый расход при условии неизменности теплоемкости измеряемого вещества, что является их достоинством. Другое достоинство термоконвективных расходомеров — отсутствие контакта с измеряемым веществом. Недостаток тех и других — инерционность.
8.4.1. Калориметрические расходомеры
Принцип работы калориметрических расходомеров основан на зависимости среднемассовой разности температур потока от мощности нагревания. Калориметрический расходомер (рис. 88, а) состоит из нагревателя 3, расположенного внутри трубопровода 4, и двух термопреобразователей 1 и 2 для измерения температур
до нагревателя и
после нагревателя. Термопреобразователи располагаются обычно на равных расстояниях
от нагревателя. Распределение температур по обе стороны от источника нагревания зависит от расхода вещества.
Так как теплоемкость у жидкостей намного больше, чем у газов, то калориметрические расходомеры находят применение лишь для измерения очень малых расходов жидкостей. Основное назначение этих приборов — измерение расхода газа. Из-за малой надежности работы в эксплуатационных условиях нагревателей и термопреобразователей, располагаемых внутри трубопровода, калориметрические расходомеры применяют как образцовые приборы для поверки и градуировки расходомеров других типов.




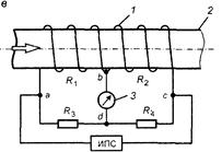
Рис. 88. Расходомеры:
а — калориметрический; 6 — термоконвективный (1,2— термопреобразователи; 3 — нагреватель; 4 — трубопровод);
— термоконвективный с совмещенными нагревателем и термопреобразователями (/ — двухсекционный нагреватель; 2 — трубопровод; 3 — измерительный прибор;
— терморезисторы); г — распределение температур в стенке трубопровода в отсутствие (/) и при наличии расхода (2) среды