а) Оптические методы – фоторегистраторы с зеркальной разверткой.
D=vплКtgφ
б) метод ионизационных датчиков.
В разряд ВВ помещают ионизационные датчики, которые включаются в цепь, только при прохождении фронта детонации.
Д=
Время прохождения фронта фиксируют с помощью осциллографа или частотомеров. Метод гостирован. Допускаются различные схемы включения датчиков и датчики могут иметь разные конструкции, допускаются петли снаружи заряда.
в) Метод Дотриша – сравнительный метод определения скорости детонации как правило маломощных ВВ в металлической трубе с помощью детонирующего шнура с известной скоростью детонации.
Детонационная волна дойдет до начала детонирующего шнура. По шнуру (2) она пойдет с известной скоростью Vш, а по заряду (1) будет продолжать двигаться с неизвестной скоростью Vx. Дойдя до второго конца шнура, волна опять перейдет в шнур и со скоростью Vш пойдет навстречу первой волне. В точке их встречи на линейке останется хорошо видная метка (6). Измеряем расстояние от середины отрезка шнура (5) до метки (6). Оно будет равно ∆h.
|
|
|
(До боли знакомая задачка. Из пункта А вышли два поезда. Один - со скоростью Vш по линии 2, а второй - со скоростью Vx по линии 1. Пройдя путь L, второй поезд свернул на линию 2 с противоположной стороны и стал двигаться со скоростью Vш, до тех пор, пока в точке, лежащей на расстоянии дельта l от середины линии 2 не столкнулся с первым поездом. Спрашивается, с какой скоростью Vx двигался второй поезд по первой линии? Попробуй разобраться сам, а ответ такой:



)
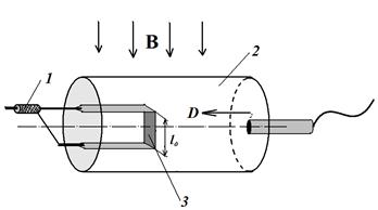
3) Электромагнитный метод регистрации массовой скорости за фронтом детонационной волны.
В эксперименте регистрируется профиль ЭДС во времени, который повторяет профиль массовой скорости продуктов детонации. Возникает ЭДС при движении электропроводного датчика в магнитном поле.
Е(t)=u(t) В lд u(t) = Е(t)/В lд
В – напряженность магнитного поля;
lд – длина рабочей части датчика
Метод позволяет определить не только Uj, но и время химических реакций τх.р. и вычислить ширину зоны химической реакции.
Если установить два датчика, то можно определить Д.