Для получения механической характеристики ещё более упростим модель - вынесем контур намагничивания на зажимы - рис. 4.4,а, как это часто делается в курсе электрических машин.

а) б)
Рис. 4.4. Упрощенная схема замещения (а) и характеристики асинхронной машины (б)
Поскольку
,
где I2а - активная составляющая тока ротора,
y2 - угол между
и
,
качественное представление о механической характеристике М(s) можно получить, проследив зависимость каждого из трех сомножителей от s.
Магнитный поток Ф в первом приближении в соответствии с (4.4) не зависит от s - рис. 4.4,б. Ток ротора (4.8) равен нулю при s = 0 и асимптотически стремится к
при s ® ±¥ - рис. 4.4,б. Последний сомножитель легко определить по схеме замещения:
;
cos y2 близок к ± 1 при малых s и асимптотически стремится к нулю при s ® ±¥. Момент, как произведение трех сомножителей, равен нулю при s = 0 (w = w0 - идеальный холостой ход), достигает положительного Мк+ и отрицательного Мк- максимумов - критических значений при некоторых критических значениях скольжения
, а затем при s ® ±¥ стремится к нулю за счет третьего сомножителя.
|
|
|
Уравнение механической характеристики получим, приравняв потери в роторной цепи, выраженные через механические и через электрические величины. Мощность, потребляемая из сети, если пренебречь потерями в R1, примерно равна электромагнитной мощности:
,
а мощность на валу определяется как
.
Потери в роторной цепи составят
(4.9)
или при выражении их через электрические величины
,
откуда
.
Подставив в последнее выражение I2¢ из (4.8) и найдя экстремум функции М=f(s) и соответствующие ему Мк и sк, будем иметь:
(4.10)
где а=R1/R¢2:
; (4.11)
. (4.12)
На практике иногда полагают, что а = 0, т.е. пренебрегают активным сопротивлением обмоток статора. Это обычно не приводит к существенным погрешностям при Рн > 5 кВт, однако может неоправданно ухудшить модель при малых мощностях. При а = 0 выражения (4.10) - (4.12) имеют вид:
; (4.10,a)
; (4.11,a)
, (4.12,а)
где Хк = Х1+Х2’ - индуктивное сопротивление рассеяния машины.
В уравнении (4.10,а) при s << sк можно пренебречь первым членом в знаменателе и получить механическую характеристику на рабочем участке в виде
. (4.13)
Как следует из рис. 4.4,б и выражений (4.10) и (4.10,а), жесткость механической характеристики асинхронных двигателей переменна, на рабочем участке
, а при ½ s ½>½ sкр ½ - положительна.
Асинхронный электропривод как и электропривод постоянного тока, может работать в двигательном и трех тормозных режимах с таким же, как в электроприводе постоянного тока распределением потоков энергии - рис. 4.5.

Рис. 4.5. Энергетические режимы асинхронного электропривода
|
|
|
Рекуперативное торможение (р.т.) осуществляется при вращении двигателя активным моментом со скоростью w>w0. Этот же режим будет иметь место, если при вращении ротора со скоростью w уменьшить скорость вращения поля w0. Роль активного момента здесь будет выполнять момент инерционных масс вращающегося ротора.
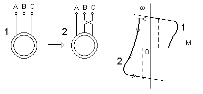
Для осуществления торможения противовключением (т. п-в) необходимо поменять местами две любые фазы статора - рис. 4.6. При этом меняется направление вращения поля, машина тормозится в режиме противовключения, а затем реверсируется.

Рис. 4.6. Реверс асинхронного двигателя
Специфическим является режим динамического торможения, которое представляет собою генераторный режим отключенного от сети переменного тока асинхронного двигателя, к статору которого подведен постоянный ток I п. Этот режим применяется в ряде случаев, когда после отключения двигателя от сети требуется его быстрая остановка без реверса.
Постоянный ток, подводимый к обмотке статора, образует неподвижное в пространстве поле. При вращении ротора в его обмотке наводится переменная ЭДС, под действием которой протекает переменный ток. Этот ток создает также неподвижное поле.
Складываясь, поля статора и ротора образуют результирующее поле, в результате взаимодействия с которым тока ротора возникает тормозной момент. Энергия, поступающая с вала двигателя, рассеивается при этом в сопротивлениях роторной цепи.
В режиме динамического торможения поле статора неподвижно скольжение записывается как

и справедливы соотношения для механической характеристики аналогичные (4.10,а) - (4.12,а):
, (4.14)
, (4.15)
где
при соединении обмоток статора в звезду
и
при соединении обмоток статора в треугольник;
(4.16)
Так как при ненасыщенной машине
, критическое скольжение в режиме динамического торможения sк.т существенно меньше sк.






