Рентгеновское излучение

Рис. 11.2
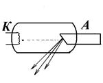
Рентгеновское излучение возникает при торможении веществом быстрых электронов. Для получения рентгеновских лучей служат специальные электровакуумные приборырентгеновские трубки (рис. 11.2), состоящие из вакуумированного стеклянного или металлического корпуса, в котором на определенном расстоянии друг от друга находятся катод и анод, включенные в цепь высокого напряжения.

Катод служит источником электронов, а анод (антикатод) – источником рентгеновских лучей. Между катодом и анодом создается сильное электрическое поле, разгоняющее электроны до энергий (104 – 105) эВ.

Рентгеновские лучи возникают в результате преобразования кинетической энергии быстрых электронов в энергию электромагнитного излучения и представляют собой электромагнитные волны с длиной волны порядка от 1∙10-12 м до 8∙10-8 м.

Рис. 11.3
Экспериментальные исследования показали, что существует два вида рентгеновских лучей. Если энергия электронов не превышает некоторой критической величины, зависящей от материала антикатода, возникают рентгеновские лучи со сплошным спектром, подобным спектру белого света. Такое рентгеновское излучение называют белым. Белое рентгеновское излучение, как показали исследования, вызывается торможением быстрых электронов при их движении в веществе. Поэтому белое излучение называют также тормозным. Этот тип излучения испускается электронами, движущими в веществе. Рентгеновский сплошной спектр отличается важной особенностью – он ограничен со стороны малых длин волн некоторой границей λМИН, называемой границей сплошного спектра.

На рис. 11.3 изображены рентгеновские сплошные спектры для вольфрама при различной разности потенциалов между электродами рентгеновской трубки. Исследования показали, что граничная длина волны зависит от кинетической энергии электронов W k, вызывающих тормозное излучение. При увеличении W kдлина волны λ МИН уменьшается. Существование границы сплошного спектра можно объяснить лишь на основе квантовых представлений. Очевидно, что максимальная энергия hv максрентгеновского кванта, возникающего за счет энергии электрона, не может превышать этой энергии. Отсюда следует равенство W k= hv макс. Переходя от частоты к длин волны, получим

(11.1)

Второй тип рентгеновских лучей называют характеристическим рентгеновским излечением. Свое название оно получило вследствие того, что этот тип лучей характеризует вещество антикатода. Характеристическое рентгеновское излучение возникает при выбивании электронов из внутренних оболочек атома. На рис. 11.4 приведена схема уровней электронов атома с усредненным значением энергии оболочки. Если бомбардирующие электроны выбивают электроны, например, из К - оболочки, то вакантное место заполнят электроны из оболочки с большей энергией (электроны L, M, N оболочек). Совокупность переходов электронов из состояний с большей энергией в состояния К - оболочки приводит к появлению К – серии характеристического рентгеновского излучения. Линии этой серии принято обозначать совокупностью следующих символов: К α, К β, К γ, …

Рис. 11.4
При появлении вакансий электронов в L, M, N оболочках эти вакантные места занимают электроны из оболочек с большей энергией, что в свою очередь ведет к появлению L, M – серий.

Мозли, исследовав зависимость частоты К α – линии от порядкового номера вещества антикатода (Z), определил, что

(11.2)

Эту формулу можно свести к более понятной нам формуле

закон Мозли,

где Rпостоянная Ридберга, σ – постоянная экранирования. Для линий К – серии постоянная экранирования σ = 1.

Для произвольного спектрального перехода характеристического рентгеновского спектра частоту можно выразит следующим образом:

(11.3)

σ – постоянная экранирования для линий каждой серии имеет свое значение (смотри справочные данные).





Подборка статей по вашей теме: