План лекции. Физика и схема РГД-контроля с использованием рентгеновской плёнки. Чувствительность метода, проволочные эталоны. Характеристики плёнок, факторы, влияющие на качество негативов. Источники излучения: рентгеновские аппараты, гамма - дефектоскопы, линейные ускорители и микротроны. Номограммы экспозиций просвечивания, расшифровка результатов контроля.
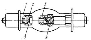
Физика процесса. Выявление внутренних дефектов при просвечивании основано на способности ионизирующего излучения неодинаково проникать через различные материалы и поглощаться в них в зависимости от толщины, рода (плотности) материалов и энергии излучения. Для выявления дефектов в изделиях с одной стороны устанавливают источник излучения, с другой — детектор, регистрирующий информацию о внутреннем строении контролируемого объекта (Рис. 12.1). Излучение от источника 1 проходит через изделие 2, имеющее внутренние дефекты 3, 4 с разной плотностью. В дефектном и бездефектном местах оно будет поглощаться по-разному и выходить на детектор с разной интенсивностью 5. Интенсивность излучения при прохождении через дефект 3, заполненный воздухом или газом, ослабляется меньше, чем в сплошном металле, а сильнее — над дефектом 4, заполненным более плотным материалом (например, вольфрамом), чем основной.
Разность интенсивностей будет зарегистрирована детектором 5. В зависимости от вида применяемого детектора различают три основных метода радиационного контроля: радиографический, радиоскопический и радиометрический.
Под радиографическим понимают метод радиационного контроля, при котором радиационное изображение просвечиваемого объекта регистрируется на радиографическую пленку, ксерорадиографическую пластину или фотобумагу. Радиографические снимки объекта называют радиограммами. Радиографический метод является самым распространенным

Рисунок 12.1 Схема просвечивания изделия рентгеновским или γ – излучением; -
1 — источник; 2 — контролируемый объект; 3 — раковина; 4 — шлаковое включение;
5 – эпюра интенсивности излучения за объектом (детектор).
методом радиационной дефектоскопии из-за его более высокой чувствительности по сравнению с другими методами, простоты и наличия документа контроля.
При радиоскопическом методе радиационное изобра-. жение преобразуют в светотеневое, передаваемое на экран видеоконтрольного устройства. В качестве детекторов используют флуоресцентные монокристаллические экраны или радиацион-но-оптические преобразователи, изображение с которых через оптическую систему передается на телевизионную трубку.
Производительность радиоскопического метода в 3:—10 раз выше радиографического. Однако по сравнению с радиографическим чувствительность радиоскопического метода при использовании отечественных установок примерно в два раза ниже.
Под радиометрическим понимают метод радиационного контроля, основанный на измерении интенсивности ионизирующего излучения, прошедшего через контролируемый объект. В качестве детекторов излучения чаще всего используют сцинтилляционные счетчики и ионизационные камеры. Интенсивность излучения измеряют последовательно в разных точках за объектом, просвечивая его узким коллимированным пучком излучения.
Схема РГД-контроля. Детали, узлы, изделия поступают на просвечивание после визуального контроля очищенными от масел, грязи, шлака и т.п. На контролируемые узлы изделий разрабатываются технологические карты контроля, которые определяют порядок и технику контроля с использованием ионизирующих излучений.
Перед просвечиванием изделия выполняются следующие операции:
1. анализируются конструкции, и определяются участки и схемы просвечивания;
2. выбираются источники излучения, тип рентгенографической пленки, усиливающие экраны;
3. определяются режимы просвечивания (напряжение на рентгеновской трубке и сила тока,
тип радиоактивного источника, тип ускорителя и энергия излучения, фокусное расстояние,
время просвечивания);
4. проводятся мероприятия по защите людей от воздействия ионизирующего излучения, по
обеспечению электро- и пожаробезопасности;
5. заряжаются кассеты;
6. устанавливаются с помощью средств механизации и автоматизации в положение просве-
чивания источники излучения и контролируемые объекты, а также кассеты, маркировочные
знаки, эталоны чувствительности, компенсаторы;
7. защищается кассета от действия рассеянного излучения;
8. подготавливаются к включению рентгеновские аппараты, бетатроны, гамма-дефектоскопы.
Места на деталях и узлах изделий, подлежащие контролю просвечиванием, размечают
цветным карандашом или мелком на отдельные участки, соответствующие размеру снимка, и
маркируют условными обозначениями. Маркировочные знаки (цифры, буквы, стрелки)
изготавливают в соответствии с ГОСТ 15843-70. При повторном контроле на данном участке к
маркировке снимка добавляют букву "П".
При проведении просвечивания кассету с пленкой необходимо защитить от постороннего
рассеянного и вторичного излучения с задней стороны листовым свинцом толщиной 1-3 мм или
другими эквивалентными материалами соответствующей толщины. Заряженные кассеты вместе со свинцовым листом закрепляют на контролируемом объекте с помощью приспособлений,
обеспечивающих плотное прилегание кассет к просвечиваемому участку. При просвечивании
плоских деталей в стационарных условиях кассету укладывают на специальный стол, покрытый
листовым окрашенным свинцом, либо на свинцовый лист размерами не менее поля облучения.
При просвечивании вне такого стола кассеты вместе со свинцовыми листами плотно прижимают к контролируемым участкам. Источник излучения и контролируемый объект с прижатой к нему кассетой во время просвечивания должны находиться в условиях, исключающих их сотрясение и вибрации.
Чувствительность метода, проволочные эталоны.
Для оценки качества снимков используют эталоны чувствительности, рис. 12.2. Это установленные нормативными документами по форме, составу и способу применения тест-образцы, размеры элементов которых заданы. По химсоставу и плотности материала эталоны должны быть идентичны материалу ОК.

Рис.12.2 Эталоны чувствительности радиационного контроля - 1 - ступенчатый;
2 - ступенчато-дырочный; 3 - проволочный; 4 – пластинчатый.
Эталон чувствительности ступенчатого типа имеет пять ступеней квадратной формы размером, например, 10 мм каждая; толщина ступеней 0,25; 0,5; 1,0 и 1,25 мм.
Канавочный эталон чувствительности представляет собой пластину с канавками установленных форм и размеров.
Проволочный эталон — это набор прямых проволочек установленных длин и размеров.
Проволочные эталоны стандартизованы ГОСТ-7512-82, в Великобритании BS3971.1980,
Германии DIN 54109, в скандинавских странах UCO ISO/R-1027, 1969 и Международным
институтом сварки — IIS/IIW - 62-60. Эталоны имеют незначительные изменения в конструкциях.
Ступенчато-дырочные эталоны содержат набор пластин, каждая из которых имеет по одному-два отверстия, просверленных насквозь под прямым углом к их поверхности. Диаметр отверстия равен толщине пластин.
Источник рентгеновского излучения. Основным элементом рентгеновских аппаратов является рентгеновская трубка. Для дефектоскопии материалов наиболее распространены двухэлектродные рентгеновские трубки (рис. 12.3).

Рис.12.3. Двухэлектродная рентгеновская трубка. - 1 — колба; 2 — катод;
3 — экранирующий чехол; 4 — анод; 5 — фокусирующее устройство.
Оболочка трубки представляет собой запаянную стеклянную колбу 1 с разрежением 104…106 Па. Катодом 2 трубки служит вольфрамовая проволока в виде цилиндрической или плоской спирали. Нагретая током накала до температуры 2200—2500°С спираль является источником свободных электронов. Катодное фокусирующее устройство 5, электрически связанное со спиралью, создает вокруг катода электрическое поле такой конфигурации, при которой свободные электроны движутся к аноду 4, окруженному чехлом 3, узким электронным пучком.
При торможении электронного пучка на аноде почти вся кинетическая энергия электронов превращается в энергию рентгеновского излучения. Эта часть Е зависит от анодного напряжения U и порядкового номера материала анода Z: £"== 1,14 х 10~7ZU. Например, при использо-вании вольфрамового анода и напряжении на трубке 100 кВ в энергию рентгеновского излучения превращается немногим более 1% энергии тормозящихся электронов.
Нагрев анода ограничивает допустимую мощность трубки. Для эффективного отвода теплоты материал анода должен обладать хорошей теплопроводностью, кроме того, он должен иметь большой атомный номер, высокую температуру плавления.
Расшифровка результатов контроля. Сложность процесса расшифровки можно оценить на основе неполного перечня факторов, влияющих на этот процесс:
форма, толщина, материал, ориентация, наиболее вероятные типы
дефектов;
источника излучения, регистрирующих средств и методов их обработки;
яркости фона, плотность помех и ложных сигналов;
острота зрения оператора, тренированность, мотивировка действий, утомление, получение
предварительного инструктажа, возраст, интеллект, индивидуальные особенности, рабочая
нагрузка, метод поиска;
освещенность в помещении, шумы и вибрации во время расшифровки.
Оператор обнаруживает изображения дефектов вероятностным образом. Разброс у опытных расшифровщиков радиографических снимков в способности извлекать информацию из снимков составляет около 30 %. Поэтому во всех случаях, когда качество готовой продукции является важным фактором безопасности, минимум два квалифицированных оператора должны оценивать качество ОК по снимкам и выносить заключение.
Ценным пособием являются контрольные радиографические снимки при обучении и
расшифровке. Кроме этого, рекомендуется иметь собственную библиотеку радиографических
снимков.