В авиационных взрывателях для возбуждения детонации ВВ снаряда используются капсюли-детонаторы лучевого и накольного действия.
На рисунке 12.14 приведена конструкция капсюля-детонатора лучевого действия. Его снаряжение состоит из трех взрывчатых веществ. Верхний слой 1 — ТНРС — инициирующее ВВ, высоко чувствительное к лучу огня, но обладающее сравнительно низкой инициирующей способностью.
|
Рисунок 12.14
Поэтому за ним следует слой 2 из азида свинца, имеющего высокую инициирующую способность, но малую чувствительность к тепловому импульсу. Азид свинца является в капсюле основным инициатором. Нижние слои 3 состоят из тетрила, который усиливает мощность капсюля. Они запрессовываются последовательно с увеличивающимся давлением, в результате чего достигается повышение восприимчивости тетрила к детонации. Отверстие в чашечке 4 прикрыто шелковой сеткой 5.
Конструкция капсюля-детонатора накольного действия показана на рисунке 12.15. Капсюль также снаряжен тремя различными ВВ: накольным составом 7, азидом свинца 2 и тетрилом 3. Нахальный состав отличается от применяемых в капсюлях-воспламенителях и представляет смесь тетразена (инициирующее ВВ, обладающее высокой чувствительностью к наколу), ТНРС, нитрата бария и антимония. Средняя часть дна чашечки сделана более тонкой для уменьшения усилия проникания жала к накольному составу.
|
|
|

-
Рисунок 12.15
Взрыватели снарядов.
В снарядах патронов применяются взрыватели контактного (ударного) и дистанционного (временного) действия.
Взрыватели контактного действия срабатывают при встрече (контакте) с преградой (броней, обшивкой самолета, оболочкой воздушного шара).
Взрыватели дистанционного типа срабатывают через некоторое время после вылета снаряда из ствола. В качестве временного механизма (замедлителя) используется, как правило, пиротехническая запрессовка, заполняющая каналы определенной длины. Так как время горения пиротехнической запрессовки известно, то длина этих каналов и определяет время срабатывания взрывателя.
В свою очередь взрыватели контактного действия могут быть реакционными, инерционными и реакционно-инерционными.
Реакционные взрыватели срабатывают при встрече с преградой под действием силы реакции преграды, действующей на головную часть взрывателя.
Инерционные взрыватели срабатывают при встрече с преградой под действием силы инерции, приложенной к массивной детали, расположенной внутри корпуса взрывателя.
Взрыватели, у которых KB и КД расположены в линии огневой цепи, могут быть непредохранительными или полупредохранительными.
Среди полупредохранительных взрывателей встречаются такие, у которых капсюль-воспламенитель до взведения взрывателя выведен из канала огневой цепи. Это повышает степень безопасности взрывателя.
|
|
|
Роль предохранительных устройств выполняют также тонкие мембраны головных взрывателей, кружки из тонкой листовой жести, которые выполняют функции предохранения и после взведения взрывателей.
Процесс снятия предохранителей называется взведением взрывателей, а механизм, с помощью которого этот процесс осуществляется, — механизмом дальнего взведения (МДВ).
Взведение взрывателей начинается при движении снаряда по каналу ствола и заканчивается на некотором удалении от самолета, которое называется дальностью взведения. Дальность взведения взрывателей устанавливается такой, чтобы после их взведения при случайном срабатывании самолет был в безопасности.
Для приведения в действие МДВ используются силы, действующие на снаряд при его поступательном и вращательном движении — как в стволе, так и после вылета из ствола. Рассмотрим действие МДВ.
|
|
На рисунке 12.16 показано устройство предохранения головного взрывателя, фиксирующее положение ударника с помощью спирали,
Рисунок 12.16.. МДВ ударника реакционного типа:
1 — ударник, 2 — втулка кольцевая, 3 — спираль предохранительная, 4— предохранитель жесткий, 5— KB
выполненной из полоски красной меди. Эта полоска накручивается на цилиндрическую часть ударника в направлении, противоположном направлению вращения снаряда при выстреле.
| Рис. 1.14. Предохранитель жесткий |
|
В исходном положении головка ударника опирается на эту спираль, которая и выполняет функции предохранителя. Спираль фиксируется в закрученном положении кольцевой втулкой, которая своим торцом опирается на лапки жесткого предохранителя (рисунок 12.17), выполненного из тонкой жести. В таком положении эти детали остаются до выстрела и тем самым выполняют функции предохранительных устройств.
Рисунок 12.17
При выстреле вследствие ускоренного движения снаряда (направление движения снаряда показано стрелкой на левой части рисунка 120) на втулку 2 действует инерционная сила, направленная противоположно движению снаряда. Под действием этой силы втулка сминает лапки предохранителя и перемещается в пустотелую кольцевую полость, освобождая спираль.
Одновременно при движении в стволе снаряд получает угловое ускорение относительно его продольной оси. При этом его угловая скорость возрастает от нуля до некоторого максимального значения. После вылета из ствола снаряд вращается с примерно постоянной угловой скоростью.
При угловом ускорении снаряда (в стволе) на каждый элемент медной спирали (см. рисунок 12.16) действует касательная сила К, которая закручивает эту спираль, и центробежная сила С, но её величина меньше силы К. После вылета из ствола на элемент спирали действует только центробежная сила С. Под действием этой силы спираль начинает раскручиваться и на некотором удалении от самолета освобождает ударник. Ударник свободен и может переместиться к KB при встрече с преградой.
На рисунке 12.18 представлен МДВ инерционно-реакционного ударного механизма, который имеет такие же элементы, как и предыдущий МДВ. При встрече снаряда с преградой (после взведения взрывателя) ударники 1 и 2 движутся навстречу друг другу до соударения KB с жалом.
|
Рисунок 12.18.. МДВ ударника инерционно-реакционного типа:
1 — ударник реакционный с жалом, 2 — инерционный ударник с KB,
3 — спираль, 4 — втулка кольцевая, 5 — предохранитель жесткий,
6 — корпус
Предохранительное устройство типа «движок-заслонка» (рисунок 12.19) состоит из корпуса с направляющими пазами, движка и фиксатора. В корпусе предохранителя имеется центральное отверстие а, совпадающее с каналом огневой цепи.
|
|
|
|
| Рисунок 12.19. Предохранительное устройство типа движок-заслонка: / — движок, 2 — скобка (фиксатор), 3 — корпус |
В исходном положении движок перекрывает отверстие а и удерживается фиксатором. Центр масс движка смещен от продольной оси взрывателя в сторону лапок фиксатора. При вращении снаряда на движок действует центробежная сила, под действием которой лапки фиксатора отгибаются и освобождают движок. Движок смещается, открывая центральное отверстие. После снятия указанных предохранителей взрыватель взведен и в таком состоянии продолжается полет снаряда. Но в полете на го ловную часть снаряда действует сила аэродинамического сопротивления, а на все детали взрывателя — инерционная сила набегания. Головная часть реакционного ударника защищена от аэродинамической силы мембраной. От воздействия силы набегания на инерционный ударник взрыватель защищен дополнительной тонкостенной перегородкой, которая устанавливается между KB и жалом ударника. Эта перегородка прокалывается жалом только при встрече снаряда с преградой, когда инерционная сила по своей величине в десятки раз превосходит силу набегания.
Взрыватели мгновенного действия срабатывают непосредственно в момент встречи снаряда с преградой с незначительным (примерно 0,0001 с) запаздыванием. Взрыватели мгновенного действия являются исключительно головными и реакционными. Инерционные ударные механизмы имеют большое запаздывание (0,005—0,01 с). Такими характеристиками обладают донные взрыватели. Взрыватели замедленного действия срабатывают через 0,01—0,02 с после удара о преграду. С этой целью в конструкцию взрывателя включается газодинамический замедлитель. Конструктивно он выполнен в виде расширительной камеры и узких калиброванных отверстий, через которые луч пламени проходит от KB к КД. Время замедления определяется временем, которое идет на расширение газов и временем их истечения через отверстия.
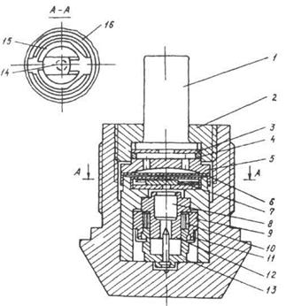
В дистанционных взрывателях требуемое время подрыва после выстрела достигает больших значений (1,1...1,5 с). В этом случае используются пиротехнические замедлители, которые запрессовываются в каналы. Длина этих каналов и определяет время горения, т.е. время замедления. Головной взрыватель реакционно-инерционного действия ЛГ-30. Таким взрывателем снаряжаются снаряды типа ОФЗ и ОФЗТ. Взрыватель этого типа имеет ряд конструктивных особенностей (рисунок 12.20).
|
|
|
|
Рисунок 12.20. Взрыватель АГ-30:
1 — головка обтекателя, 2 — корпус, 3 — обтекатель баллистический,
4 — шарики, 5 — ударник реакционный, 6 — капсюль-воспламенитель,
7— спираль предохранительная, 8— втулка кольцевая,
9 — предохранитель жесткий, 10 — ударник инерционный,
11 — устройство предохранительное, 12 — капсюль-детонатор,
13 — движок, 14 — фиксатор, 15 — корпус предохранителя
Ударный механизм, состоит из двух ударников: реакционного с жалом 5 и инерционного 10 с капсюлем-воспламенителем 6. Ударники разделены предохранительным устройством, в состав которого входят медная спираль 7, накрученная на цилиндрическую часть инерционного ударника, кольцевая втулка 8, жесткий предохранитель 9.В разрыв огневой цепи между капсюль-воспламенителем 6,и капсюль-детонатором 2 установлен дополнительный предохрани тель 11, движок которого перекрывает канал между KB и КД. В этом положении движок удерживается лапками фиксатора.
Медная предохранительная спираль выполняет основные функции механизма дальнего взведения, так как время взведения взрывателя определяется временем раскрутки спирали.
Капсюль-воспламенитель и капсюль-детонатор являются основными элементами огневой цепи, а осевой канал между ними — газодинамический замедлитель.
Отличительной особенностью взрывателя является всюдубой-ность его действия. Всюдубойность означает надежное срабатыва ние взрывателя при существенно больших (по сравнению с другими взрывателями) углах подхода к поверхности. Всюдубойный ударный механизм выполнен в корпусе взрывателя в виде наклонных каналов, в которых свободно размещены шарики. Шарики удерживаются в каналах баллистическим обтекателем.
. Положение механизмов и деталей, указанных выше, обеспечивает безопасность взрывателя в служебном обращении до выстрела.
При выстреле снимаются предохранители и вступает в действие механизм дальнего взведения. Под действием инерционной силы кольцевая втулка, преодолевая сопротивление лапок жесткого предохранителя, опускается в пустотелую полость и освобождает спираль.
При вращении снаряда движок предохранителя отжимает лапки фиксатора и смещается в сторону, открывая канал огневой цепи. Это происходит после вылета снаряда из ствола.
Одновременно начинает раскручиваться медная спираль, освобождая ударник. В результате этого взрыватель взводится. Шарики всюдубойного механизма смещаются от продольной оси и поджимаются к баллистическому наконечнику. В таком взведенном состоянии взрывателя продолжается полет снаряда вплоть до встречи с преградой. В полете под действием силы набегания инерционный ударник может сместиться вперед до соприкосновения KB с жалом. Величина силы набегания невелика. Её недостаточно для накалывания KB и приведения его в действие.
При встрече снаряда с преградой под действием реакционной силы происходит деформация баллистического обтекателя. Обтекатель с большой силой ударяет по шарикам, которые перемещаются в своих каналах с большой скоростью и передают эту силу реакционному ударнику. Одновременно при резком торможении снаряда на инерционный ударник действует противоположно направленная инерционная сила.
В результате действия этих сил ударники сближаются, и жало прокалывает корпус капсюля-воспламенителя. Горячие газы от KB проходят через газоотводные каналы замедлителя к КД и подрывают его. Снаряд взрывается.
Такой взрыватель, в огневой цепи которого установлен дополнительный предохранитель с подвижным движком, который в исходном положении перекрывает огневую цепь, относится к взрывателям полупредохранительного типа. При закрытом канале огневой цепи даже случайное срабатывание KB не приведет к подрыву снаряда. Это особенно необходимо при движении снаряда по каналу ствола и незначительном удалении его от самолета.
Взрыватель АГ-30 инициирует снаряжение снаряда с замедлением, позволяя снаряду углубиться за преграду на расстояние 150— 200 мм.
Донный взрыватель инерционного типа ДА-30. Таким взрывателем комплектуется снаряд бронебойно-разрывного действия. Устройство взрывателя представлено на рисунке 12.21.

Рисунок 12.21. Устройство взрывателя ДА-30:
1— капсюль-детонатор, 2 — втулка резьбовая, 3 — прокладка,
4 — шайба, 5 — корпус замедлителя, 6 — перегородка, 7 — устройство
предохранительное, 8— капсюль-воспламенитель, 9 — втулка кольцевая
оседающая, 10 — спираль предохранительная, // — предохранитель
жесткий, 12 — втулка верхняя, 13 — ударник инерционный с жалом,
14 — движок, 15 — фиксатор, 16 — корпус предохранителя
Взрыватель состоит из ударного механизма, предохранительного механизма и воспламе-нительно-детонаторной части. Ударный механизм состоит из инер ционного ударника с жалом 13, втулки верхней 12 с капсюлем-воспламенителем 8. Жало в ударнике и KB во втулке верхней закреплены закаткой.
Предохранительный механизм взрывателя состоит из жесткого предохранителя 11, оседающего кольца 9 и медной предохранительной спирали 10.
Медная предохранительная спираль довыполняет функции механизма дальнего взведения и время взведения взрывателя определяется временем полной раскрутки спирали.
Дополнительно между капсюлем-воспламенителем 8и капсюлем-детонатором 1 установлено предохранительное устройство 7, движок которого перекрывает канал между KB и КД. В этом положении движок удерживается лапками фиксатора.
Воспламенительно-детонаторная часть состоит из капсюля-воспламенителя 8, капсюля-детонатора 1, шайбы 4, резьбовой втулки 2 и замедлителя 5.
KB и КД составляют огневую цепь, в которой газодинамические каналы замедлителя обеспечивают необходимое время замедления в действии снаряда при попадании в цель.
Положение механизмов и деталей обеспечивает безопасность взрывателя в служебном обращении до выстрела.
Взрыватель, в огневой цепи которого установлен дополнительный предохранитель с подвижным движком, в исходном положении перекрывающий огневую цепь, относится к взрывателям полупредохранительного типа. При закрытом канале огневой цепи даже случайное срабатывание KB не приведет к подрыву снаряда. Это особенно необходимо при движении снаряда по каналу ствола и незначительном удалении его от самолета.
При выстреле под действием осевой инерционной силы оседающее кольцо 9 отгибает лапки жесткого предохранителя 11 и опускается в пустотелую полость, освобождая предохранительную спираль 10, которая начинает разворачиваться под действием центробежной силы.
Снаряд покидает канал ствола оружия, имея высокую угловую скорость. При вращении снаряда движок предохранителя 7отжи-мает лапки фиксатора и смещается в сторону, открывая канал огневой цепи. Одновременно раскручивается медная спираль 10, освобождая инерционный ударник 13. В результате этого взрыватель взводится на расстоянии от 1,5 до 30 м от дульного среза ствола оружия. В таком взведенном состоянии взрывателя продолжается полет снаряда вплоть до встречи с преградой.
При встрече снаряда с преградой под действием инерционной силы ударник инерционный с жалом 13перемещается вперед и жало накалывает капсюль-воспламенитель 8.
Горячие газы от него проходят через центральное отверстие во втулке предохранителя 7, пробив прокладку, через газоотводные каналы замедлителя 5 поступают к капсюлю-детонатору и подрывают его. Далее детонационный импульс передается на снаряжение снаряда.
Время, в течение которого газы от KB проходят через газодинамические каналы замедлителя к КД, обеспечивает необходимое замедление в действии снаряда при попадании в цель. Взрыватель ДА-30 инициирует снаряжение снаряда с замедлением, позволяя снаряду пробить преграду.
Вышибное устройство типаВУ-30(А-952)предназначено для раскрытия корпуса снаряда с готовыми поражающими элементами и придания им необходимой дополнительной скорости. Готовые поражающие элементы выбрасываются по направлению полета.
Вышибное устройство ВУ-30 (рисунок 12.22) состоит из корпуса, объединяющем в своем составе: ударный механизм; предохранительный механизм; механизм замедления; воспламенительную часть.
Ударный механизм состоит из неподвижного жала 1 установленного в боковом канале замедлителя 5, и капсюля-воспламенителя 3.
Рисунок 12.22. Вышибное устройство снаряда:
1 — жало, 2 — пружина предохранительная, 3— KB, 4 — заряд вышибной, 5 — устройство замедлитслыюс
|
К предохранительному механизму можно отнести пружину 2, которая разделяет капсюль-воспламенитель 3и жало 1и исключает накол KB при кратковременных ударах и перемещениях жала, возникающих в процессе эксплуатации.
Механизм замедления представляет собой набор пиротехнических составов, обеспечивающих необходимое время передачи форса огня от капсюля-воспламенителя Зквышибному заряду 4.
Воспламенительная часть включает в себя KB и пороховой вышибной заряд 4, соединенные каналом и механизмом замедления, что составляет огневую цепь взрывателя.
При выстреле под действием сил инерции от линейных ускорений капсюль-воспламенитель 3сжимает пружину 2 и накалывается на жало 1.
Форс огня от KB через паз зажигает состав воспламенителя и далее через усилитель передается на замедлитель и вышибной заряд.
Взрыватель срабатывает в среднем через 1,1... 1,5 с после выстрела на траектории полета.
Усилие от давления пороховых газов корпус ВУ-30 передает
усилие на ГПЭ.
По достижении давления, необходимого для среза резьбы втулки, баллистический обтекатель снаряда отделяется от корпуса снаряда и ГПЭ, выталкиваемые ВУ-30 выбрасываются в набегающий поток воздуха. Давление пороховых газов в каморе корпуса снаряда обеспечивает ГПЭ дополнительную скорость около 50 м/с.
Масса патрона зависит от типа снаряда и составляет порядка 0,830 кг (при средней масса снаряда 0,390 кг). Длина патрона — 281...285 мм.
ОФЗ и ОФЗТ (трассер горит 1,4...4 с) снаряды предназначены для поражения небронированных и легкобронированных НЦ, живой силы и ВЦ. Взрыватели снарядов полупредохранительного типа с механизмами дальнего взведения.






