Артиллерийские боеприпасы
Понятие “выстрел”.
“Выстрел” обозначает не только процесс метания снаряда. В артиллерии понятие “выстрел” относится также к совокупности элементов, необходимых для заряжания орудия:
- снаряд;
- взрыватель;
- пороховой заряд;
- средство воспламенения;
- гильза.
По способу заряжания орудия артиллерийские выстрелы подразделяются на три типа:
1. Выстрелы раздельного картузного заряжания.
Заряжание проводится в три приема:
- снаряд;
- пороховой заряд в “картузе” (мешке);
- средство воспламенения.
Затем ствол запирается затвором. Орудие снабжается специальным устройством (обтюратором), предотвращающим прорыв газов. Такие выстрелы используются в орудиях крупных калибров (тяжелая артиллерия, главный калибр кораблей, орудия береговой обороны).
2. Выстрелы раздельного гильзового заряжания,
Заряжание происходит в два этапа:
- снаряд;
- гильза с пороховым зарядом и воспламенителем.
Гильза служит также и обтюратором. Такое заряжание используется в орудиях средней мощности и позволяет увеличить скорострельность.
3. Выстрелы патронного заряжания.
Здесь гильза объединяет все элементы выстрела. Поэтому вместо термина “выстрел” чаще используется понятие “унитарный” (объединенный) патрон. Заряжание происходит в один прием. Унитарный патрон используется в неавтоматических пушках средней и легкой артиллерии, автоматических пушках малого калибра, стрелковом оружии. В авиационном автоматическом оружии применяются только унитарные патроны.
Классификация патронов. Классификация патронов проводится по типу снарядов, которыми комплектуются патроны. Выделяют снаряды основного и вспомогательного назначения. Снаряды основного назначения предназначены для нанесения объектам определенного ущерба. Снаряды вспомогательного назначения используются для обеспечения боевых действий, обучения летного и инженерно-технического состава и проведения испытаний авиационной техники.
При выстреле на снаряд действуют большие инерционные перегрузки, высокая температура. Эти условия оказывают большое влияние как на эффективность, так и безопасность боевого применения артиллерийского оружия. Эти условия учитываются при конструировании всех элементов боеприпасов.
Устройство патрона. Во всех видах авиационного артиллерийского оружия (ААО) применяются боеприпасы унитарного типа, все элементы которых соединены в единую конструкцию с помощью гильзы.
Несмотря на большое разнообразие боеприпасов, все они имеют следующие основные элементы: снаряд, гильзу, пороховой заряд, воспламенительное устройство (рисунок 113).
Гильза предназначена для размещения элементов патрона и их соединения, а также для предохранения их от воздействия атмосферы и механических повреждений. Во внутренней полости гильзы размещается пороховой заряд. Гильза имеет четыре характерные части: дульце, скат, среднюю часть, дно. Дульце гильзы служит для соединения ее со снарядом. Снаряд вставляется в дульце гильзы с натягом, после чего требуемая прочность соединения достигается обжимом дульца и закаткой его стенок в кольцевые проточки снаряда. Прочность соединения снаряда с гильзой строго регламентирована, так как ее величина влияет на максимальное давление пороховых газов.
Скат гильзы является переходной частью от дульца к средней части. Он ограничивает движение патрона в патроннике при досылании. Средняя часть гильзы может иметь цилиндрическую или коническую форму с небольшим углом наклона образующей. В дон ной части гильзы имеется гнездо под электрокапсульную втулку, а снаружи — фланец, с помощью которого патрон взаимодействует с лапками затвора.
Снаряды соответствуют ряду общих требований. Одним из них является требование устойчивости снаряда на траектории его полета. Снаряд не имеет хвостового оперения, и его устойчивость обеспечивается только лишь за счет вращения относительно продольной оси.

Рисунок 12.1. Устройство патрона:
1 — снаряд; 2 — ведущий поясок; 3 — гильза; 4 — размеднитель; 5 — пороховой заряд; 6 — воспламенительное устройство
Вращательное движение снаряд получает при движении в канале ствола ААО. Поэтому пушки относятся к оружию нарезного типа. Взаимодействие нарезов канала ствола с ведущим пояском снаряда придает ему вращение.
Патроны должны отвечать требованиям безопасности как в служебном обращении, так и при боевом применении.
Взрывчатые вещества, пороховые заряды, пиротехнические составы. В патронах к пушке ГШ-301 применяются инициирующие и бризантные взрывчатые вещества (ВВ), пороховые заряды, пиротехнические составы.
Инициирующие ВВ применяются во взрывателях и в устройствах воспламенения, бризантные — в качестве снаряжения снарядов и их взрывателей. Пороховыми зарядами снаряжаются гильзы; они также применяются во взрывателях. Пиротехнические составы используются в качестве трассирующих и зажигательных составов в снарядах.
Особенностью инициирующих ВВ, по сравнению с бризантными, являются их большая чувствительность к внешним воздействиям (удару, нагреву, лучу огня) и большая удельная энергия, обеспечивающая подрыв бризантных ВВ. В качестве инициирующих ВВ в снарядах применяются гремучая ртуть (имеет высокую чувствительность к удару и наколу), тринитрорезорцинат свинца (ТНРС) (высокочувствителен к тепловому и электрическому воздействию), тетразен (высокочувствителен к удару и лучу огня), азид свинца (обладает высокой инициирующей способностью, усиливает мощность взрыва). Инициирующие взрывчатые вещества применяются в виде смесей в воспламенительных устройствах и во взрывателях.
Бризантные ВВ менее чувствительны к внешним воздействиям (удару, наколу, лучу и др.). Поэтому для их подрыва и используются «усилители мощности» — заряды инициирующих ВВ. В патронах к пушке ГШ-301 применяются сплавы бризантных ВВ на основе гексогена.
Гексоген является мощным ВВ, но при этом обладает большой восприимчивостью к детонации и большой чувствительностью к механическим воздействиям. Поэтому он применяется в смеси с флегматизаторами (парафином или оксизином), снижающими чувствительность гексогена к механическим воздействиям. Смесь гексогена, содержащая 5—6% парафина, обозначается шифром A-IX-1. Смесь флетматизированного парафином гексогена (80%) с алюминиевой пудрой (20%) получила шифр A-IX-2. Если в качестве флегматизатора используется оксизин, то смеси получают шифры A-IX-1O и A-IX-2O.
Добавка алюминиевой пудры к гексогену обеспечивает повышение не только мощности ВВ, но и усиление зажигательного действия продуктов взрыва. Если температура продуктов взрыва гексогена составляет 3500 °С, то при добавке алюминиевой пудры она возрастает до 4200 °С.
При снаряжении снарядов основным ВВ используется прессованные шашки ВВ, которые закладываются в полость снаряда, или полость снаряда заполняется ВВ методом прессования.
При сборке снарядов учитываются все особенности, связанные с их функционированием при движении в стволе ААО и после вылета из ствола. Шашки ВВ изолируются от корпуса снаряда и взрывателя с помощью картонных, бумажных прокладок и пергамента. Радиальные зазоры между корпусом снаряда и взрывателем устраняются уплотнениями из свинцовых колец.
Шашки ВВ не должны иметь проскальзывания относительно корпуса снаряда при его вращении. С этой целью они закрепляются в корпусе снаряда с помощью церезиновой мастики.
В патронах к пушке ГШ-301 применяется смесь A-IX-2O, обладающая мощным фугасным и зажигательным действиями.
В качестве метательных зарядов в патронах к пушке ГШ-301 используют бездымный семиканальный пироксилиновый порох 6/7Фл, имеющий прогрессивную форму горения (за счет многоканальности). В состав порохового заряда вводятся пламегасяшие присадки и флегматизаторы.
Примерный состав пороха:
- пироксилин 90-95 %
- спиртоэфирная смесь до 2,5 %
- дифениламин 1,0 %
- вода 1,0 %
- камфора 1.5 %
- графит до 0,2 %
Спиртоэфирная смесь является остатком растворителя, превращающего пироксилин в пластическую желеобразную массу, из которой затем прессованием через матрицы и резкой получают пороховые зерна нужных размеров и формы. Следует отметить, что растворитель проникает внутрь волокон пироксилина, вызывает его набухание, ослабляет связи между молекулами и превращает пироксилин из бризантного ВВ в метательное.
Дифениламин служит стабилизатором, повышает химическую стойкость порохов. Он химически связывает выделяющиеся при хранении из порохов оксиды азота и остатки азотной кислоты, замедляет процесс разложения (старения) пороха и обеспечивает длительные сроки его хранения (20-35 лет).
Вода обеспечивает физическую стойкость пороха. В процессе увлажнения ее содержание доводится до того количества, которое порох может впитать при хранении в средних условиях относительной влажности.
Камфора является флегматизатором, уменьшающим скорость горения пороха.
Графит на поверхности пороховых зерен появляется в процессе графитования. Наличие графита улучшает сыпучесть пороха, повышает его гравиметрическую плотность, что весьма существенно при больших плотностях заряжания, так как гильзы снаряжаются порохом насыпью.
Как известно, пороховые зерна представляют собой цилиндрики с одним или семью каналами. Для конкретного образца оружия (заданной баллистики) масса и плотность порохового заряда, форма и размеры порохового зерна определяются при решении задачи баллистического проектирования ствола.
Наиболее эффективным средством гашения пламени при выстреле являются органические соединения, которые снижают активность реакции окисления горючих продуктов сгорания пороховых газов (окись углерода СО, водород Н2, метан СН4). К числу этих присадок относятся соли щелочных металлов (сернокислый калий K2SO4, хлористый калий КС1 и др.). Масса их составляет 0,25-0,75% от массы порохового заряда.
При движении снаряда по каналу ствола из-за трения медного ведущего пояска на поверхности канала ствола происходит отложение меди (омеднение), что является причиной сужения канала ствола и, как следствие, увеличения трения между снарядом и поверхностью канала ствола.
В качестве размеднителя (рисунок 12.1, поз. 4) используется проволочка из свинца, которая размещается в гильзе и крепится одним концом к донной части снаряда. При выстреле свинец плавится и распределяется по каналу ствола, при этом образует эвтектические сплавы с отложениями меди, т. е. сплавы, имеющие температуру плавления ниже, чем у каждого из компонентов. Эти сплавы удаляются из канала ствола пороховыми газами и снарядами следующих выстрелов.
Флегматизаторы в пороховых зарядах в основном предназначены для уменьшения теплового воздействия пороховых газов на внутреннюю поверхность канала ствола. В качестве флегматизатора используется бумага, пропитанная парафином или сплавом парафина с церезином. Использование флегматизаторов приводит к повышению живучести стволов ААО. Флегматизаторы (камфара) используется также и для регулирования скорости горения пороха.
Пиротехнические составы представляют собой механические смеси горючего, окислителя и веществ, придающих составу специальные свойства (окрашивание пламени, увеличение времени горения и др.). Так, трассирующие составы предназначены для обозначения траектории полета снаряда. В качестве красителя используются соли стронция, окрашивающие пламя в красный цвет.
Средства воспламенения предназначены для создания теплового импульса, необходимого для воспламенения пороховых зарядов патронов, вышибных зарядов снарядов и детонирующие устройства взрывателей снарядов.
Конструктивно средства воспламенения выполняются в виде капсюлей-воспламенителей и капсюльных втулок. В зависимости от способа приведения в действие они подразделяются на два типа — ударные (накольные) и электрические.
Основным недостатком устройств воспламенения ударного типа является большее рассеивание времени их срабатывания (до 30%) и относительно большее время производства выстрела. Для уменьшения этих недостатков используются средства воспламенения электрического типа. Они имеют высокую чувствительность к тепловому воздействию. Во всех патронах к пушкам ГШ калибра 30 мм для воспламенения порохового заряда патрона применяются в качестве воспламенительных устройств капсюльные втулки электрического типа (ЭКВ типа ЭКВ-30М).
В состав воспламенительного устройства типа ЭКВ входит электрический мостик в виде нити накаливания, на которую наносится слой инициирующего состава на основе ТНРС.
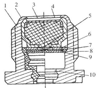
ЭКВ (рисунок 12.2) имеет стальной корпус, колпачок, воспламени-тельный состав, прикрытый чашечкой. Электрическая цепь ЭКВ имеет контактное кольцо 6 и контактную шайбу 7, разделенные изоляционной шайбой 9.

Рисунок 12.2. Втулка электрокапсюльная:
1 - корпус; 2 - колпачок; 3 - воспламенительный состав; 4 - чашечка; 5 - мостик накаливания; 6 - контакт верхний (кольцо); 7 - шайба изоляционная; 8 - контакт нижний (шайба); 9- изолятор пластмассовый; 10 - контакт центральный
Между кольцом и шайбой установлены, для надежности срабатывания, два мостика накаливания 5 из нихромовой проволоки, покрытые составом изТНРС. Контактная шайба опирается на центральный контакт 10, который надежно изолирован от корпуса втулки /изолятором 9. Контактное кольцо 6 прилегает к колпачку 2.
Электрическая цепь втулки состоит из центрального контакта (к нему подводится напряжение от электробойка стреляющего механизма ААО), контактной шайбы, мостика накаливания, контактного кольца, колпачка и корпуса втулки, связанного с массой гильзы и оружия.
Номенклатура боеприпасов основного назначения для пушки ГШ -301 включает: патроны с осколочно-фугасно-зажигательными снарядами ОФЗ-30-ГШ, патроны с осколочно-фугасно-зажигатель-но-трассирующими снарядами ОФЗТ-30-ГШ, патроны с бронебой-но-трассирующими снарядами БТ-30-ГШ, патроны с бронебойно-разрывными снарядами БР-30-ГШ, патроны с многоэлементными снарядами МЭ-30-ГШ. В качестве боеприпасов вспомогательного назначения рассмотрим патрон ОФЗ-ЗОП.
Все типы патронов имеют унифицированную стальную гильзу, длиной 165 мм и наружным диаметром дна 40 мм. Другие основные характеристики патронов представлены в таблице 33.
В целом конструкция патрона обеспечивает длительное хранение боеприпасов как на складах в герметичной укупорке, так и без нее непосредственно на стоянках, а также безопасность в служебном обращении.
Патроны с ОФЗ и ОФЗТ снарядами имеют взрыватели типа АГ-30 и предназначены для поражения легкоуязвимой техники противника и живой силы.
В нижней части корпуса снаряда ОФЗТ-30-ГШ имеется специальное гнездо, куда вворачивается втулка с трассером.
Трассер представляет собой пиротехнический состав и предназначен для визуализации траектории движения снаряда.
Патроны с БТ снарядами (трассер горит не менее 2 с) предназначены для поражения легкобронированной и легкоуязвимой техники противника.
Патроны с БР снарядами имеют взрыватель ДА-30 и предназначены для поражения легкобронированной и легкоуязвимой техники противника.
Таблица 12.1
| Характеристика | ОФЗ | ОФЗТ | БТ | БР | МЭ |
| Длина патрона, мм | |||||
| Длина снаряда, мм | 142-143 | 151-153 | 140-142 | 147,3 | - |
| Масса патрона, г | 808-820 | 808-820 | - | ||
| Масса снаряда, г | 381...393 | 381-393 | - | ||
| Масса пороха, г | |||||
| Масса ВВ, г | 48,5 | нет | 14,6 | нет | |
| Тип ВВ | A-IX-2O | A-IX-2O | нет | A-IX-2O | 28ГПЭ |
| Тип взрывателя | АГ-30 | АГ-30 | нет | ДА-30 | В-30 (А-952) |
Патроны с МЭ снарядами предназначены для поражения легкоуязвимой техники и живой силы противника.
Маркировка патронов осуществляется путем нанесения клейм и цветных полос на снарядах. Опознавательная окраска служит для определения типа снаряда: головные части взрывателей типа АГ-30 окрашены в красный цвет; ОФЗТ снаряды имеют красную кольцевую полоску на конической части; головная часть практических снарядов имеет белую окраску; баллистические наконечники МЭ снарядов имеют красную окраску. Бронебойные снаряды отличаются головными частями баллистических наконечников: БР снаряды имеют закругленные, а БТ снаряды — затупленные наконечники.
В конструкции снарядов выделяются (рисунок 12.3) головная, цилиндрическая и хвостовая части. Внешняя форма снаряда должна обеспечивать минимальное сопротивление воздуха снаряду в полете, необходимую емкость внутренней полости снаряда и требуемые условия движения снаряда в канале ствола оружия

Рисунок 12.3. Ведущее устройство снаряда
1 — ведущий поясок, 2 — центрирующее утолщение I — хвостовая или запоясковая часть, II — цилиндрическая часть, III — головная часть
Механическое воздействие снаряда на стенки канала ствола возрастает при колебательном характере его движения. В этом случае снаряд движется с ударами о стенки канала ствола. В сочетании с высокой температурой поверхностного слоя стенок это ведет к быстрому износу нарезной части, т.е. снижению живучести ствола.
Уменьшение колебаний снаряда в стволе достигается с помощью ведущего устройства, роль которого выполняет центрующее утолщение и ведущий поясок. Ведущие устройства снарядов авиационных пушек имеют один ведущий поясок и одно-два центрующих утолщения. Центрующее утолщение представляет собой тщательно обработанную небольшую поверхность цилиндрической части снаряда, расположенную на стыке с головной (оживальной) частью. Для надежного центрования снаряда в канале ствола диаметр центрирующего утолщения выполняется несколько меньше калибра оружия.
Ведущий поясок принимает участие в центровании снаряда, но главное его назначение — придать снаряду необходимую угловую скорость вращения, обеспечивающую устойчивость его в полете. Для выполнения этого условия снаряды имеют угловую скорость более 70 000 оборотов в минуту.
Материалом для изготовления ведущих поясков традиционно служит красная электролитическая медь, обладающая хорошими пластическими свойствами. Ведущий поясок изготавливается запрессовкой меди в специальную кольцевую проточку на корпусе снаряда, которая в сечении имеет форму «ласточкина» хвоста (рисунок 12.4). Для лучшего сцепления пояска с корпусом снаряда и исключения проворачивания пояска дно проточки наносится накатка с продольными ребрами.
Диаметр ведущего пояска незначительно превышает калибр. В этом случае в процессе врезания пояска в нарезы медь заполняет парезы канала ствола, предотвращая прорыв пороховых газов. Это особенно важно по мере износа канала ствола.
![]() |
Рисунок 12.4. Поперечное сечение ведущего пояска
1- корпус снаряда, 2 – ведущий поясок
Ведущий поясок имеет передний и задний скаты, улучшающие баллистические качества снаряда.
При движении снаряда по каналу ствола он испытывает большие перегрузки, вибрации, воздействие горячих пороховых газов. Поэтому при сборке снарядов принимаются меры, предупреждающие повреждение элементов конструкции снаряда и его непроизвольное срабатывание.
С этой целью используются компенсационные картонные прокладки, выбирающие осевые зазоры между шашками ВВ и взрывателями, пергаментная бумага для обертывания шашек ВВ. Для исключения доступа горячих пороховых газов к ВВ между корпусом снаряда и донным взрывателем устанавливается свинцовое колечко, которое деформируется при установке взрывателя и перекрывает радиальный зазор.
На баллистические качества снаряда оказывают влияние форма головной части, форма участка перехода от головной части к цилиндрической и общая длина снаряда. Общая длина снаряда определяется условиями его устойчивости на траектории. Длина снарядов авиационных пушек принимается равной 3,0-5,5 калибров. Требуемые размеры длины снаряда бронебойного типа, имеющего короткий бронебойный сердечник, и подобные им обеспечиваются специальным баллистическим наконечником.
Запоясковая (хвостовая) часть снарядов, имеющих сверхзвуковую скорость полета, имеет цилиндрическую форму. Для прочного соединения снаряда с гильзой на запоясковой части выполняются две кольцевые проточки, в которые завальцовывается дульце гильзы.
Головные взрыватели не должны снижать баллистические качества снарядов, поэтому диаметр основания взрывателя совпадает с диаметром переднего среза снаряда, переход от образующей конусной части взрывателя к образующей головной части снаряда не имеет излома. Наличие на головной части взрывателя небольшой площадки не оказывает существенного влияния на баллистику снаряда, так как диаметр притупления не превышает 10-15% калибра снаряда. Наиболее рациональной формой вершины головной части снаряда является небольшое закругление.
Одной из характеристик снаряда является его масса. В качестве единицы массы снарядов любых калибров используется коэффициент массы, равный отношению массы снаряда т к кубу калибра d
(12.1)
Значения коэффициента массы зависят от типа снаряда. Масса снарядов, содержащих ВВ, меньше массы снарядов бронебойного типа, поэтому и соответствующие коэффициенты массы различные.
Количество ВВ, содержащееся в снаряде, определяется коэффициентом наполнения
, равным отношению массы ВВ к массе т снаряда
(12.2)
| т |
Для решения основной задачи внешней баллистики (определение траектории движения снаряда как материальной точки, движущейся под действием силы лобового сопротивления и силы тяжести) используется обобщенная баллистическая характеристика снаряда — баллистический коэффициент
. (12.3)
Здесь
— коэффициент формы снаряда, определяемый отношением коэффициента силы лобового сопротивления снаряда
к эталонному закону сопротивления
.
Поражающее действие боеприпасов.
Снаряды, не имеющие взрывателей, относятся к категории снарядов бронебойного действия. Вторая группа снарядов, имеющих ВВ и взрыватели, обладает фугасным, осколочным и зажигательным действиями.
Основные виды их поражающего действия: бронебойное, фугасное, осколочное и зажигательное.
Бронебойное действие. Следует отметить, что пробивание брони снарядами и пулями — процесс сложный. Сложность его определяется рядом обстоятельств, к числу которых, относятся кратковременность процесса, механические качества и толщина брони, угол и скорость встречи снаряда с броней, конструктивные особенности снаряда, форма головной части и др.
Известно, что в конструкции современных боевых машин пехоты (БМП) и бронетранспортеров (БТР) применение находит броня как гомогенного, так и гетерогенного типов. Особенностью гомогенной брони является однородность ее свойств (твердости и вяз- кости) по всей толщине. Гетерогенная броня имеет чрезвычайно твердый лицевой слой в сочетании с пониженной твердостью и высокой вязкостью других слоев.
Гомогенная броня высокой твердости хорошо противостоит действию пуль и снарядов небольшого калибра, но обладает большой хрупкостью. Пробивание такой брони снарядом сопровождается выбиванием" пробки, а основным видом деформации брони является деформация среза. Кроме этого тыльная сторона брони может частично дробиться в результате ее отколов.
Однако все это справедливо лишь в том случае, если снаряд не разрушается в процессе пробития брони. Даже при незначительном разрушении головной части снаряда большая доля его кинетической энергии расходуется на разрушение именно снаряда. Поэтому для предупреждения разрушения снаряда он должен иметь и соответствующие прочность и форму.
Если прочность головной части снаряда недостаточна, то по требованию бронепробиваемости форма его — тупоголовая. Если прочность снаряда или пули высокая, то форма снаряда — остроголовая. Практика показала, что при прочих равных условиях остроголовые снаряды по сравнению с тупоголовыми обладают повышенным бронебойным действием по гомогенной броне.
Характер действия снаряда по гетерогенной броне несколько меняется. В этом случае сначала снаряд должен преодолеть самый прочный наружный слой и потому должен обладать большой прочностью. Как правило, остроголовые снаряды в этом случае разрушаются. Поэтому тупоголовые снаряды в этом случае оказываются более эффективными. Использование в качестве материалов для изготовления снарядов карбида вольфрама, имеющего исключительно высокую твердость, дает возможность использовать и остроголовые снаряды. Иногда остроголовые снаряды меньшей твердости снабжаются специальным бронебойным наконечником с притуплением.
При оценке бронебойного действия необходимо учитывать возможность рикошетирования снаряда.
Рикошетирование прежде всего зависит от угла встречи снаряда с поверхностью брони, который отсчитывается от нормали к поверхности. Наилучшие условия бронепробития выполняются при углах, близких к нулю; с увеличением угла условия ухудшаются. Наибольший угол, при котором рикошетирования еще не происходят, называется предельным углом рикошетирования снарядов. Величина предельного угла рикошетирования зависит от скорости встречи снаряда с броней, толщины и твердости брони, формы головной части снаряда и др. Определяются предельные углы рикошетирования практически.
Фугасное действие обусловлено разрушительным действием продуктов взрыва и ударной волны. Действие продуктов взрыва определяется высокой температурой взрыва (4000 °С) и высоким давлением 20000 МПа. Расширение этих продуктов сопровождается ударными нагрузками по близко расположенным преградам и образованием воздушной ударной волны, которая воздействует на удаленные преграды.
Основные параметры ударной волны — это избыточное давление на ее фронте и время действия волны.
Для оценки разрушающего действия ударной волны рассчитывается удельный импульс, который воздействует на преграду. В результате этого преграда из состояния покоя переходит в режим собственных колебаний, частота которых определяется массой и жесткостью конструкции преграды. Если напряжения деформации при этом превысят допустимые их значения, то конструкция преграды разрушается.
Осколочное действие. Одновременно с ударной волной при взрыве снаряда формируется поток осколков, имеющих большие скорости (500-5000 м/с). Поражающее действие осколков определяется запасом их кинетической энергии. Минимальное количество кинетической энергии осколка, достаточное для поражения цели, называется убойной энергией, а такой осколок — убойным осколком. Участок траектории, на котором сохраняется убойная энергия осколка, называется убойным интервалом осколка.
Пространство, в котором происходит разлет осколков, называется полем осколочного действия. Число убойных осколков, приходящихся на единицу поверхности сферы называется плотностью потока убойных осколков. Все перечисленные выше определения необходимы для оценки эффективности осколочного действия снарядов.
Осколки, имеющие большую скорость, обладают следующими поражающими факторами: пробивным, которое приводит к механическим разрушениям различных элементов конструкции объекта поражения; зажигательным, которое обусловлено высокой температурой осколков снарядов и мелких раскаленных осколков, образующихся при разрушении дюралевых, электронных экранов и перегородок конструкции объекта поражения; инициирующим, которое может привести к подрыву боеприпасов, если запас кинетической энергии осколка превышает предел чувствительности ВВ к удару.
Эффективность осколочного действия снаряда существенно зависит от характеристик дробления его корпуса на осколки, а эти характеристики в свою очередь от коэффициента наполнения снаряда, типа ВВ, материала снаряда. ВВ типа A-IX-1 и A-IX-2 относятся к разряду высокобризантных, обеспечивающих большую начальную скорость осколков. Одновременно они обладают и хорошим фугасным действием.
Зажигательное действие боеприпасов обеспечивается продуктами взрыва ВВ снарядов, специальными пиротехническими зажигательными и трассирующими составами. При взрыве смеси A-IX-2 максимальная расчетная температура продуктов взрыва достигает 3000 °С.
Пиротехнические трассирующие составы представляют собой смеси горючего (алюминиевая, магниевая пудра), окислителя (нитрат бария, перхлорат калия), цементатора (идиполь, канифоль) и цветовой добавки. Такие составы при горении дают высокую температуру (до 2000-2500 °С).
Особенностью зажигательного действия продуктов взрыва ВВ и пиротехнических составов является незначительный интервал времени сохранения высокой температуры 2-3 • 10-3 с.
Характер поражающего зажигательного действия зависит от типа зажигательного состава, типа целей и подразделяется на огневое, поджигающее и комбинированное.
Огневое воздействие проявляется в прожигании или проплав-лении негорючих элементов конструкции, в проникании горящих веществ внутрь отсеков. Поджигающее воздействие проявляется в возгорании воспламеняемых элементов конструкции. Комбинированное воздействие является результатом совместного огневого и поджигающего воздействий.
Снаряды основного назначения отличаются большим разнообразием. Это объясняется, прежде всего, тем, что объекты поражения различаются по своей уязвимости. Среди этих целей есть такие, как живая сила, самолеты, вертолеты, которые не имеют броневой защиты (легкоуязвимые цели). Вторая группа целей — БМП и БТР — имеет броню небольшой толщины. Такие цели относятся к легкобронированным. Для поражения легкобронированных целей необходимы снаряды, обладающие бронебойным действием. Для поражения легкоуязвимых целей бронебойное действие снарядов необязательно. В патронах основного назначения к пушке ГШ-301 применяются снаряды следующих типов: БТ-ЗО-ГШ, БР-ЗО-ГШ, ОФЗ-30-ГШ, ОФЗТ-30-ГШ, МЭ-ЗО-ГШ.
Снаряды, как правило, обладают комбинированным поражающим действием: осколочно-фугасно-зажигательным (ОФЗ и ОФЗТ), бронебойно-разрывным (БР), бронебойно-зажигательным (БТ), фугасно-зажигательным (ФЗ) и т.п.
Все типы снарядов, обладающие фугасным (разрывным) и осколочным действиями, имеют заряды взрывчатого вещества и взрыватели. Снаряды типа ОФЗ, ОФЗТ, ФЗ комплектуются головными, снаряды типа БР юнными взрывателями. Это объясняется тем, что головной взрыватель при встрече с броней может разрушиться или выйти из строя. Донный взрыватель этих недостатков не имеет.
В калибре 30 мм среди снарядов основного назначения большую долю занимает группа снарядов бронебойного типа. Наиболее типичными представителями снарядов бронебойного типа является бронебойно-трассирующий снаряд.
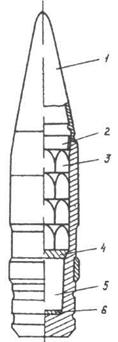
Бронебойно-трассирующий снаряд (рисунок 12.5) имеет цельнометаллический корпус 2 с ведущим пояском 3, и баллистический наконечник 1. В донной части корпуса имеет гнездо, в котором размещается трассирующий состав 4. Трассирующий состав воспламеняется при выстреле и горит в полете. При пробитии брони этот состав, обладая высокой температурой, способен создать очаги пожаров. Таким образом, этот снаряд также обладает и зажигательным действием. Снаряд БТ сохраняет зажигательные свойства и при стрельбе по целям, не имеющим брони. Корпус снаряда выполнен из сплава тяжелых металлов.
Притуплённый носок корпуса снаряда закрыт стальным баллистическим наконечником 1. Снаряд БТ-30 взрывателя не имеет. При подаче напряжения + 27 В на контакт капсюльной втулки ЭК.В-30 воспламеняется пороховой заряд. Газы от сгорающего по роха воздействуют на снаряд, заставляя его двигаться по каналу ствола пушки, врезаясь в нарезы медным ведущим пояском. Одновременно горячие пороховые газы поджигают трассер снаряда, создающий видимый след на траектории полета.
При встрече снаряда с преградой сминается баллистический наконечник 1 и пробитие производится путем внедрения в преграду корпуса 2 снаряда, имеющего высокую скорость соударения. БТ-30 пробивает до 20 мм гомогенной брони средней твердости под углом 30°.
![]() |
Одним из недостатков БТ снарядов является то, что они не обладают заброневым фугасным действием, что и снижает их эффективность. Этого недостатка не имеют бронебойно-разрывные снаряды (рисунок 12.6). Элементами их конструкции являются бронебойный корпус с притуплённой головной частью 2, заряд ВВ 3, донный взрыватель 7 и баллистический обтекатель 1. Вследствие ослабления корпуса и некоторого уменьшения его массы бронебойное действие такого снаряда несколько снижается. Но его заброневое действие возрастает за счет фугасного и осколочного действия. БР снаряд имеет толстые стенки и поэтому при взрыве ВВ формируется осколочное поле с осколками большой массы и скорости разлета.
![]() |
Рисунок. 12.5. Устройство снаряда: Рисунок 12.6. Устройство снаряда
БТ-30-ГШ БР-30-ГШ
1 - баллистический наконечник, 1 – баллистический наконечник,
2 - корпус, 2 – корпус,
3 - медный ведущий поясок, 3 – взрывчатое вещество,
4 - трассерная таблетка 4 – прокладка,
5 – шайба,
6 – свинцовое кольцо,
7 - взрыватель
![]() |
![]() |
![]() |
![]() |
![]() |
![]() |
![]() |
![]() |
![]() |
Для того чтобы подрыв БР снарядов осуществлялся после пробития брони, они снаряжаются донными взрывателями типа ДА-30 с большим временем замедления.
Головная часть корпуса закрыта баллистическим наконечником 1, придающим снаряду хорошо обтекаемую форму. Наконечник закреплен путем завальцовки его в три кольцевые канавки головной части корпуса 2, предназначенные не только для закрепления баллистического наконечника 1, но и для локализации разрушения корпуса снаряда в головной части при его ударе о броню. Внутри корпуса снаряда во внутренней каморе располагается ВВ 3. Картонные и бумажные прокладки 4 служат для плотного поджатия шашки.
Для опоры шашки при выстреле устанавливается алюминиевая шайба 5. В донную часть корпуса снаряда ввертывается взрыватель ДА-30 7. За резьбой взрывателя устанавливается свинцовое кольцо 6, предохраняющее внутреннюю камору снаряда от прорыва пороховых газов. Для поражения легкоуязвимых целей целесообразнее применять снаряды, обладающие, прежде всего, фугасным и осколочным действиями в сочетании с зажигательным. Для усиления фугасного и осколочного действий в корпусе такого снаряда необходимо разместить большее количество ВВ. Уменьшив толщину стенки корпуса по сравнению с корпусом БР снаряда, можно увеличить объем внутренней полости и, следовательно, массу ВВ.
Типичными представителями снарядов этого типа являются осколочно-фугасно-зажигательные снаряды (рисунрк 12.7), которые по сравнение с бронебойно-разрывными имеют большую массу ВВ, что и ведет к повышению фугасного и осколочного действия
![]() |
![]() |
Рисунок 12.7. Устройство снаряда ОФЗ-30-ГШ:
1 — медный ведущий поясок.
2 — корпус,
3 — головной взрыватель,
4 — взрывчатое вещество
Снаряд состоит из корпуса 2 с медным ведущим пояском 1. Внутри корпуса снаряда располагается ВВ 4. В головной части снаряда располагается взрыватель АГ-30 3.
Головной ударный взрыватель АГ-30 реакционно-инерционного типа обеспечивает взведение на траектории полета на расстоянии не менее 50 м от дульной части канала ствола оружия, инициирование снаряжения снаряда на расстоянии 150-200 мм после контакта с первичной преградой.
Снаряды типа ОФЗТ (рисунок 12.8) имеют корпус с двумя полостями, в одной из которых размещается уменьшенное по сравнению с ОФЗ снарядом количество ВВ, в другой, в нижней части корпуса снаряда, — трассирующий состав.
![]() |
Рисунок 12.8. Устройство снаряда ОФЗТ-30-ГШ:
1 — медный ведущий поясок, 2 — корпус,
3 — головной взрыватель, 4 — взрывчатое вещество,
5 - втулка с трассером
Поражение цели производится осколками, фугасным и зажигательным действием продуктов взрыва. Например: при попадании снаряда ОФЗ-30 в летательный аппарат разрушается обшивка на площади до 1 м2 и силовые элементы конструкции в зоне радиусом 200 мм отточки взрыва, осколками перебиваются трубопроводы и жгуты.
Для поражения живой силы и легкоуязвимой техники служит снаряд, снаряженный готовыми поражающими элементами (ГПЭ) — многоэлементный снаряд (рисунок 12.9). Снаряд состоит из корпуса 4с медным ведущим пояском, готовых поражающих элементов 3, вышибного устройства 5, баллистического обтекателя 1.
Контуры внутренней каморы корпуса 4 в поперечном сечении образуют шестиугольник со скругленными углами. Данная конфигурация каморы исключает проворот готовых поражающих элементов (ГПЭ) Jot касательного ускорения относительно стенок корпуса, поэтому ГПЭ и снаряд имеют одну и ту же угловую скорость вращения.
![]() |
Рисунок 12.9. Устройство снаряда МЭ-ЗО-ГШ:
1 — баллистический обтекатель, 2 — втулка,
3 -ГПЭ, 4 — корпус, 5 — вышибное устройство
ВУ-30, 6 — прокладка
Это необходимо как для создания наилучших условий по устойчивости полета самого снаряда на траектории (до выброса ГПЭ), так и для обеспечения устойчивого полета ГПЭ после их выброса на траектории. Конфигурация внутренней каморы корпуса, ее размеры и диаметр ГПЭ подобраны таким образом, чтобы обеспечить фиксацию семи ГПЭ Зъ каждом их четырех рядов (в плоскости, перпендикулярной оси снаряда).
В головной части снаряда располагается баллистический обтекатель 1, изготавливаемый из алюминиевого сплава.
Для соединения баллистического обтекателя/с корпусом 4 и поджатия ГПЭ 3 используется втулка 2, изготавливаемая из алюминиевого сплава Д IT.
Вышибное устройство 5 ВУ-30 вкладывается внутрь корпуса.
Готовый поражающий элемент ГПЭ имеет форму, схожую с пистолетной пулей диаметром 7,62 мм и длиной 12 мм, изготавливаемый из легированной стали с последующей термообработкой.
Снаряд МЭ-ЗО-ГШ снаряжается донным вышибным устройством (или дистанционным взрывателем) ВУ-30 (А-952) пиротехнического типа, который срабатывает на траектории полета через время 1,1-1,5 с после выстрела и обеспечивает выброс ГПЭ из корпуса снаряда.
Дистанционный взрыватель приводится в действие при выстреле. Сила давления газов через шайбу передается на резьбовую втулку. В результате этого резьба втулки срезается, и она вместе с обтекателем отделяется от корпуса снаряда. Вслед за втулкой из корпуса снаряда выбрасывается ГПЭ. Давление газов вышибного устройства обеспечивает дополнительную скорость ГПЭ до 50 м/с. Вследствие вращательного движения ГПЭ, смещенные относительно продольной оси снаряда, разлетаются образуя конус с углом около 8 градусов при вершине. Стабилизация ГПЭ в полете обеспечивается их вращением.
Снаряды вспомогательного назначения. Для учебно-тренировочных стрельб, испытаний артиллерийского оружия и установок используются патроны с практическими, лафетопробными снарядами. Применение таких патронов вызвано соображениями экономии средств. Практические снаряды соответствуют по всем параметрам снарядам основного назначения. Они имеют корпус обычного ОФЗ снаряда, внутренняя полость которого заполняется инертным снаряжением, а вместо взрывателя — баллистическую втулку. Баллистическая втулка окрашивается в зеленый цвет.
Для изучения конструкции боеприпасов специалистами используются учебные и учебно-разрезные макеты патронов, из которых изъяты все виды взрывчатых веществ: инициирующие, бризантные, а также метательные и пиротехнические составы. Однако даже такие боеприпасы разбирать запрещается.

















