Для измерения глубины поверхностных дефектов с успехом применяют обычные микроскопы благодаря малой глубине резкости микрообъективов. Микроскоп фокусируют на дно царапины, а затем на ее верхний край. Высоту неровности определяют по перемещению тубуса микроскопа. Точность измерения порядка 1 мкм.
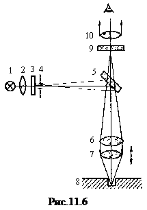
Вдвое большую точность дает автоколлимационная схема измерения дефектов поверхности (рис. 11.6). Источник света 1 с помощью конденсора 2 и фильтра 3 освещает сетку 4 – прозрачное перекрестие на темном фоне. Перекрестие с помощью полупрозрачного зеркала 5, линзы 6 и микрообъектива 7 фокусируется на исследуемую деталь 8. Изображение поверхности детали, на которую спроектировано перекрестие, наблюдается в окуляр 10. Перемещением фокусирующего микрообъектива последовательно добиваются резкого автоколлимационного изображения перекрестия при наведении его на поверхность царапины и на ее глубину. Размеры дефектов в горизонтальной плоскости измеряют по шкале 9 микроскопа. Глубину царапин измеряют по перемещению фокусирующего микрообъектива.
|
|
|
Модификацией этого метода является автоколлимационный растровый способ измерения глубины неровностей (рис. 11.7). Растры (сетки) 2 и 3 проецируются полупрозрачным зеркалом 4, линзой 5 и объективом 6 на контролируемую поверхность 7. Растры расположены симметрично относительно плоскости FF/. Шаг растров выбирают с учетом разрешающей способности объектива 6. При точной фокусировке автоколлимационные изображения растров располагаются симметрично относительно растра-анализатора 8, причем их штрихи смещены на 1/2 шага относительно растра-анализатора 8. Поэтому в момент точной фокусировки в плоскости растра 8 устанавливается фотометрическое равновесие; при дефокусировке равновесие нарушается. Это регистрируется визуально (поле зрения равномерно освещено или имеет светотень) или фотоприемником 9-12. Точность фокусировки составляет 0,01 мкм.






