Лазеры в фотонаборных автоматах служат источниками света, обеспечивающими возможность получения высококачественных изображений. Предпосылки к этому:
- высокая монохроматичность и когерентность лазерного излучения,
- малая расходимость лазерного пучка, большая интенсивность световой энергии в пучке.
Эти особенности лазеров позволяют сфокусировать световой пучок в пятно очень малых размеров с высокой плотностью энергии. При отсутствии диафрагмирования распределение интенсивности в пятне хорошо аппроксимируется кривой Гаусса. Высокая интенсивность светового пятна позволяет записывать на фотоматериалах сравнительно низкой чувствительности, но обладающих хорошим разрешением.
В фотонаборных машинах широко используются маломощные газовые лазеры: гелий-кадмиевые, гелий-неоновые и аргоновые.
Основными элементами газового лазера являются: оптический резонатор, состоящий из полностью отражающего зеркала I и частично пропускающего (около 50%) выходного зеркала 2, активная среда 3 и устройство накачки 4 (рис. 10.2).
|
|
|

Рис. 10.2. Принципиальная схема газового лазера.
При подаче излучения определенной частоты устройством накачки 4 в активной среде 3 возникает избыток возбужденных атомов. Спонтанные фотоны, возникающие внутри активной среды, взаимодействуют с возбужденными атомами и в конечном счете инициируют мощную лавину вынужденно испущенных фотонов, которая и образует лазерный луч. В результате отражения от двух параллельных зеркал оптического резонатора увеличивается плотность вынужденного излучения и формируется его направление. Лазерный луч выходит в виде параллельного пучка света из резонатора через выходное зеркало 2, частично пропускающее световое излучение.
В последнее время в фотонаборных автоматах используются в качестве источника света полупроводниковые инжекционные лазеры, которые имеют по сравнению с газовыми лазерами больший срок службы и существенно меньшие габаритные размеры.
Инжекционный лазер представляет собой полупроводниковый двухэлектродный прибор с
переходом (поэтому часто как равноправный используется термин лазерный диод), в котором генерация когерентного излучения связана с инжекцией носителей заряда при протекании прямого тока через
переход.

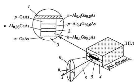
Рис. 10.3. Структура инжекционного лазера на GaAs: 1 - металлический контакт; 2 - активный слой; 3 - подложка; 4 - поверхность скола; 5 - зона излучения; 6 - лазерный луч.
В устройстве и принципе действия инжекционного лазера отчетливо проявляются все те определяющие моменты, которые характерны для любого лазера. Прежде всего необходима активная среда, способная обеспечить эффективное протекание вынужденного излучения (рис. 2.35). Второе условие лазерной генерации состоит в использовании механизма возбуждения активной среды (накачки), создающего инверсию населенностей энергетических уровней полупроводника. В данном случае это инжекция носителей заряда р-п-переходом.
|
|
|
Инжекционные лазеры имеют ряд достоинств:
- Микроминиатюрность: теоретическая минимальная длина резонатора близка к 10 мкм, а площадь его поперечного сечения - к 1 мкм2(объем активной области может достигать 10-12 см3).
- Высокий кпд преобразования энергии накачки в излучение, приближающийся у лучших образцов к теоретическому пределу. Это обусловлено тем, что лишь при инжекционной накачке удается исключить нежелательные потери - вся энергия электрического тока переходит в энергию возбужденных электронов.
- Удобство управления: низкие напряжения и токи возбуждения, совместимые с интегральными микросхемами; возможность изменения мощности излучения без применения внешних модуляторов; работа как в непрерывном, так и в импульсном режимах с обеспечением при этом очень высокой скорости переключения (в пикосекундном диапазоне).
Инжекционным лазерам присущи и определенные недостатки, к принципиальным можно отнести следующие: невысокая когерентность излучения (в сравнении, например, с газовыми лазерами) - значительная ширина спектральной линии, большая угловая расходимость, эллиптический астигматизм, резкое уменьшение мощности излучения при повышении температуры.
Для устранения астигматизма эллиптический гауссов пучок света с помощью скрещенных цилиндрических линз (рис. 10.4) преобразуют в пучок круглого сечения.

Рис. 10.4. Преобразование эллиптического гауссова светового пучка в круговой скрещенными цилиндрическими линзами.






