Модулятор предназначен для управления интенсивностью лазерного луча по принципу «да - нет» в процессе вывода и регистрации графической информации. В лазерных фотонаборных автоматах применяются электрооптичечкие (ЭОМ) и акустооптические (АОМ) модуляторы
Принцип работы ЭОМ основан на линейном электрооптическом эффекте. При воздействии на электрооптический кристалл электрического поля в результате двойного лучепреломления изменяется направление поляризации прошедшей через кристалл световой волны. Если электрооптические кристаллы (рис. 10.5. а) поместить между поляризаторами с ортогонально направленными осями поляризации и на вход этой системы направить лазерный пучок с поляризацией, соответствующей поляризации входного элемента, то при отсутствии напряжения на электродах кристаллов световой поток на выходе второго поляризатора (анализатора) будет отсутствовать. При подаче на электроды управляющего напряжения возникнет выходной световой поток, интенсивность которого достигает максимума при некотором значении этого напряжения, называемого полуволновым. Зависимость интенсивности выходного светового потока
от управляющего напряжения
определяется выражением:
|
|
|
, (10.1)
-где
интенсивность входной световой волны;
- показатель преломления кристалла для обыкновенной волны;
- электрооптический
Таким образом, изменяя напряжение, подаваемое на электроды, можно осуществлять модуляцию светового потока. Время переключения электрооптического модулятора из одного состояния в другое может составлять всего
с и менее. Для переключения ЭОМ требуется высокое управляющее напряжение, превышающее 100 В. К недостаткам ЭОМ кроме использования высокого управляющего напряжения следует отнести зависимость параметров от температуры и низкий коэффициент контрастности (порядка 100), представляющий собой отношение максимальной и минимальной световой мощности излучения, которое проходит через модулятор. В последнее время модуляторы этого типа уступают место акустооптическим.

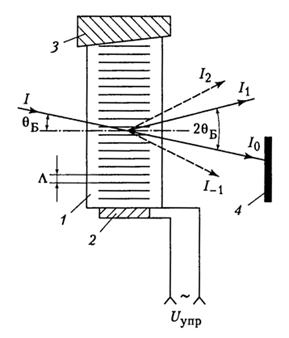
Рис. 10.5. Устройство акустооптического модулятора:
1 - акустооптическая среда (акустопровод); 2 - пьезопреобразователь; 3 - поглотитель; 4 – диафрагма.
Принцип действия АОМ основан на дифракции поляризованного света на бегущей ультразвуковой волне в оптически прозрачном материале. Если на акустопровод (рис. 10.5), в котором с помощью пьезоэлектрического преобразователя возбуждена бегущая ультразвуковая волна, подать пучок света, то благодаря возникновению участков сжатия и растяжения, различающихся между собой показателем преломления, эта область акустопровода будет действовать на падающий свет как дифракционная решетка. Световой пучок, дифрагируя на решетке, образует несколько выходных пучков - максимумов интенсивности излучения различных порядков, разнесенных в пространстве по направлению.
|
|
|
Особый практический интерес представляет случай, когда свет (лазерный пучок) направляется на кристалл под так называемым углом Брэгга, который определяется равенством:
, (10.2)
где
- длина ультразвуковой волны в акустооптическом кристалле.
При условии:
(10.3)
наблюдается так называемая дифракция Брэгга, которая характеризуется тем, что интенсивности всех дифракционных максимумов, кроме
становятся пренебрежимо малыми. В процессе модуляции лазерный пучок может или проходить через акустооптический кристалл без изменения направления и интенсивности, или переходить в дифрагированный пучок, преломленный под углом Брэгга. Интенсивность света в направлении этого утла:
, (10.4)
-где
- интенсивность света при отсутствии ультразвуковой волны;
-мощность ультразвуковой волны;
и
-соответственно длина и высота акустооптического кристалла;
-эффективный упругооптический коэффициент;
-скорость распространения звука в кристалле;
- плотность акустооптической среды.
Эффективность дифракции определяется как отношение силы дифрагированного
, и падающего
света
.
АОМ работает следующим образом (см. рис. 10.5): луч света
проходит через кристалл и попадает на диафрагму, которая преграждает ему путь. В этом случае модулятор прерывает световой поток. При подаче на кристалл акустической волны с помощью пьезопреобразователя наблюдается явление дифракции, и из кристалла выходит луч света
. Направление этого луча выбирают так, чтобы оно совпадало с направлением оптической оси системы. В этом случае модулятор открыт, а для прерывания светового луча отключают пьезопреобразователь. Допустимые частоты модуляции для АОМ определяются упругооптическими свойствами акустической среды и временем прохождения акустической волны через апертуру светового луча и достигают 10 МГЦ.
Основные преимущества АОМ по сравнению с ЭОМ - низкие управляющие напряжения (порядка 10 В), высокий коэффициент контрастности (до 1000), независимость параметров модуляции от температуры, использование неполяризованного света, отсутствие в конструкции модулятора склеек оптических элементов, что существенно уменьшает потери света, возможность работы в режиме модулятора и дефлектора.






