Запись изображения на формных пластинах в рекордерах с расположением пластин на внешней поверхности барабана может осуществляться методом однолучевого или многолучевого сканирования. В первом случае рекордеры оснащены одним лазером, экспонирующим светочувствительный или термочувствительньй слой формного материала. Для многолучевого сканирования записывающая головка рекордера содержит несколько лазеров (лазерных диодов). При этом число экспонирузрщих лазерных лучей может быть равно или быть большим числа лазеров.
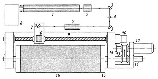
На рис. 16.3 приведена конструкция лазерного сканирующего устройства рекордера с однолучевой записью формной пластины. Устройство работает следующим образом. Формная пластина J 6 закрепляется на барабане 15, который установлен на станине 14, и вращается электродвигателем постоянного тока 12 через механизм привода J 3. На одном валу с барабаном 15 расположен оптоэлектронный преобразователь угловых перемещений в цифровой код 11. Вдоль образующей барабана на станине установлены ходовой винт 9, на валу которого расположен шаговый электродвигатель 10. При работе шагового электродвигателя J 0 ходовой винт 9 вращается и за счет этого каретка 7 с записывающей головкой, содержащей фокусирующую линзу 6 и зеркало 3 перемещается вдоль образующей барабана. В качестве источника излучения используется твердотельный YAG-лазер 1, работающий в ИК-диапазоне спектра на длине волны 1,064 нм с выходной мощностью 15-20 Вт и оснащенный системой охлаждения 8. Лазерный луч модулируется акустооптическим модулятором 2 и далее через систему зеркал 3, диафрагму 4, телескоп 5 попадает в линзу 6, которая фокусирует его в пятно малого размера на поверхности формной пластины, закрепленной на вращающемся барабане 15. Развертка по строке осуществляется вращением барабана и контролируется оптоэлектрон-ным преобразователем угловых перемещений 11, а развертка по кадру - вращением (с помощью шагового электродвигателя 10) прецизионного ходового винта 9, по которому движется каретка /записывающей головки.

Рис. 16.3. Лазерное сканирующее устройство рекордера для записи формных пластин на внешней поверхности барабана.
Рекордеры для записи формных пластин, расположенных на внутренней поверхности барабана, состоят из трех последовательно соединяемых секций: ввода, экспонирования и вывода. Секция ввода предназначена для размещения кассеты или нескольких кассет с формными пластинами, автоматического или ручного ввода пластин в секцию экспонирования. Секция экспонирования служит для записи изображения и пробивки штифтовых отверстий в формной пластине. Секция вывода осуществляет передачу экспонированной пластины непосредственно в процессор для обработки форм или выводит пластину на приемное устройство. Все три секции объединены системой транспортирования пластин, конструкция которой в разных моделях рекордеров имеет свои особенности.
В отличие от барабанных рекордеры с записью формных пластин, расположенных в плоскости, практически не деформируют пластины во время загрузки и экспонирования. Это позволяет работать с пластинами разного формата и толщины с одинаково высокой точностью.






