В последние годы в общем объеме производства значительно возросла доля печатной продукции, воспроизводимой с фотополимерных форм (ФПФ) высокой и флексографской печати. В качестве фотополимерных материалов применяют твердые или жидкие композиции на металлической подложке или без нее. К фотополимеризующимся материалам относятся твердые или жидкие мономерные, олигомерные или мономерно-полимерные смеси, способные изменять под действием света химическое и физическое состояние. Эти изменения приводят к образованию твердых или упругих нерастворимых полимеров.
Твердые фотополимеризующиеся композиции (ТФПК) сохраняют твердое агрегатное состояние до и после изготовления печатной формы. На полиграфическое предприятие они поставляются в виде фотополимеризующихся пластин определенного формата.
Жидкие фотополимеризующиеся композиции (ЖФПК) поставляются на полиграфические предприятия в емкостях в жидком виде либо их изготовляют непосредственно на предприятиях путем смешивания исходных компонентов.
|
|
|
Технологическая операция, в ходе которой в фотополимеризующейся композиции протекает реакция фотополимеразации и образуется скрытое рельефное изображение, называется экспонированием фотополимеризующегося слоя. Фотополимеризация происходит только на тех участках фотополимеризующегося слоя, которые подвергаются облучению.
При изготовлении печатных форм из жидкой фотополимеризующейся композиции ее заливают в полость между двумя стеклами 1 (рис. 15.4). Предварительно на одном из стекол укладывают негатив 2 эмульсионным слоем в сторону жидкой композиции. Негатив накрывают тонкой (6-12 мкм) защитной полиэтиленовой пленкой 3 во избежание контакта негатива с жидкой композицией 4.

Рис. 15.4. Экспонирование жидкой фотополимеризующейся композиции.
При экспонировании поток ультрафиолетовых излучений люминесцентных или газоразрядных ламп 6, проходящий через прозрачные участки негатива, полимеризует жидкую композицию на печатающих элементах 5, превращая ее в твердый полимер. На пробельных участках, где свет не действовал, композиция остается в первоначальном жидком состоянии. Для создания основы печатной формы композицию освещают такими же лампами с оборотной стороны, что приводит к образованию прочной твердой основы 7. После экспонирования жидкую композицию удаляют с пробельных участков сжатым воздухом или вымывают.
Технологические операции фотокондиционирования, экспонирования и дополнительного экспонирования при изготовлении фотополимерных форм выполняют на экспонирующих установках.
|
|
|
Существуют установки, которые предназначены для экспонирования фотополимерных пластин на основе ТФПК через фотоформу. Операции фотокондиционирования и доэкспонирования также могут быть выполнены на этих установках. Для экспонирования фотополимеризующихся жидких композиций используются формирующе-экспонирующие установки, которые кроме экспонирования фотополимеризующегося слоя через негатив осуществляют его формирование. Имеются также установки, предназначенные для доэкспонирования проявленных фотополимерных копий с одновременной их сушкой. Установки для доэкспонирования и сушки дополнительно оснащены калорифером для нагрева воздуха и вентилятором для подачи этого воздуха в зону сушки фотополимерной формы.
Экспонирующие установки отличаются главным образом конструкцией осветительной камеры и видом источников актиничного света. Осветительные установки должны удовлетворять следующим требованиям: обеспечивать высокую равномерность освещения по всей площади формы; создавать актиничный поток света; не нагревать поверхность ФПФ выше допустимой температуры; обеспечивать удобство фиксации монтажа фотоформы на поверхности ФПФ.
Экспонирующие установки для изготовления ФПФ из ТФПК выпускаются в двух вариантах: для экспонирования плоских фотополимеризующихся пластин и предварительно изогнутых. В установках обоих типов обеспечиваются плотный контакт фотоформы с поверхностью пластины и равномерное облучение копируемой поверхности УФ-лучами в определенном диапазоне длин волн спектра.
Экспонирующие установки с металлогалогенными облучателями являются установками повышенной производительности и находят применение на крупных полиграфических предприятиях для изготовления ФПФ как из ТФПК, так и из ЖФПК.
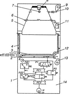
Принципиальная схема экспонирующей установки с металлогалогенным источником света приведена на рис. 15.5.

Рис. 15.5. Схема экспонирующей установки с металлогалогенным источником света.
1 – станина, 2 – стол, 3 –покровная пленка, 4- отражающие экраны, 5- облучатель, 6 –затвор, 7 – лампа, 8 - зеркальный отражатель, 9 – вентилятор, 10 – заслонка, 11- электродвигатель, 12 – валик, 13 – вентилятор, 14 – вакуумная система (состоит из вакуумного насоса Н, двух ресиверов РС1 и РС2, трех электромагнитных воздухораспределителей Р1, Р2 и РЗ, двух реле давления РД1 и РД2, вакуумметра В и пневматического стола 2).
Существуют экспонирующие и формирующе-экспонирующие установки с металлогалогенным источником света, расположенным внизу, как и в контактно-копировальных установках для копирования офсетных форм.
Экспонирующие установки с люминесцентными облучателями имеют небольшую производительность и габаритные размеры. Эти установки применяются в малых и средних по объему производства полиграфических предприятиях.
Выпускаются установки для экспонирования плоских фото-полимеризующихся пластин с помощью люминесцентных ламп. расположенных на откидывающейся крышке.
Установка такого типа (рис. 15.6) состоит из вакуумного стола 1, на поверхности которого имеется система вакуумных канавок 2. Фотополимеризующуюся пластину с фотоформой оператор
кладет на стол и закрывает сверху полиэтиленовой пленкой. При
создании под пленкой вакуума она прижимает негатив к фотопо-
лимеризующейся пластине и столу. На откидывающейся крышке 3 смонтирована панель люминесцентных УФ-ламп 4. Крышка для облегчения открывания и закрывания оборудована противовесами 5. На пульте управления 6 размещены реле времени для задания продолжительности экспонирования и кнопки включения и выключения вакуум-насоса. Установки просты по конструкции и в обслуживании, но имеют большую продолжительность экспонирования фотополимеризующихся пластин.
|
|
|

Рис. 15.6. Экспонирующая установка с люминесцентыми источниками света, расположенными на откидывающейся крышке
Существуют также экспонирующие установки, в которых люминесцентные лампы расположены в корпусе под защитным стеклом.
В некоторых экспонирующих установках для повышения производительности применяют подвижный облучатель, который поочередно устанавливается на двух пластинодержателях. Установка такого типа представляет собой полуавтоматическое устройство, состоящее из облучателя, пластинодержателя, станины, вентиляционной системы, устройства дозирования энергии облучения и электрооборудования.
Для экспонирования предварительно изогнутых фотополимерных пластин выпускаются экспонирующие установки цилиндрического типа.






