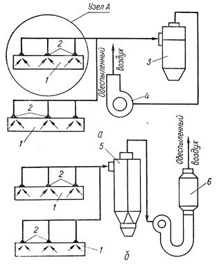
Очистка от пыли может производиться в одно- и двухступенчатых системах пылеулавливания. Если на очистку поступает воздух с содержанием пыли менее 2000 мг/м3, допустима одноступенчатая очистка в сухом пылеуловителе. При большей концентрации пыли необходима двухступенчатая сухая очистка или использование высокоэффективных мокрых пылеуловителей. На рис. 10.1 показана схема аспирационной установки обеспыливания транспортных механизмов с одной ступенью очистки в мокром циклоне СИОТ и с двумя ступенями очистки. При двухступенчатой очистке в качестве первой ступени устанавливают батарею циклонов БЦ или группу циклонов типа ЦН, а на второй ступени – мокрый пылеуловитель типа МНР.
| |
| Рисунок 10.1. Схема аспирационной установки транспортных механизмов: а - с одной ступенью очистки воздуха; б - с двумя ступенями очистки воздуха типа СИОТ; 1- укрытие конвейеров; 2 - воздухоприемники; 3 - газопромыватель с циклоном; 4 - вентилятор; 5 - батарейный циклон типа БЦ, ЦН; 6 - мокрый пылеуловитель типа МПР. |
Упрощение технологических схем на поверхности шахт позволит уменьшить количество точек пылеобразования, а укрупнение, централизация углескладского и углепогрузочного хозяйства даст возможность применять высокопроизводительное, достаточно эффективное по технико-экономическим показателям пылеулавливающее оборудование, улучшить эксплуатацию и контроль за его работой.
Так как эффективность мокрых способов пылеулавливания значительно возрастает с укрупнением частиц пыли, поэтому в первую очередь следует различными способами укрупнять улавливаемые частицы: коагуляцией в ионном поле, мокрой коагуляцией, звуковой и ультразвуковой коагуляцией.
По принципу действия мокрые пылеуловители разделяют на четыре группы:
- пленочные, в которых вода стекает по стенкам в виде водяных пленок; в них пыль оседает и движется вместе с водой (шламы);
- орошаемые, в которых жидкость образует при стекании водяную завесу, через которую проходит запыленный поток воздуха;
- комбинированные, совмещающие два первых способа;
- мокрые фильтры, в которых запыленный воздух пропускают через слой воды или пены.






