Контрольные вопросы
Таблица 2
Таблица 1
ХАРАКТЕРИСТИК НАНОМАТЕРИАЛОВ
ОСОБЕННОСТИ ХИМИЧЕСКИХ И ФИЗИЧЕСКИХ
Лекция 18. Сравнительные технические характеристики наноматериалов
Вопросы: 1. Температуроустойчивые стеклокерамические и стеклокристаллические покрытия для химической и пищевой промышленности.
2. Высококремнеземистые волокна и материалы на их основе.
3. Ресурсосберегающие стеклообразные пеноматериалы.
4. Стеклообразные и ситалловые оптически прозрачные материалы.
5. Новые научные направления и технологии XXI века.
Сравнение технических характеристик материалов, которые будут достигнуты в ближайшее время в нашей стране. с лучшими мировыми образцами приведено в табл.1
Сравнение технических характеристик материалов
| Технические характеристики, которые будут достигнуты в ближайшее время | Современный уровень технических характеристик материалов |
| 1. Температуроустойчивые стеклокерамические и стеклокристаллические покрытия для химической и пищевой промышленности. 1. Разработка рецептуры и технологии нанесения гетерогенных покрытий для автоклавов и реакционных камер: химическая устойчивость в 20%-ной соляной кислоте – 0,05 – 0,1 мг/см2·ч., сопротивление термоудару – 200 °С, температура формирования на сталь – до 780 °С. 2. Разработка рецептуры и технологии нанесения антикоррозионных покрытий на железо, титан, никель с службой эксплуатации при 1250 °С в течение 2000 ч. | 0,1 мг/см2·ч 120°С 780 – 800°С. 1000 оС |
| 2. Многофункциональные высококремнеземистые волокна и материалы на их основе 1. Разработка технологии фильтровального мате- риала для тонкой очистки металлов и носителей катализаторов при температуре эксплуатации 1100 - 1200°С и теплопроводности 0,15 Вт/м∙ºС. | 900°С 0,25 Вт/м∙ºС |
| Аморфнокристаллические материалы нового поколения, получаемые спеканием стекол 1. Разработка технологии биоимплантантов и кост- ных остеопротезов, насадок параболических антенн спутниковой связи, детекторов теплового излучения: объемная масса 1,0 – 1,2 т/м3, удельная пористость не выше 40 %, коэффициент термического расширения (90 – 120)·10-7 К-1, теплопроводность 0,6 – 0,8 Вт/м·ºС. | 1,5 т/м3 45 – 50 % 140·10-7 К-1 1,0 Вт/м·ºС |
| 3. Ресурсосберегающие стеклообразные материалы 1. Разработка тепло- и звукоизолирующих материалов на основе пеностекла: плотность – 0,2 т/м3, прочность на изгиб – 100 МПа, на сжатие – 50 МПа, коэффициент звукопоглощения при 250 – 400 Гц –0,45, теплопроводность – 0,1 Вт/м∙ºС | 0,25–0,3 т/м3 50–100 МПа 0,25 0,2 Вт/м∙ºС |
| 4. Стеклообразные и ситалловые оптически прозрачные материалы 1. Разработка технологии оптических материалов для медицины и новой техники на основе фосфатных, силикофосфатных и других стекол: электрооптических стекол с величиной управляющего поля в 10 В/мкм; магнитооптических стекол с постоянной Верде до 0,36, лазерных стекол с порогом оптического пробоя до 15 Дж/см2, материалов для термостойких светофильтров с интегральным пропусканием в 90 % и термостойкостью 700 °С. | 12 В/мкм 0,32 5–10 Дж/см2 90 % и 400°С |
Дальнейшее развитие перспективных направлений научных исследований может привести к середине ХХI века к созданию новых керамических и стеклокристаллических материалов и технологий, способствующих развитию новых отраслей промышленности, обеспечивающих улучшение качества жизни человека и повышение экологической безопасности страны (табл. 2).
Новые научные направления и технологии ХХI века
| Новые научные направления и технологии | Области использования | Эффект |
| 1. Развитие принципов конвергенции неорганических, органических и биологических материалов | Энергетические установки нового типа, системы утилизации всех видов отходов, интенсификация производства биофункциональных материалов | Создание высокоэффективной экологически чистой энергетики, экологически здоровой среды обитания |
| 2. Развитие мониторинга оксидных расплавов на основе нового стандарта для расплавов оксидных систем | Совершенствование технологий производства цемента, стекла, керамики, металлов | Сокращение энергозатрат на единицу продукции, повышение безопасности производства |
| 3. Создание теоретических представлений о <пятом> состоянии вещества. Исследования физико-химических процессов в системах с наноразмерными величинами частиц (менее 10 нм) | Создание нового поколения материалов и их технологий, а также новых машин и оборудования с экстремальными свойствами. Создание многофункциональных микропроцессоров | Развитие новых отраслей промышленности, в том числе производства бытовых приборов |
| 4. Создание программы компьютерного моделирования материалов, изделий и конструкций на основе развития принципов моделирования структуры и свойств кристаллических и аморфных сред | Дизайн и конструирование новых материалов, машин и механизмов, их испытание в виртуальном пространстве | Улучшение условий труда и повышение производительности труда. Сокращение сроков разработки материалов в автоматизированном процессе |
1. Температуроустойчивые стеклокерамические и стеклокристаллические
покрытия для химической и пищевой промышленности.
2. Высококремнеземистые волокна и материалы на их основе.
3. Ресурсосберегающие стеклообразные пеноматериалы.
4. Стеклообразные и ситалловые оптически прозрачные материалы.
5. Новые научные направления и технологии XXI века.
В народном хозяйстве развитых стран в больших количествах расходуется теплота, которая используется потребителями для различных теплотехнических нужд как на промышленных объектах, так и в быту.
Особенностью этого использования является то, что теплота при этомтребуется обычно невысокого потенциала (50—150° С) различных теплоносителей (пара, воздуха, горячей воды и т. д.). Получение теплоты для этих целей обычно производится путем сжигания органического топлива. Однако такой способ мало экономичен из-за высоких темпера тур сгорания топлива (1200—1800° С). Большой перепад температур между нагревающим и нагреваемым телами приводит к его значительному перерасходу. С точки зрения термодинамики это приводит к обесцениванию теплоты, получаемой при сгорании топлива, и обусловлено существенной степенью необратимости процесса теплообмена.
Между тем в природе есть большое количество источников низкопотенциальной теплоты (гейзеров, геотермальных вод, солнечной энергии, теплота воды в реках, озёрах и морей). В промышленности сбрасывается в окружающую среду огромное количество низкопотенциальной теплоты, которую уже невозможно использовать в традиционных технологических процессах и быту. Эти тепловые ресурсы называются вторичными (побочными) энергоресурсами (ВЭР). К ним относится теплота с потенциалом выше температуры окружающей среды (от 20о С и выше). Эта теплота получается после промышленных технологий и после утилизации вызывает тепловое загрязнение природы, способствующее парниковому эффекту и мировому потеплению климата.
Эффективным способом в устранении этого явления служит применение так называемого теплового насоса. Основной задачей, решаемой с помощью теплового насоса, является не только использование ВЭР, но и бесплатную энергию окружающей среды.
Тепловой насос представляет собой обычную холодильную установку.
|
Тепловой насос основан на принципе холодильной машины и состоит из, испарителя 1, где отбирается теплота q0 от источника низкопотенциальной теплоты, компрессора 2, который осуществляет сжатие пара холодильного агента, циркулирующего в системе, конденсатора 3, в котором конденсат отдаёт теплоту в сеть системы отопления, и регулирующего вентиля 4, где происходит расширение холодильного агента (с одновременным испарением жидкой фазы и охлаждением агента). Испаритель теплового насоса размещается в любой среде ВЭР, например, в жидкости, охлаждающей турбины, или в водоёмах с термальной водой.
Полезным эффектом теплового насоса является теплота, отданная в конденсаторе, т.е. обозначаемая в холодильном цикле, как q2. Эффективность теплового насоса оценивается коэффициентом преобразования ω.

Установим связь коэффициентом преобразования теплового насоса с холодильным коэффициентом холодильной установки.

Таким образом, коэффициентом преобразования теплового насоса всегда на единицу больше холодильного коэффициента холодильной установки.
Величина холодильного коэффициента холодильной машины зависит от температурных условий, в которых она работает. Чтобы приблизить термический к. п. д. цикла теплового насоса к к. п. д. цикла Карно в том же интервале температур, целесообразно осуществлять цикл с влажным паром какого-либо вещества. Такой цикл отличается от цикла парокомпрессионной холодильной машины только диапазоном температур. В этом случае цикл теплового насоса принципиально представляет собой обращенный цикл паросиловой установки, работающей с влажным паром.
Чем выше температура среды, от котороы отбирается теплота (например, холодной воды в водоеме) и ниже температура, до которой должна быть нагрета вода в магистрали отопительной системы, тем выше холодильный коэффициент, а следовательно, и коэффициент преобразования. Для некоторых средних условий его величина может быть порядка 3—5.
Выгоду от применения теплового насоса для отопления можно наглядно оценить, сравнивая эту систему с системой, в которой для отопления использовался бы электрообогрев. Так как в электронагревателях электроэнергия целиком превращается в теплоту (коэффициент преобразования а ==1,0), то очевидно, что эффективность таких установок 3 – 5 раз ниже, чем в тепловом насосе. Поэтому непосредственное использование электроэнергии в нагревательных устройствах, с энергетической точки зрения крайне невыгодно.
Промышленностью выпускается тепловой насос НТ-80, предназначенный для тепло-, хладо- и комбинированного теплохладоснабжения различных объектов. В режиме теплоснабжения насос обеспечивает получение горячей воды с температурой 45—48 °С при температуре низкопотенциального теплоносителя не ниже 6 °С. В режиме хладоснабжения — получение холода с температурой до —25 °С насос обеспечивает при охлаждении конденсатора водой с температурой не выше 30 °С. В качестве источника низкопотенциальной теплоты в тепловом насосе используют водопроводную, артезианскую и термальную воду с температурой от 10 до 40 °С. Хладагентом в установке является хладон Ф-12. Теплопроизводительность при температуре кипения = 6°С и температуре конденсации = 61 °С составляет 130кВт. Холодопроизводительность при температуре кипения = 5°С и температуре конденсации == 35°С составляет 150 кВт.
|
| Рис. |
Весьма выгодно совмещения теплового насоса с паровой холодильной установкой, в которой теплота q2 на выходе блока II является ВЭР.
Рассмотрим пример. На рис. блоками I и II обозначены соответственно тепловой насос и холодильная установка.

Связь с коэффициентом преобразования

|
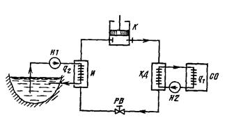
| Рис. 23.12. Схема теплового насоса |
Тепловые насосы. Большие перспективы в качестве источников холода и теплоты низкого и даже среднего (до 300 °С) потенциала имеют тепловые насосы. Основным элементом теплонасосной установки является компрессор или абсорбционная машина.
На рис. 23.12 приведена схема теплового насоса для отопления здания. Элементы схемы: компрессор К,, конденсатор КД, регулирующий вентиль РВ и испаритель И составляют обычную компрессионную холодильную установку. Испарение холодильного агента в испарителе происходит за счет теплоты, получаемой от холодной воды, и энергии, подводимой к компрессору.
Насосом Н1 вода, служащая источником низкопотенциальной теплоты, подается в испаритель. В конденсаторе холодильный агент отдает часть своей теплоты воде из системы отопления СО.
Циркуляция подогретой воды осуществляется насосом Н2. Промышленностью выпускается тепловой насос НТ-80предназначенный для тепло-, хладои теплохладоснабжения различных объектов. В режиме теплоснабжения насос обеспечивает получение горячей воды с температурой 45—48 °С при температуре низкопотенциального теплоносителя не ниже 6 °С; в режиме хладоснабжения — получение холода с температурой до —25 °С при охлаждении конденсатора водой с температурой не
выше 30 °С. В качестве источника низкопотенциальной теплоты в тепловом насосе используют водопроводную, артезианскую и термальную воду с температурой от 10 до 40 °С. Хладагентом в установке является хладон Ф-12. Теплопроизводительность при температуре кипения /и=6°С и температуре конденсации <к==61 °С составляет 130кВт. Холодопроизводительность при температуре кипения (ц=5°С и температуре конденсации /к =35 °С составляет 150 кВт.







