Контрольные вопросы
Таблица 1
Сравнительные характеристики наноматериалов
В табл. 1 приведено сравнение технических характеристик материалов, по сравнению с лучшими мировыми образцами, которые будут достигнуты в ближайшее время в нашей стране.
Сравнение технических характеристик материалов
| Технические характеристики, которые будут достигнуты в ближайшее время | Современный уровень технических характеристик материалов |
| Трансформационно-упрочненные керамические материалы 1. Разработка керамических материалов с прочностью до 800 − 3000 МПа, трещиностойкостью до 20 МПа·м0,5 и допустимой температурой эксплуатации до 800 °С. | 800 − 1500 МПа 8 – 15 МПа∙м0,5 600 – 800 °С |
| Конструкционные материалы, армированные дискретными волокнами 1. Разработка керамических материалов, армированных волокнами нитрида кремния с прочностью 1000 МПа, трещиностойкостью более 15 МПа·м0,5, температурой эксплуатации более 1200°С. | 700 – 800 МПа 7 – 10 МПа·м0,5 800 – 1000°С |
| Конструкционные материалы, армированные непрерывными волокнами 1. Разработка материалов с включением непре- | |
| рывных волокон с прочностными характеристиками более 1000 МПа, с трещиностойкостью более 30 МПа и с температурой эксплуатации более 1400 °С. | 300 – 800 МПа 15 – 20 МПа·м0,5 1200 °С |
| Конструкционные материалы на основе нитрида и карбида кремния 1. Разработка плотных керамических материалов с прочностью более 1000 – 1500 МПа, с трещиностойкостью до 25 МПа и с температурой эксплуатации до 1350 °С. | 800 – 1000 МПа 6 – 12 МПа·м0,5 800 – 1200 °С |
| Материалы на основе ультрадисперсной керамики 1. Разработка технологии керамических материалов на основе стабилизированного диоксида циркония с прочностью до 1500–1600 МПа, трещиностойкостью до 30 МПа | 1000 – 1200 МПа 10 – 15 МПа·м0,5 20 – 700 °С |
| Стекломатериалы для решения экологических задач и обеспечения пищевой промышленности 1. Разработка стеклообразных матриц для фиксации РАО: количество включаемых РАО – 30%, скорость выноса радионуклидов –1 08г/см2 в сутки, температура жидкой и твердой флюсовки 1000 °С 2. Разработка технологии невозвратных контейнеров для хранения РАО на основе стеклокристаллических материалов: контейнеры емкостью 0,3 – 0,9 м3 с днищем 3. 3. Разработка технологии облегченной стеклотары вместимостью 0,33л (310г). Экономия стекломассы на 1 тонну изделий | До 20 % 106 г/см2 сутки 1100 °С Аналог отсутствует 330 г 120 кг |
| Композиционные материалы и защитные покрытия в системе карбид кремния-углерод 1. Разработка композиционных материалов для создания защитных покрытий на основе карбида кремния с прочностными характеристиками до 1000 МПа, трещиностойкостью до 15 МПа·м0,5 и температурой эксплуатации до 1600 – 1700 °С. | 400–600 МПа 4–8 МПа·м0,5 1300 °С |
1 Плазменный способ получения чистых ультардисперсных тугоплавких оксидов.
|
|
|
|
|
|
2. Химическая реакция при плазмохимическом синтезе тугоплавких оксидов.
3. Особенности алюмомагнезиальной керамики.
4. Способ получения высокоплотной алюмомагнезиальной керамики из
нанопорошков.
5. Особенности образования шпинельной фазы алюмомагнезиальной
керамики.
6. Свойства трансформационно-упрочненной керамики.
7. Конструкционные материалы, армированные дискретными волокнами.
8. Конструкционные материалы, армированные непрерывными волокнами.
9. Конструкционные материалы на основе нитрида и карбида кремния.
10. Материалы на основе ультрадисперсной керамики.
11. Стекломатериалы для решения экологических задач и обеспечения
пищевой промышленности.
12. Композиционные материалы и защитные покрытия в системе карбид
кремния-углерод.
В народном хозяйстве развитых стран в больших количествах расходуется теплота, которая используется потребителями для различных теплотехнических нужд как на промышленных объектах, так и в быту.
Особенностью этого использования является то, что теплота при этомтребуется обычно невысокого потенциала (50—150° С) различных теплоносителей (пара, воздуха, горячей воды и т. д.). Получение теплоты для этих целей обычно производится путем сжигания органического топлива. Однако такой способ мало экономичен из-за высоких темпера тур сгорания топлива (1200—1800° С). Большой перепад температур между нагревающим и нагреваемым телами приводит к его значительному перерасходу. С точки зрения термодинамики это приводит к обесцениванию теплоты, получаемой при сгорании топлива, и обусловлено существенной степенью необратимости процесса теплообмена.
Между тем в природе есть большое количество источников низкопотенциальной теплоты (гейзеров, геотермальных вод, солнечной энергии, теплота воды в реках, озёрах и морей). В промышленности сбрасывается в окружающую среду огромное количество низкопотенциальной теплоты, которую уже невозможно использовать в традиционных технологических процессах и быту. Эти тепловые ресурсы называются вторичными (побочными) энергоресурсами (ВЭР). К ним относится теплота с потенциалом выше температуры окружающей среды (от 20о С и выше). Эта теплота получается после промышленных технологий и после утилизации вызывает тепловое загрязнение природы, способствующее парниковому эффекту и мировому потеплению климата.
Эффективным способом в устранении этого явления служит применение так называемого теплового насоса. Основной задачей, решаемой с помощью теплового насоса, является не только использование ВЭР, но и бесплатную энергию окружающей среды.
Тепловой насос представляет собой обычную холодильную установку.
|
Тепловой насос основан на принципе холодильной машины и состоит из, испарителя 1, где отбирается теплота q0 от источника низкопотенциальной теплоты, компрессора 2, который осуществляет сжатие пара холодильного агента, циркулирующего в системе, конденсатора 3, в котором конденсат отдаёт теплоту в сеть системы отопления, и регулирующего вентиля 4, где происходит расширение холодильного агента (с одновременным испарением жидкой фазы и охлаждением агента). Испаритель теплового насоса размещается в любой среде ВЭР, например, в жидкости, охлаждающей турбины, или в водоёмах с термальной водой.
Полезным эффектом теплового насоса является теплота, отданная в конденсаторе, т.е. обозначаемая в холодильном цикле, как q2. Эффективность теплового насоса оценивается коэффициентом преобразования ω.
|
|
|

Установим связь коэффициентом преобразования теплового насоса с холодильным коэффициентом холодильной установки.

Таким образом, коэффициентом преобразования теплового насоса всегда на единицу больше холодильного коэффициента холодильной установки.
Величина холодильного коэффициента холодильной машины зависит от температурных условий, в которых она работает. Чтобы приблизить термический к. п. д. цикла теплового насоса к к. п. д. цикла Карно в том же интервале температур, целесообразно осуществлять цикл с влажным паром какого-либо вещества. Такой цикл отличается от цикла парокомпрессионной холодильной машины только диапазоном температур. В этом случае цикл теплового насоса принципиально представляет собой обращенный цикл паросиловой установки, работающей с влажным паром.
Чем выше температура среды, от котороы отбирается теплота (например, холодной воды в водоеме) и ниже температура, до которой должна быть нагрета вода в магистрали отопительной системы, тем выше холодильный коэффициент, а следовательно, и коэффициент преобразования. Для некоторых средних условий его величина может быть порядка 3—5.
Выгоду от применения теплового насоса для отопления можно наглядно оценить, сравнивая эту систему с системой, в которой для отопления использовался бы электрообогрев. Так как в электронагревателях электроэнергия целиком превращается в теплоту (коэффициент преобразования а ==1,0), то очевидно, что эффективность таких установок 3 – 5 раз ниже, чем в тепловом насосе. Поэтому непосредственное использование электроэнергии в нагревательных устройствах, с энергетической точки зрения крайне невыгодно.
Промышленностью выпускается тепловой насос НТ-80, предназначенный для тепло-, хладо- и комбинированного теплохладоснабжения различных объектов. В режиме теплоснабжения насос обеспечивает получение горячей воды с температурой 45—48 °С при температуре низкопотенциального теплоносителя не ниже 6 °С. В режиме хладоснабжения — получение холода с температурой до —25 °С насос обеспечивает при охлаждении конденсатора водой с температурой не выше 30 °С. В качестве источника низкопотенциальной теплоты в тепловом насосе используют водопроводную, артезианскую и термальную воду с температурой от 10 до 40 °С. Хладагентом в установке является хладон Ф-12. Теплопроизводительность при температуре кипения = 6°С и температуре конденсации = 61 °С составляет 130кВт. Холодопроизводительность при температуре кипения = 5°С и температуре конденсации == 35°С составляет 150 кВт.
|
|
|
|
| Рис. |
Весьма выгодно совмещения теплового насоса с паровой холодильной установкой, в которой теплота q2 на выходе блока II является ВЭР.
Рассмотрим пример. На рис. блоками I и II обозначены соответственно тепловой насос и холодильная установка.

Связь с коэффициентом преобразования

|
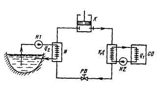
| Рис. 23.12. Схема теплового насоса |
Тепловые насосы. Большие перспективы в качестве источников холода и теплоты низкого и даже среднего (до 300 °С) потенциала имеют тепловые насосы. Основным элементом теплонасосной установки является компрессор или абсорбционная машина.
На рис. 23.12 приведена схема теплового насоса для отопления здания. Элементы схемы: компрессор К,, конденсатор КД, регулирующий вентиль РВ и испаритель И составляют обычную компрессионную холодильную установку. Испарение холодильного агента в испарителе происходит за счет теплоты, получаемой от холодной воды, и энергии, подводимой к компрессору.
Насосом Н1 вода, служащая источником низкопотенциальной теплоты, подается в испаритель. В конденсаторе холодильный агент отдает часть своей теплоты воде из системы отопления СО.
Циркуляция подогретой воды осуществляется насосом Н2. Промышленностью выпускается тепловой насос НТ-80предназначенный для тепло-, хладои теплохладоснабжения различных объектов. В режиме теплоснабжения насос обеспечивает получение горячей воды с температурой 45—48 °С при температуре низкопотенциального теплоносителя не ниже 6 °С; в режиме хладоснабжения — получение холода с температурой до —25 °С при охлаждении конденсатора водой с температурой не
выше 30 °С. В качестве источника низкопотенциальной теплоты в тепловом насосе используют водопроводную, артезианскую и термальную воду с температурой от 10 до 40 °С. Хладагентом в установке является хладон Ф-12. Теплопроизводительность при температуре кипения /и=6°С и температуре конденсации <к==61 °С составляет 130кВт. Холодопроизводительность при температуре кипения (ц=5°С и температуре конденсации /к =35 °С составляет 150 кВт.







