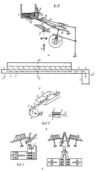
На рис. 40 показана принципиальная технологическая схема подборочной машины горизонтально-линейного построения.
Тетради укладываются вертикальными стопами в магазины 1 (рис. 40 а) в соответствии с их последовательностью в подбиваемом блоке. Присос 13 отгибает нижнюю тетрадь вниз, а качающийся крючок 12 приподнимает стопу вверх. Щипцы 14 захватывают тетрадь за корешок. Электрическое контактное устройство 15 подает сигнал и останавливает машину, если в щипцах 14 не окажется тетради или в них попадут две или более тетрадей. Управляемая кулаком 11 направляющая 10 открывает и закрывает щипцы 14. Тетрадь переносится щипцами 14 на пластину 9, а затем снимается поводками 3 сборочного транспортера 2 и движется ими по желобу 8 мимо других магазинов. Пластины 9 обеспечивают правильную укладку тетрадей в стопе, а наклонный желоб 8 способствует сталкиванию тетрадей по корешкам в процессе транспортировки.
Сборочный транспортер 2 (рис. 40 б), представляющий собой бесконечную стальную ленту или цепь с поводками, движется непрерывно с такой скоростью, при которой каждый поводок за один кинематический цикл перемещается на расстояние, равное ширине одного магазина. Таким образом, когда поводок пройдет вдоль ряда самонакладов, он соберет по одной тетради из каждого магазина, т. е. полный комплект тетрадей одного блока. В некоторых вариантах сборочному транспортеру нужно придавать удвоенную скорость. При этом четные поводки будут собирать тетради из четных магазинов, а нечетные − из нечетных, так как они будут проходить за один цикл расстояние, равное ширине двух магазинов.

Рис. 40. Принципиальная технологическая схема подборочной машины горизонтально-линейного построения
Сборочный транспортер 2 (рис. 40 в) по наклонному желобу 8 перемещает комплекты к ускоряющему транспортеру 5. Тетради выравниваются корешками о боковую стенку наклонного желоба 8, а головками − о поводки сборочного транспортера 2. Ускоряющий транспортер 5 предназначен для быстрого освобождения сборочного транспортера 2 от комплектов тетрадей, чтобы его поводки могли опуститься на приводном шкиве. Далее происходит передача комплектов в выводное устройство, которое выкладывает комплекты на приемный стол 7, поворачивая их из горизонтального в вертикальное положение и располагая корешком вниз. Для ручной подкладки тетрадей используется станция 4, если число тетрадей в блоке превышает число магазинов.
Кинематическая схема приемного устройства представлена на рис. 41. На приемный стол 12 подобранные комплекты тетрадей выводятся гребенкой 1, совершающей качательные движения снизу вверх и обратно с небольшими выстоями в крайних положениях. Блоки поступают на гребенку 1 от сборочного транспортера при помощи каретки, движущейся возвратно-поступательно. Кулак 2, находящийся на главном валу машины, сообщает колебательное движение гребенке 1 через ролик 4 и тягу 6. Пружина 5 возвращает механизм в исходное положение. Чтобы при опускании гребенки 1 комплекты тетрадей не падали назад, они удерживаются пальцами 10. При подъеме гребенки 1 с тетрадями к приемному столу 12 пальцы 10 выстаивают внизу и пропускают гребенку 1 с комплектом. Стопа тетрадей вместе с угольником 11 под нажимом гребенки 1 перемещается по столу 12. Затем пальцы 10 поднимаются, а гребенка 1 возвращается в исходное нижнее положение. Подъем пальцев 10 осуществляется кулаком 3 через рычаги 7 и 8. С помощью пружины 9 производится опускание механизма.
Для более удобного разделения комплектов в выводном устройстве предусмотрен подвижный упор, ограничивающий движение комплектов в продольном направлении. В нечетных циклах упор занимает удаленное по отношению к ускоряющему транспортеру положение, а в четных − приближенное. Расстояние между крайними положениями упора − 20−25 мм. Поэтому и комплекты тетрадей выводятся на приемный стол со смещением в головках на такое же расстояние.
В некоторых подборочных машинах выводное устройство бывает двусторонним (рис. 40 г). В нем комплекты поочередно выводятся на два расположенных напротив друг друга приемных стола.

Рис. 41. Кинематическая схема приемного устройства
Разделение комплектов по противоположным приемкам или их смещение в головках в одной приемке позволяет использовать подборочную машину для комплектовки двух блоков сразу, если число тетрадей в комплекте меньше, чем количество магазинов в машине.
Подборочные машины могут иметь две приемки, расположенные по обеим сторонам сборочного транспортера. В зависимости от производственных условий комплекты можно выводить вправо или влево, меняя направление движения сборочного транспортера. Особенно это удобно в том случае, если подборочная машина входит в состав поточной линии или агрегатирована с другой машиной.
К подборочным машинам предъявляются следующие требования:
− обеспечение компактности и правильной последовательности тетрадей в подобранных блоках;
− автоматическая остановка машины при пропуске тетради или подаче более одной тетради;
− сталкивание подобранных блоков по корешку и головке;
− отсутствие поврежденных тетрадей;
− выкладка подобранных блоков удобная для контроля и съема блоков;
− удобство загрузки тетрадей в магазины во время работы;
− удобство регулировок в машине в зависимости от формата тетрадей;
− надежность работы машины;
− удобство устранения неполадок и ремонта.
Подборочные машины обычно состоят из:
− магазинов для тетрадей;
− механизмов для отделения тетрадей;
− механизмов для вывода тетрадей;
− блокировочных устройств;
− сборочного транспортера;
− приемного устройства блоков;
− привода машины;
− воздушного компрессора.
Подборочные машины комплектуются по 12, 18, 24, 30 и 36 подборочных станций.






