Требования к ниткошвейным машинам
Ниткошвейные машины должны обеспечивать прочное и долговечное скрепление книжных блоков.
К ниткошвейным машинам и их продукции предъявляются следующие требования:
− возможность и удобство настройки на заданные разновидности стежков и швов;
− правильная последовательность размещения тетрадей в книжном блоке;
− достаточное и равномерное напряжение нитей;
− отсутствие или минимальное количество отрывов нитей при работе;
− правильное размещение корешкового материала и отсутствие в нем морщин;
− удобство укладки тетрадей в машину и съема сшитых блоков;
− высокая надежность работы;
− автоматизация всех дополнительных операций;
− остановка при неполадках.
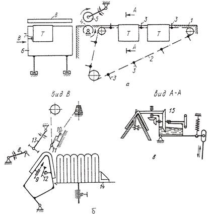
Упрощенная технологическая схема ниткошвейной машины показана на рис. 42.
Очередная тетрадь Т (рис. 42 а) отделяется от подобранного комплекта или вручную в полуавтоматических машинах, или самонакладом в автоматах, раскрывается посередине и подается на седлообразный неподвижный стол 1, внутри которого движется цепной транспортер 2. Он в соответствии со скоростью и цикличностью работы машины поводками подает тетради к вталкивающим роликам 4 и 5, непрерывно вращающимся со скоростью, которая изменяется в соответствии с форматом и массой сшиваемых тетрадей. Верхний ролик 5 периодически перемещается вверх и вниз.
|
|
|

Рис. 42. Упрощенная технологическая схема ниткошвейной машины
Когда качающийся стол 6 занимает исходную нижнюю позицию, верхний ролик 5 опускается на тетрадь и упруго прижимает ее к ролику 4, в результате чего тетради сообщается линейная скорость вращающихся роликов 4 и 5 и она переходит на качающийся стол 6. Тетрадь останавливается при касании головкой о передний упор 7. Сверху на тетрадь опускается качающийся угольник 8, который выравнивает тетрадь по корешку, совмещая ее корешковый сгиб с гребнем качающегося стола 6.
Качающийся стол 6 начинает подниматься. Во время подъема передний упор 7 выравнивает тетрадь по головке, подтягивая ее к себе или отодвигая на неизменное расстояние и компенсируя тем самым возможные отклонения в положении тетрадей на качающемся столе 6. В начале верхнего выстоя качающегося стола 6 проколы, т. е. прокалывающие иглы 9 (рис. 42 б), изнутри в тех местах, где в тетрадь должны войти иглы и крючки, прокалывают сгиб, образуя отверстия, что устраняет технологические нагрузки, неизбежные при прокалывании тетради самими швейными инструментами — иглами и крючками. Нитки из-за сил трения, возникающих при прокалывании бумаги самими иглами, будут рваться, а крючки, выходя из тетради, своим зевом могут вырывать клочья бумаги. Точного взаимного положения всех швейных инструментов и их надежного взаимодействия, от которого зависит образование стежков, из-за упругого воздействия на них сгиба тетради достигнуть трудно, а иглы и крючки могут ломаться.
|
|
|
Швейная каретка 10, на которой установлены швейные инструменты 11, опускаясь, вводит их концы через отверстия внутрь тетради. Шиберы 12, совершающие сложное перемещение с качением, захватывают нити с игл, растягивают их до крючков и занимают такое положение, при котором нити попадают в зев поднимающихся крючков. Швейная каретка 10 поднимается, и получившиеся стежки туго затягиваются нитепроводящей системой. Тетрадь, удерживаемая стежками, снимается с качающегося стола 6 при его опускании. Качающаяся планка 13 проталкивает тетрадь на приемный стол 14.
При сшивании блока тетради могут приклеиваться друг к другу по корешковым полям с помощью клеевого аппарата. Как правило, первая тетрадь приклеивается ко второй и последняя к предпоследней. Это необходимо для повышения прочности крайних тетрадей с блоком, так как они в процессе последующей технологической обработки и при транспортировке блоков испытывают наибольшие сдвигающие усилия.
В машинах старых конструкций клей на корешковые поля приклеиваемых тетрадей наносился качающейся планкой 13 после пришивания проталкивающей тетради на приемный стол 14. Планка 13 поворачивалась периодически включаемым механизмом на 180°, снимала слой клея с валика клеевого аппарата, расположенного в зоне качания стола, наносила клей на тетрадь с одновременным проталкиванием ее на приемный стол 14 и, возвратившись в исходное положение, снова поворачивалась на 180°.
В машинах новых конструкций клеевой аппарат 15 (рис. 42 в) вынесен в зону неподвижного стола и видоизменен. Нанесение клея на корешковое поле тетрадей осуществляется вращающимся роликом клеевого аппарата 15 во время транспортировки тетрадей по неподвижному столу. Клеевой аппарат 15 при включении управляющего электромагнита качается по направлению к тетради, и верхний ролик с помощью пружины упруго прижимается к движущейся тетради, нанося клей на ее корешковое поле.

Рис. 43. Механизм подачи корешкового материала
Проталкивающая планка в этих машинах выполняет только свою основную функцию − продвигает тетрадь, а вместе с ней и все сшитые блоки на приемный стол. Величина проталкивания тетрадей планкой изменяется в зависимости от толщины сшиваемых тетрадей, что наряду с другими факторами обеспечивает плотность сшитых блоков. Если толщина тетради меньше величины проталкивания, то блок будет рыхлым; если значительно больше, то нитки будут рваться.
При шитье с корешковым материалом тетрадь после пришивания и проталкивания удерживается на приемном столе за счет прикрепления нитками к ленте материала. При шитье без корешкового материала устанавливаются брошюрные иглы, приподнимающиеся при проталкивании тетради и удерживающие ее затем от опрокидывания назад. Когда заканчивается шитье одного блока, следует холостой стежок, т. е. механизмы машины совершают обычный цикл, а тетрадь не подается. Такой холостой стежок необходим для завязывания нитей в узлы и их закрепления после каждого сшитого блока.
В этот момент включается механизм разрезки нитей между блоками и, если машина работает на переплетном шитье, механизм подачи корешкового материала (рис. 43), который закладывается между блоками в форме петли. 3атем петля симметрично разрезается ножом вручную, так как надежных автоматических устройств для разрезки марли пока не создано.






