Каждая точка шины питания, к которой подключаются соответствующие выводы ИС, должна иметь в идеале один и тот же потенциал, согласно выполняемым функциям («питание» или «земля»). Напряжение питания, подаваемое на ИС, не должно выходить за пределы, указанные в ТУ на ИС. Появление помех в шинах питания может привести к сбои в работе САУ ЛА. Основные виды помех в шинах питания: статические и импульсные.
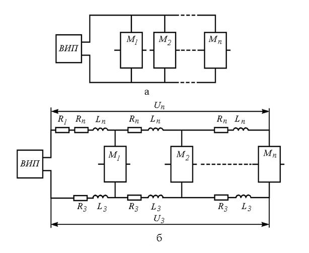
Статические помехи обусловлены падением напряжения на активном сопротивлении шин «земля» и «питание» при протекании по ним постоянных токов. На рис. 3.26 приведена схема, состоящая из Мп модулей с общим питающим напряжением и общим нулевым потенциалом («землей»).
Рис. 3.26. Принципиальная (а) и расчетная (б) схемы подвода «питания» и «земли»: ВИП – вторичный источник питания; R1 – выходное сопротивление вторичного источника питания; RП и RЗ – активное сопротивление участка шины “питание” и “земля”; LП, и LЗ – индуктивность участка шины “питание” и “земля” |
При протекании тока через модули на шинах «питание» и «земля» будет иметь место падение напряжений. В зависимости от того, через какие модули в данный момент проходят токи, напряжение питания на каждом из модулей может иметь те или иные отклонения. Очевидно, что в наихудшем режиме, с точки зрения помехозащищенности работает n -й модуль. Если функционирует модуль Мп, а остальные находятся в режиме ожидания, то имеет место падение напряжений UП и UЗ.
Основная конструктивная мера по уменьшению статических помех – выполнение проводников, выполняющих функции общих шин питания, по возможности короткими, а их поперечное сечение возможно большими.
Импульсные помехи обусловлены, главным образом,кратковременными возрастаниями («бросками») токов потребления ИС при переключении их из одного логического соединения в другое. Импульсные помехи также могут проникать в шины питания извне, например, из источника питания.
Среди цифровых ИС наибольший уровень помех при переключении создают ТТЛ-интегральные схемы. На рис. 3.27 показана работа выходного каскада ТТЛ-схем, включающего в себя составной инвертор.
| ||
| а | б | б |
| Рис. 3.27. Работа выходного каскада ТТЛ-схем: а – состояние статической единицы; б – состояние статического нуля; в- стадия переключения из «0» в «1» или из «1» в «0» |
В состоянии статической единицы транзисторный ключ ТК1 открыт, а ТК2 закрыт, обеспечивая на выходе высокое напряжение Uвых. В состоянии статического нуля ТК1 закрыт, а ТК2 находится в режиме насыщения. Наиболее существенными причинами значительных перепадов токов являются сквозные токи, появляющиеся при переключении.
В определенный момент оба ключа оказываются замкнуты. Это объясняется невозможностью быстрого выхода транзисторных ключей из режима насыщения. Образование импульсного сквозного тока Iскв при переключении ИС приводит к импульсному падению напряжения на обладающих индуктивностью шинах питания, определяемому как U = L (di/dt), где di/dt – производная индуктивного тока при коммутации.
Импульсные помехи в шинах питания могут приводить к сбоям в работе САУ ЛА по следующим причинам:
- изменение питающего напряжения ИС, превышающее установленный в ТУ допуск;
- импульсное падение напряжения на шине “земля”, которое может вызвать искажение информационного сигнала на входе ИС (в случаях когда информационный “0” соединен с шиной “земля”);
- перенос помех из шин питания в сигнальные цепи индуктивным или емкостным путем при больших скоростях изменения тока di/dt и напряжения du/dt.
Для снижения уровня помех в шинах питания применяются следующие схемно-конструктивные методы:
- уменьшение индуктивности шин питания с учетом взаимной магнитной связи прямого и обратного проводников;
- сокращение длин участков шин питания, которые являются общими для токов от различных ИС;
- снижение скорости изменения импульсных токов в шинах питания с помощью помехоподавляющих конденсаторов;
- рациональное размещение цепей питания на печатных платах.
Рис. 3.26. Принципиальная (а) и расчетная (б) схемы подвода «питания» и «земли»: ВИП – вторичный источник питания; R1 –






