Особенностью оптимизации режимов резания для большинства видов обработки на металлорежущих станках является необходимость определения дискретных значений параметров v и s, которые могут принимать конкретные значения из диапазона, определяемого кинематикой станка. Для построения математической модели процесса резания в этом случае используются ранее установленные зависимости для технических ограничений (10.3)–(10.4), (10.12), (10.14), (10.15). Однако, учитывая, что оценочные функции для частных критериев – максимальной производительности из формулы (8.9), минимальной себестоимости из (8.13) и компромиссного критерия
, (10.21)
где
;
;
,
- весовые коэффициенты, устанавливаемые на основе экспертных оценок;
;
; представляются в виде выражения F=F(v, s), все технические ограничения должны выражаться также через значения скорости резания v и подачу s.
Исключая технические ограничения по кинематике станка, можно получить следующие выражения:
1) ограничения по стойкости режущего инструмента
;
2) ограничения по мощности электродвигателя главного движения станка
;
3) ограничения по заданной производительности станка
;
4) ограничения по прочности режущего инструмента
;
5) ограничения по жесткости режущего инструмента
;
6) ограничения по жесткости заготовки
;
7) ограничения по прочности механизма станка
;
8) ограничения по требуемой шероховатости поверхности
.
Обозначим правые части неравенства соответственно
,
, …,
.
В качестве компромиссной целевой функции принимаем
(10.22)
где
– весовой коэффициент, определяющий долю влияния в функции F критерия оптимальности tшт.р и изменяющийся от 0 до 1;
;
;
;
;
tcp, Con.cp – средние арифметические значения tшт, Con на множестве значений пар (vi, sj).
Нетрудно заметить, что компромиссная целевая функция (10.22) в зависимости от коэффициента
может быть приведена к частному критерию оптимальности. Так, при значении
=0 она преобразуется в критерий «минимальная себестоимость», а при
=1 – критерий «максимальная производительность».
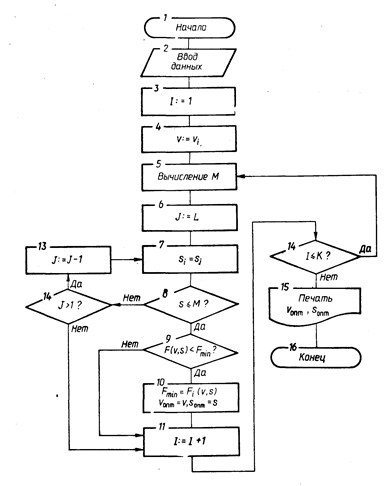
Из приведенного выше анализа поведения компромиссной целевой функции F в области технических ограничений видно, что алгоритм определения оптимальных значений v и s должен обеспечить нахождение точки касания целевой функции с одним из ограничений или точкой пересечения ограничения. Это достигается перебором значений vi и sj.
Перебор производится для значений v1, v2,..., vI. Для каждого vi перебором дискретных значений sj, начиная с наибольшего sl (что сокращает число точек перебора, так как оптимальные значения s лежат, как правило, в правой области технических ограничений), ищется максимальное sji, удовлетворяющее ограничению
sji £ M,
где
.
В полученной точке дискретных значений скорости (числа оборотов) и подачи вычисляется оценочная функция F(vi, sji). Далее выбирается минимум из значений F(vi, sji), для 1£ i£ I. Вышеописанный алгоритм представлен на рис. 10.3.

Рис.10.3. Схема алгоритма оптимизации режимов механической обработки для дискретных значений параметров v и s






