Из общего количества воды, потребляемой предприятиями черной металлургии из естественных источников, 4-6% составляют потери, связанные с испарением и каплеуносом в системах оборотного водоснабжения, потерями в технологических процессах, фильтрацией через грунт и др. Оставшаяся вода в зависимости от схемы водоснабжения (прямоточная, последовательная или оборотная) в тех или иных количествах возвращается в водоемы в виде сточных вод. Сточные воды металлургических заводов содержат железо, оксид кальция, углерод, хлориды, сульфаты, масла и другие токсичные вещества. В водоемах, куда сбрасываются стоки металлургических заводов, также могут наблюдаться повышение температуры воды и некоторое ухудшение кислородного режима.
В связи с этим сточные воды последовательно подвергаются механической и биологической очисткам и обеззараживанию.
Т. е. очистка сточных вод - обработка сточных вод с целью разрушения или удаления из них вредных веществ. Освобождение сточных вод от загрязнения - сложное производство. В нем, как и в любом другом производстве имеется сырье (сточные воды) и готовая продукция (очищенная вода).
Виды очищающих устройств.
Механическую очистку применяют для извлечения из сточных вод нерастворенных минеральных и органических примесей с целью подготовки к биологическому, физико-химическому или другому методу очистки.
Механическая очистка является предварительным, реже — окончательным этапом очистки сточных вод. Механическая очистка позволяет выделять из бытовых сточных вод до 60-75 % нерастворимых примесей, а из промышленных до 95 %, многие из которых как ценные примеси, используются в производстве.
Механическая очистка сточных вод обеспечивается решетками, ситами, песколовками, септиками, навозоуловителями различных конструкций, а поверхностные загрязнения - нефтеловушками, бензомаслоуловителями, отстойниками.
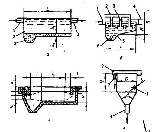
Решетки.
Процеживание, как разновидность механической очистки, предназначено, в основном, для извлечения из сточных вод крупных твердых нерастворенных частиц размером до 25 мм, а, также мелких волокнистых частиц, которые при последующей обработке стоков являются препятствием для нормальной работы очистительного оборудования. Сточные воды процеживают через решетки (рис.11.6). Решетки, изготовленные из металлических прутьев (стержней) с промежутком 5-25 мм, устанавливают в коллекторах очистительных сооружений вертикально или под углом 60 - 75° к горизонту. Их рассчитывают на максимальный приток сточных вод или на пропускную способность очистительной станции. Скорость сточной воды на решетке не должна превышать 0,8 - 1,0 м/с при максимальном потоке сточных вод.
Отстаивание – это процесс оседания твердых частиц в жидкости. При этом может быть свободное оседание частиц, которые не слипаются, и оседания частиц, склонных к слипанию (коагуляции). Закономерности свободного оседания частиц хранятся при массовой их концентрации не более 2,6 кг/м3.

Рис. 11.6 - Основные виды решеток с разными способами их закрепления относительно потока воды: а – заднее закрепление; б – переднее закрепление; в – вертикальное закрепление; 1 – решетка; 2 – скребковая цепь; 3 –грабли.
Для очистки сточных вод отстаиванием используют песколовки (рис.11.7, а, б) и отстойники (рис.11.7 в).
Песколовка.
При производительности станции очистки сточных вод, превышающей
, устанавливаются специальные песколовки. Число работающих песколовок или отделений песколовок должно быть не менее двух. В зависимости от производительности станции применяют тангенциальные, горизонтальные или аэрируемые песколовки.
Принцип работы песколовки.
Сточная вода, которая поступает в песколовку 2 через входной патрубок, двигается прямолинейно, а твердые частицы оседают, накапливаясь в шлакосборнике 3 и на дне песколовки. Очищенная вода через исходный патрубок 4 направляется для последующей обработки. Осадок с песколовки удаляют ежесуточно.
Отстойники.
Отстаивание сточных вод (осаждение взвесей) производится в резервуарах специальной конструкции, называемых отстойниками. Отделение взвешенных в жидкости твердых частиц происходит под действием силы тяжения. Тип отстойника выбирают в зависимости от производительности станции
очистки сточных вод: до 20000 – вертикальные, свыше 15000 – горизонтальные, а свыше 20000 – радиальные.
Различают горизонтальные, вертикальные и радиальные отстойники.
Рассмотрим каждый из них в отдельности.

Рис. 11.7- Основные схемы установок для очищения сточных вод от твердых примесей: а - песколовка; б - аэрированная песколовка; в - отстойник; г - гидроциклон
Горизонтальные отстойники – емкости, имеющие в плане прямоугольную форму, очищаемая в них вода движется вдоль длинных сторон, а отделяемая взвесь выпадает на дно отстойника.
Вертикальные отстойники (рис.11.8) состоят из расположенного вертикально цилиндрического корпуса, в центре которого по оси установлена труба, подающая в нижнюю часть отстойника поступающую на очистку воду. Очищаемая вода поднимается вверх по кольцевому зазору, образованному корпусом отстойника и центральной трубой, а отделяемая взвесь образует осадок в нижней части отстойника.
Радиальные отстойники (рис. 11.9)представляют собой резервуар цилиндрической формы, в центральную трубу которого поступают загрязненные сточные воды. Из центральной трубы очищаемая вода поступает в распределительное устройство и по радиальным трубам через сопла – в камеру флокуляции. Выпадающий на дно осадок (шлам) перемещается к центру отстойника при помощи скребков, укрепленных на вращающейся ферме, и поступает в углубление, из которого удаляется шламовыми насосами.

Рис. 11.8 – Bертикальный отстойник c камерой хлопьеобразования: 1 - переливной трубопровод; 2 - отводящий трубопровод; 3 - подводящий тангенциальный трубопровод; 4 - камера хлопьеобразования; 5 - горизонтальные перегородки; 6 - вертикальные перегородки; 7 - зона осветления; 8 - зона накопления осадка; 9 - илоотводная труба.

Рис. 11.9 - Pадиальный отстойник: 1 - корпус отстойника; 2 - илоотводная труба; 3 - приямок для сбора осадка; 4 - вращающаяся ферма co скребками; 5 - труба для подачи очищаемой воды; 6 - мостик; 7 - водораспределительный стакан; 8 - гофрированный шланг; 9 - поплавок c дырчатой трубой; 10 - труба для отвода осветлённой воды
Гидроциклоны.
Они бывают напорные (закрытые) и безнапорные (открытые).
Открытые гидроциклоны обладают существенными преимуществами перед напорными, так как они имеют меньшее гидравлическое сопротивление (до 5 кПа) и большую производительность.
В связи с этим на металлургических заводах находят применение преимущественно открытые гидроциклоны.
Процесс осветления очищаемой воды в отстойниках и гидроциклонах может быть ускорен путем применения флокулянтов (коагулянтов) или предварительной обработки воды в магнитном поле. В настоящее время используют в основном синтетические коагулянты (полиакриламид и др.). Образующиеся при этом коллоидные хлопья оседают в воде и увлекают за собой частицы взвеси, что существенно ускоряет процесс осветления воды. При обработке воды магнитным полем взвешенные в ней ферромагнитные частицы образуют агрегаты (флоккулы), что увеличивает их гидравлическую крупность и облегчает разделение суспензии. Имеющийся опыт установки трехполюсных кобальтоникелевых магнитных систем в распределительных лотках перед отстойниками оборотного цикла водоснабжения мартеновского цеха показал, что степень осветления воды при магнитной обработке существенно растет. Магнитная коагуляция стоков газоочисток мартеновских печей экономически целесообразнее обработки очищаемой воды такими коагулянтами, как полиакриламид.
Осветлители – перегниватели.
Осветлители – перегниватели выполняют в виде комбинированного сооружения, состоящего из перегнивателя и осветлителя с естественной аэрацией, концентрически располагаемого внутри перегнивателя.
Нефтеловушки.
Для задержания нефтяных частиц при концентрации их в сточной воде более 100 мг/л следует предусматривать в составе станций очистки сточных вод специальные нефтеловушки.
Физическая очистка.
При физических методах очистки из сточных вод удаляются тонко дисперсные и растворенные неорганические примеси и разрушаются органические и плохо окисляемые вещества, чаще всего из физико-химических методов применяется коагуляция, окисление, сорбция, экстракция и т.д.
Физические способы очистки сточных вод базируются на флотации, мембранных технологиях очистки и азотропной отгонке, электролизе.
Флотация.
Флотация – больше всего распространенный способ очистки сточных вод лесоперерабатывающих предприятий. Флотацию успешно используют для очистки сточных вод от маслопродуктов и других легковсплывающих веществ, которые применяются в деревообрабатывающей промышленности.
Флотация – это процесс молекулярного прилипания частиц загрязненных веществ к поверхности распределения двух фаз: вода – воздух, вода – твердое вещество. Процесс очистки сточных вод от легковсплывающих веществ (растворителей, нефтепродуктов и др.), волоконных материалов флотацией заключается в образовании системы "частицы загрязнений — пузырьки воздуха", которые всплывают на поверхность и утилизируются.
Эффект разделения флотацией зависит от размера и количества пузырьков воздуха. Опытами установлено, что за оптимальный размер пузырьков следует принимать 15-30 мкм. При этом необходимая высокая степень насыщения воды воздушными пузырьками. Удельная затрата воздуха снижается с повышением концентрации примесей, поскольку увеличивается вероятность столкновения и прилипания частиц загрязняющих веществ к воздушным пузырькам. Важное значение имеет стабилизация размеров пузырьков в процессе флотации. Для этого вводят в воду разные пенообразующие, которые уменьшают поверхностную энергию разделения фаз. К ним относятся: сосновое масло, крезол, фенолы, алкилсульфат натрия и др. Вес частиц не должен превышать силы прилипания их к пузырькам и подъемной силы пузырьков.
Флотация может быть использована при сочетании с флокуляцией. Этот процесс иногда называют флоктацией.
Преимуществами флотации являются: непрерывность и большая скорость процесса, высокая степень очистки (95-98 %), возможность рекуперации удаленных веществ, простота конструкции флотационных установок, небольшие капиталовложения.
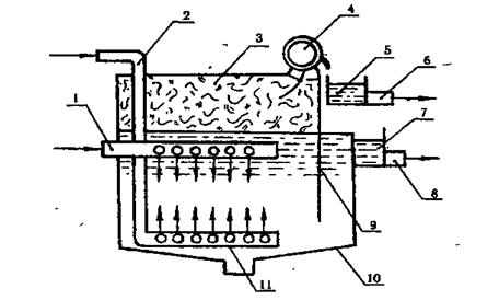
По принципу действия флотационные установки классифицируются на такие виды: с механическим диспергированием воздуха; с подачей воздуха через пористые материалы; электрофлотационные и биологические флотационные установки. На лесоперерабатывающих предприятиях целесообразно применять пенные, напорные, вакуумные химические и биологические флотационные установки. На рис. 11.10 приведена напорная флотационная установка.

Рис.11. 10 - Схема напорной флотационной установки: 1 - трубопровод для сточной воды; 2 - трубопровод для сжатого воздуха; 3 - крышка; 4 - отцентрированный вентилятор; 5 - пеносборник; 6 - трубопровод для пены; 7 - водоприемник; 8 - трубопровод для отвода воды; 9 - перегородка; 10 - флотатор
Принцип работы установки заключается в следующем. Сточная вода трубопроводом 1 через отверстия в нем равномерно поступает в флотатор 10. Одновременно трубопроводом 2 подается сжатый воздух, который через насадки 11 из пористого материала в виде мелких пузырьков равномерно распределяется по периметру флотатора. При всплытии пузырьки воздуха обволакивают частицы загрязненных веществ, увеличивая скорость их всплытия. Пена накапливается между зеркалом воды и крышкой 3 флотатора, отсасывается центробежным вентилятором 4 в сборник 5 и через трубопровод 6 направляется для обработки пены и вытягивания из нее загрязненных веществ. В процессе вертикального перемещения сточной воды в флотаторы наблюдается насыщение воды кислородом воздуха. Очищенная вода, огибая перегородку 9, сливается в водоприемник 7. Отсюда трубопроводом 8 подается на переработку.
Эффект флотации с подачей воздуха через пористые материалы зависит от величины отверстий в пористом материале, давления воздуха, затраты воздуха, длительности флотации, уровня воды в флотаторе. Опыты показывают, что размер отверстий в пористом материале должен быть от 4 до 20 мкм, давление воздуха 0,1-0,2 МПа, расхода воздуха 40-70 м3/(м2∙час), длительность флотации 20–З0 мин., уровень воды в камере до флотации 1,5-2,0 м.
Кроме флотации с механическим диспергированием воздуха, на предприятиях также применяются химическая и биологическая флотации.
Химическая флотация основана на введенные в сточную воду химических реагентов для ее обработки, которые предопределяют химические процессы с выделением газов: О2, СО2, Сl2 и др. Молекулы этих газов при некоторых условиях могут прилипать к нерастворенным твердым частицам и выносить их в пенный слой. Такое явление, например, наблюдается при обработке сточных вод хлорной известкой с введением коагулянтов.
Биологическая флотация применяется для уплотнения осадка из первичных отстойников при очистке бытовых сточных вод. Для этого осадок подогревается водяным паром в специальной емкости до 35-55 °С и при таких условиях выдерживается несколько суток. В результате деятельности микроорганизмов выделяются молекулы газов, которые выносят частицы осадка в пенный слой, где они уплотняются.
Электролиз.
Он заключается в разрушении органических веществ в сточных водах и извлечении металлов, кислот и других неорганических веществ. Электролитическая очистка осуществляется в особых сооружениях - электролизерах. Очистка сточных вод с помощью электролиза эффективна на свинцовых и медных предприятиях, в лакокрасочной и некоторых других областях промышленности.
Химическая очистка.
Химический метод заключается в том, что в сточные воды добавляют различные химические реагенты, которые вступают в реакцию с загрязнителями и осаждают их в виде нерастворимых осадков. Химической очисткой достигается уменьшение нерастворимых примесей до 95 % и растворимых до 25 %.
Химическую очистку сточных вод проводят преимущественно тремя способами: нейтрализацией, окислением и возобновлением.
Нейтрализацию осуществляют для доведения рН сточных вод до 6,5 - 8,5, то есть близкой к нейтральной. Значит, нейтрализовать нужно сточные воды с рН < 6,5 (имеющие кислую реакцию среды) и с рН>8,5 (имеющие щелочную реакцию среды). Нейтрализацию осуществляют путем смешивания кислых сточных вод со щелочами, добавлением к сточных водам реагентов или фильтрованием через нейтрализующие материалы.
Практика свидетельствует, что наибольшую опасность для окружающей среды создают кислые стоки.
При химической очистке применяют такие способы нейтрализации:
· взаимная нейтрализация кислых и щелочных сточных вод путем смешивания;
· нейтрализация сточных вод реагентами (растворами кислот, негашеной известью СаО, гашеной известью Са(ОН)2, кальцинированной содой Na2CО3 каустической содой NaOH, раствором аммиака NH4OH);
· фильтрование сточных вод через нейтрализующие материалы (известка, известняк СаСО3, доломит CaCO3∙MgCO3, магнезит MgCO3, мел СаСО3).
Выбор способа нейтрализации сточных вод зависит от многих факторов: вида и концентрации кислот в сточных водах; расходов и режима подачи отработанных вод на нейтрализацию; наличия реагентов и местных условий и др.
Метод термического опреснения.
В настоящее время сточные воды часто доочищают для повторного использования в производственном водоснабжении. Метод доочистки стоков вбирают в зависимости от конкретных остаточных загрязнений воды. Так, для очистки сильноминерализованных стоков применяется метод термического опреснения, при котором дистиллят, полученный из стоков, используют как обессоленную воду. Повторное использование доочищенных стоков в 20-25 раз сокращает потребление свежей воды из источников.
Ультразвук.
Загрязненные сточные воды очищают также с помощью ультразвука, озона, ионообменных смол и высокого давления, хорошо зарекомендовала себя очистка путем хлорирования.
Биологическая очистка – один из самых распространенных методов очистка сточных вод от многих органических и некоторых неорганических примесей на предприятиях лесопромышленного комплекса. По характеру данный метод аналогичен природным процессам.
Биологическая очистка осуществляется с помощью микроорганизмов (биоценоза), в состав которых входит большое количество разных бактерий (простых и высокоорганизованных), связанных между собой в единственный комплекс сложными взаимоотношениями (метабиоза, симбиоза и антагонизма). Главная роль в этом комплексе отводится бактериям, число которых находится в границах от 106 до 1014 клеточек в одном грамме сухой биомассы. Число видов бактерий может достигать 5 - 10, а число видов – несколько десяток и даже сотен.
Такая разновидность видов бактерий обусловлена наличием в сточной воде органических веществ разных классов. Если в составе сточных вод есть лишь один или несколько близких по составу органических соединений, то существует возможность развития монокультуры бактерий.
Биофильтр – это сооружение, в корпусе которого размещается кусковая насадка (загрузка) и распределительное устройство для сточной воды и воздуха. В биофильтрах сточная вода фильтруется через слой кусковой насадки, покрытой пленкой из микроорганизмов. Микроорганизмы биопленки окисляют органические вещества, используя при этом, как и источники питания, так и энергии. Таким образом, из сточной воды выводятся органические вещества, а масса активной пленки увеличивается. Отработанная биопленка смывается проточной сточной водой и выносится с биофильтра.
Как кусковые насадки (загрузка) в биофильтре используют: щебень; гравий; шлак; керамзит; керамические пластмассовые кольца; кубы; шарики; цилиндры; тканевые и пластмассовые сетки, скрученные в рулоны.
На рис.11.11 приведены виды загрузочных элементов биофильтров, которые обеспечивают необходимую поверхность контакта загрязненных веществ с активным намылом.
Аэротендами называют железобетонные аэрированные резервуары. Процесс очистки в аэротенде идет при протекании через него аэрированной смеси сточной воды и активного намыла.
За конструкцией аэротенды разделяются на такие типы: вытеснители; смесители с рассредоточенным впуском воды; с неравномерно распределенной подачей воды; с регенератором. В аеротенде-вытеснителе вода и намыл подаются в первую часть сооружения, а смесь отводится в конце. В аэротендах-смешивателях сточная вода и намыл подаются и отводятся равномерно вдоль сооружения.
Поля фильтрации, как правило, необходимо предусматривать на песках, супесках и легких суглинках для полной биологической очистки предварительно осветленных сточных вод. Продолжительность отстаивания сточных вод перед поступлением их на поля фильтрации не должна быть менее 30 мин.

Рис. 11. 11 - Основные виды загрузочных элементов биофильтров: а - кольца; б - сидение; в - пустотелые цилиндры; г - жесткая блочная загрузка; д - мягкая загрузка.
В аэротенде с рассредоточенной подачей воды и намыла нагрузка достигает максимума в конце очистительного сооружения. В аэротенде камерного типа смесь из первого отсека переливается второй, из второго – в третьей и т.д. В каждом отсеке осуществляется полное смешивание намыла с загрязненной сточной водой. В аэротендах с регенераторами достигается более длительный контакт намыла с загрязненными веществами. В аэротендах всех типов применяют аэрацию.
Аэротенки.
Аэротенки - огромные резервуары из железобетона. Здесь очищающее начало - активный ил из бактерий и микроскопических животных. Все эти живые существа бурно развиваются в аэротенках, чему способствуют органические вещества сточных вод и избыток кислорода, поступающего в сооружение потоком подаваемого воздуха. Бактерии склеиваются в хлопья и выделяют ферменты, минерализующие органические загрязнения. Ил с хлопьями быстро оседает, отделяясь от очищенной воды. Инфузории, жгутиковые, амебы, коловратки и другие мельчайшие животные, пожирая бактерии, не слипающиеся в хлопья, омолаживают бактериальную массу ила.
Обеззараживание.
Обеззараживание бытовых сточных вод или их смеси с производственными должно предусматриваться на станциях полной и неполной биологической очистки. Обеззараживание сточных вод производится жидким хлором или гипохлоридом натрия, получаемым на месте в электролизерах. Расчетная доза активного хлора: после механической очистки
отстоенных сточных вод; после полной биологической очистки
; после неполной биологической очистки
. Для смешения сточной воды с хлором возможно применение смесителей любого типа.






