Рис.2.40
Рис.2.39
Рис.2.38
На рис.2.39 приведены примеры статически неопределимых систем. В стержне с жестко заделанными концами (рис.4.2, а) возникают две реакции, а уравнение равновесия можно составить только одно, следовательно, конструкция один раз статически неопределима. Не нарушая равновесия стержня, можно отбросить одну из опор.

Для системы из трех стержней (рис.2.39, б) можно составить два уравнения равновесия, а неизвестных сил в системе три, следовательно, система один раз статически неопределима. Один из стержней не нужен для равновесия системы, и его можно отбросить. Рассуждая аналогично, можно установить, что система из четырех стержней (рис.2.39, в) дважды статически неопределима.
Для определения внутренних сил в системе из пяти стержней (рис.2.39, г) необходимо вырезать и рассмотреть раздельно равновесие узлов
и
. К каждому узлу примыкают три стержня (всего пять стержней и, следовательно, пять неизвестных сил), а уравнений равновесия для каждого узла можно составить два, т.е. всего четыре уравнения. Система один раз статически неопределима.
|
|
|
Напомним, что для пространственной системы сил можно составить шесть независимых уравнений равновесия: три уравнения, выражающие сумму проекций всех сил на три взаимно перпендикулярные оси (
,
,
), и три - сумму моментов всех сил относительно этих же осей (
,
,
). Для общего случая сил, лежащих в одной плоскости- три независимых уравнения (например:
,
,
). В частных случаях плоской системы можно составить два независимых уравнения равновесия: для системы параллельных сил (например:
,
) и для системы сил, линии действия которых пересекаются в одной точке (
,
). Для сил, линии действия которых лежат на одной прямой, можно записать только одно независимое уравнение (например:
).
На рис. 2.40 показаны примеры составления силовых схем и определения степени статической неопределимости по формуле
,
где n - общее число неизвестных сил, включая реакции опор; m - число возможных для данной системы независимых уравнений статики.


Операции по определению неизвестных силовых факторов в статически неопределимых системах принято называть раскрытием статической неопределимости. Производятся они следующим образом. В начале исходя из силовой схемы составляются уравнения равновесия.
При решении любых задач число уравнений должно быть равно числу неизвестных. Для определения сил в стержнях статически неопределимых систем следует составлять уравнения, дополняющие уравнения равновесия до числа неизвестных сил. Дополнительные уравнения, называемые уравнениями совместности перемещений или деформаций, составляют, определяя перемещения отдельных стержней системы и устанавливая между ними связь.
|
|
|
Принцип совместности деформирования выражает условие, заключающееся в том, что конструкция должна деформироваться без разъединения и непредусмотренного взаимного перемещения отдельных ее звеньев.
Для облегчения записей уравнений перемещений строят схему деформаций всех упругих элементов или схему деформированной системы. Для любой статистически неопределимой системы всегда можно составить столько дополнительных уравнений, сколько раз система статически неопределима.
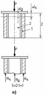
В силу различной взаимозависимости элементов, различия накладываемых связей и условий деформирования, уравнения совместности деформаций систем записываются по разному. Но все они выражают соотношения деформаций (перемещений) отдельных упругих элементов системы. Например, на схеме,
на рис. 2.40, в 
а на рис. 2.40, г. 
т. к. весь стержень не может не удлиниться, ни укоротиться. На схеме (рис. 2.40, а) можно установить геометрическое соотношение деформаций стержней 1, 2 и 3.
После получения указанных геометрических соотношений величины абсолютных изменений, длины стержней
заменяют по закону Гука их выражениями через усилия
:

Полученные таким образом уравнения, содержащие в качестве неизвестных продольные силы, и являются дополнительными уравнениями. Они включают также показатели жесткости отдельных звеньев конструкции, вводя тем самым зависимость распределения сил внутри системы от жесткости ее элементов. Вместе с уравнениями статистики общее число уравнений равно числу неизвестных сил. Решая их, определяют неизвестные внутренние (продольные) силы.
В заключение может быть выполнена энергетическая проверка решения задачи. Она заключается в составлении и удовлетворении равенства работы внешних сил А и суммы потенциальной энергии деформации элементов системы U.
Сложные статически неопределимые системы, в том числе статически неопределимые фермы (элементы ферм работают на растяжение, сжатие) и статически неопределимые рамы, рассматриваются в курсе строительной механики стержневых систем. В курсе сопротивления материалов рассматриваются обычно простейшие статически неопределимые системы, к которым относятся:
а) прямые стержни постоянного, кусочно-постоянного и переменного сечений, закрепленные с двух сторон, от нагрузки действующей вдоль оси стержня;
б) системы шарнирно соединяемых стержней с возможным включением жестких недеформируемых элементов.
При решении статически неопределимых систем, в стержнях которых действуют продольные силы, можно отметить основные этапы:
1) анализ работы конструкции с указанием действующих силовых факторов и выяснением деформации ее элементов, определение степени статической неопределимости;
2) статическая сторона задачи – составляют уравнения равновесия для системы или отсеченных ее частей;
3) геометрическая сторона задачи – выясняют, как деформируются стержни системы, изображают систему в деформированном виде, устанавливают связи между перемещениями отдельных элементов системы, составляют уравнения совместности перемещений;
4) физическая сторона задачи – выражает деформации элементов, согласно закону Гука, через действующие в них неизвестные усилия;
5) синтез – определяют неизвестные силы, решая совместно систему уравнений равновесия и перемещений.
Статически неопределимые конструкции характеризуются рядом особенностей, по сравнению со статически определимыми системами. Так, при эксплуатации конструкции возможно изменение ее температуры, вызванное условиями работы или сменой времен года. С изменением температуры изменяются линейные размеры элементов конструкции: увеличиваются при нагреве, уменьшаются при охлаждении на величину
|
|
|
, (2.38)
где
- температурный коэффициент линейного расширения (см. раздел «Справочные данные»);
- длина элемента;
- изменение температуры, (0С).
В статически определимых системах длина стержня может свободно изменяться при их нагреве или охлаждении (рис.2.41, а, б).
