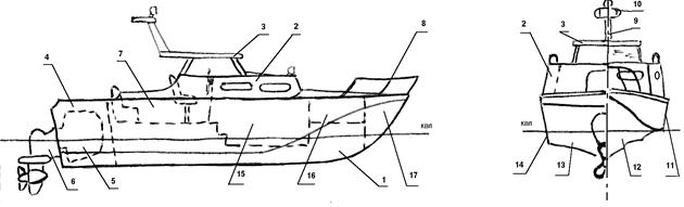
Рис. 1. Общее устройство маломерного моторного судна
Классификация маломерных судов
Ой учебный вопрос. Классификация и общее устройство маломерного моторного судна
Судно - плавучее сооружение, имеющее водонепроницаемый корпус и предназначенное для перевозки грузов и пассажиров, водного промысла или выполнения других хозяйственных и специальных задач.
Под маломерными судами понимаются суда и другие водные транспортные средства (моторные, гребные и несамоходные) валовой вместимостью менее 80 регистровых тонн, пассажировместимостью 12 и менее человек, со стационарными двигателями мощностью менее 55 кВт (75 л.с.) или подвесными моторами независимо от мощности.
/ 1 Регистровая тонна = 2,831685 м3 - единица объема , применяемая для выражения регистровой вместимости судна (объема внутренних помещений судна./
Шлюпками называются беспалубные маломерные гребные, парусные и моторные суда. Их изготавливают из дерева, металла, пластмасс, а также резинотканей (надувные). По назначению шлюпки делятся на служебные (судовые), спасательные и спортивные. В зависимости от размеров и конструкции шлюпки подразделяются на баркасы, вельботы, ялики и тузики.
Катер - самоходная шлюпка, имеющая палубу и хорошие мореходные качества. Применяется для служебно-вспомогательных целей (гидрографические, водолазные, лоцманские, санитарные, буксирные, спасательные, рабочие, разъездные и др.) и народохозяйственные (рыбопромысловые, пассажирские).
Катера могут оснащаться двухмачтовым парусным и весельным (от 10 до 16 весел) вооружением с кливером, фоком и гротом. На них устанавливается мотор, обеспечивающий автономность плавания, предусмотрена обитаемость экипажа.
Семейство маломерных судов очень многообразно, поэтому приведенная ниже классификация не претендует на полноту и законченность, она может изменятся и дополнятся (см. “Морские и речные термины. Словарь.” - М.: “Былина”, 1997.(Инв.620у) термин суда):
1. По назначению:
· транспортные суда (для перевозки грузов и пассажиров);
· спортивные (для спортивных целей и тренировок);
· специальные (для проведения специальных работ на воде).
2. По режиму движения:
* водоизмещающие (суда, которые поддерживаются на плаву за счет “архимедовой силы”);
* глиссирующие (суда, у которых при движении, благодаря особой формы днища, возникает гидродинамическая сила, вызывающее значительное всплытие судна и скольжение его по поверхности воды);
* на подводных крыльях (суда, у которых при движении за счет аэродинамической подъемной силы подводных крыльев, корпус судна выходит из воды);
* на воздушной подушке (суда, у которых корпус поддерживается над поверхностью за счет нагнетания воздуха под основание камеры днища).
3. По роду движителя:
* весельные;
* парусные;
* колесные;
* винтовые;
* водометные;
* реактивные.
4. По материалу корпуса:
* деревянные;
* металлические;
* стеклопластиковые;
* резинотканевые;
* композитные;
* железобетонные;
* из других материалов.
5. По конструкции набора корпуса:
* с продольным набором;
* с поперечным набором;
* со смешанным набором;
* безнаборные.
6. По роду двигателя:
* со стационарным двигателем;
* с подвесным двигателем.
7. По обводам корпуса:
* плоскодонные;
* круглоскулые (круглошпангоутные);
* остроскулые (шарпи);
* реданные;
* безреданные;
* смешанные.
8. По количеству корпусов:
* однокорпусные;
* многокорпусные (катамараны, тримараны, многоточечные, лыжи, сани и др.).
Требования к маломерным и прогулочным судам изложены в ГОСТ 19105-79, ГОСТ 19356-79, общее устройство маломерного моторного судна представлено на рис.1.
Основными составными частями маломерного моторного судна (на примере катера любительской постройки) являются:
Корпус (1). Основная часть судна, в которую входят набор и обшивка. Набор

(на примере катера любительской постройки).
1-корпус судна; 2-надстройка; 3-рубка; 4-моторная ниша; 5-главный двигатель; 6-реверс-редукторное устройство с гребным винтом; 7-кокпит; 8-леер; 9-мачта; 10-ходовые огни; 11-надводный борт; 12-редан; 13-днище; 14-подводный борт; 15-каюта; 16-кубрик; 17-форпик.
состоит из продольных и поперечных связей, служащих основанием для обшивки. Передняя часть (надстройка) корпуса называется баком (бак), средняя часть - шканцами (шканцы), кормовая часть (надстройка) - ютом (ют).
Надстройка (2). Конструкция над корпусом судна, являющаяся продолжением его бортов, или помещение, расположенное на палубе по всей ширине корпуса судна.
Рубка (3). Часть надстройки или конструкция на палубе не занимающая всей ширины корпуса судна (расстояние от борта до стены рубки более 4% от ширины корпуса). Рубка - помещение для управления судном и двигателем. На маломерных судах надстройка и рубка совмещается.
Моторная ниша (4). Отсек в кормовой части корпуса судна для размещения главного судового двигателя, узлов и агрегатов систем двигателя, топливных емкостей. Моторная ниша может быть открытая (как правило для подвесных двигателей) и закрытая (для стационарных двигателей).
Главный двигатель (5), реверс-редукторное устройство с гребным винтом (6). Механизмы, приводящие в движение маломерное судно.
Кокпит (7). Вырез или углубление в палубе маломерного судна на юте, как правило отделен от остальной палубы буртиком. Предназначен для размещения пассажиров, грузов и экипажа.
Леер (8). Туго натянутый тонкий трос в качестве ограждения вдоль бортов судна при отсутствии фальшборта. Фальшборт - продолжение борта над палубой в носовой и кормовой части судна.
Мачта (9). Часть рангоута маломерного судна, установленная в диаметральной плоскости судна, возвышающаяся над рубкой и предназначенная для установки приборов сигнализации (ходовых огней) и связи.
Надводный борт (11), подводный борт (14), днище (13). Элементы внешней обшивки корпуса выше и ниже конструктивной ватерлинии (КВЛ).
Редан (12). Уступ на поверхности днища маломерного судна в носовой части, который обеспечивает при движении судна его подъем из воды до положения скольжения (глиссирования).
Каюта (15), кубрик (16). Помещения на судне, предназначенное для проживания экипажа судна и пассажиров.
Форпик (17). Носовой отсек, расположенный непосредственно у форштевня.
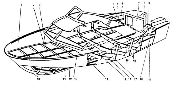
Несмотря на разнообразие маломерных судов, их корпуса устроены, в основном, из одних и тех же элементов. Общее устройство корпуса маломерного моторного судна представлено на рис.2.







