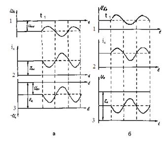
До момента t1 на входных клеммах имеется только напряжение смещения, Uвх =0. Поэтому в выходной цепи протекает только постоянная составляющая I0к. Потенциал коллектора Uк0 определяется выражением Uк0=Е- I0кRн. В момент t1 во входную цепь поданы Uвх(t) и Ecм парралельно, которые показаны на рис. 3.7. (график 1). Потенциональный барьер эмиттерного прямосмещенного перехода будет меняться по закону Uвх(t), что приведет к изменению тока инжекции Iэ, следовательно, Iк (график 2).
Если напряжение на эмиттерном переходе уменьшается, то уменьшаются Iэ, Iк и наоборот. Таким образом, источник сигнала Uвх(t) небольшой мощности управляет током выходной цепи. В выходную цепь, кроме основного источника питания, включено нагрузочное сопротивление, следовательно, на этом сопротивлении из-за протекания тока будут происходить падения напряжения постоянной Uк0 и переменной Uвых(t) составляющих. В схеме с общим эмиттером Uвых(t) снимается через разделительную емкость С с коллектора, которое равно Uвых(t) = E-iвых(t)Rн (график 3).
Анализируя графики 1 и 3, приходим к выводу, что усилительный каскад с общим эмиттером меняет фазу усиленного сигнала Uвых(t) на 180о

Рис.3.7. Графики напряжений и токов в усилителях:
а – с p-n-p-транзистором; б – с n-p-n-транзистором






