Простейшим электрическим аппаратом, применяемых в стационарных установках, является рубильник, предназначенный для нечастого включения и отключения электрической цепи постоянного и переменного тока и напряжения до 1000 В.

Рубильники бывают открытого и закрытого (с металлическим кожухом) исполнения; с боковой или центральной рукояткой; одно-, двух- или трехполюсные. Если рубильники используют для выключения цепей под нагрузкой, то их контакты снабжают дугогасительными камерами.
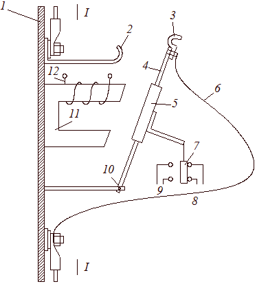
Для предохранения контактов от обгорания при образовании электрической дуги в момент разрыва контактов рубильники выполняют с двумя параллельными ножами: главным 2 и вспомогательным 4. Кроме шарнирного ножи имеют пружинное соединение 3. При размыкании вспомогательный нож быстро выходит из неподвижных контактов 1. Поэтому образовавшаяся электрическая дуга имеет малую мощность и быстро гаснет.
Провода питающей сети присоединяют к неподвижным контактам, что обеспечивает большую безопасность обслуживающего персонала.
|
|
|
Рубильники различных типов применяются для отключения силовых цепей с созданием видимого разрыва цепи. Рубильники выпускаются двухполюсные для цепей постоянного тока и 3-х полюсные для цепей переменного тока. Диапазон номинальных токов от нескольких десятков до несколько тысяч ампер.
Пакетные выключатели и переключатели. Ш ироко используются д ля коммутации силовых цепей.

Пакетный выключатель состоит из пакетов-колец 1, изготовленных из изолирующего материала. Между пакетами укреплены неподвижные контакты 2. Подвижные контакты 4 выполняются в виде пластин различной формы, насаживаемых на стержень квадратного сечения. Эти пластины изолированы от стержня и друг от друга и могут поворачиваться на угол 45, 90, 120 градусов с помощью рукоятки 3.
Пакетные выключатели и переключатели могут быть одно-, двух-, трех- и многополюсные.
Пакетные выключатели т. ПВМ выпускаются напряжения 220 В и 380 В, токи: постоянный – 10…250 А; переменный – 16…160 А. Частота включений в час – 300.
Кнопки управления. Применяют для ручного дистанционного управления электромагнитными аппаратами. При нажатии на кнопку управления электрическая цепь либо замыкается, либо размыкается.
а)

В зависимости от типа кнопки количество контактов может быть разным, но не более 8. Комплект кнопок управления, смонтированных в едином корпусе, образуют кнопочную станцию.
Контакторы постоянного и переменного токов. Наиболее распространенным коммутационным аппаратом является контактор – выключатель с электромагнитным управлением, у которого вручную производят переключение в цепи управления, а переключение в главной цепи происходит при этом автоматически. Контакторы предназначены для частых включений и отключений электроустановки под нагрузкой (от 30 до 3600 включений и отключений в час).
|
|
|
По роду тока в главной силовой цепи контактора различают контакторы постоянного и переменного токов. В зависимости от назначения главной электрической цепи, включаемой и отключаемой главными контактами, контакторы бывают линейные, включающие и отключающие различные электрические цепи (обмотки электрических машин и т. д.), и контакторы ускорения, служащие для переключения ступеней пускового или регулировочного реостата.
Включение контактора происходит за счет силы тяги электромагнита, а отключение под действием пружины или силы тяжести.

Устройство контактора постоянного тока
Контактор постоянного тока. Контактор имеет главные контакты: неподвижный 2, прикрепленный к основанию 1, и подвижный 3, который поворачивается вместе с рычагом 4 вокруг оси вращения 10. При протекании тока по катушке 12 к ее сердечнику 11 притягивается якорь 5, при этом замыкаются главные контакты 2, 3 и замыкаются или размыкаются вспомогательные контакты 8 и 9, выполняющие операции управления. Когда якорь притянут к сердечнику, замыкаются главные контакты и осуществляется или передача напряжения на обмотку электродвигателя, или шунтирование ступени пускового реостата. Замыкание (контакты 9) и размыкание (контакты 8) осуществляются контактным мостиком 7, связанным с якорем 5. При обесточивании катушки 12 главные контакты 2, 3 и вспомогательные 9 размыкаются, 8 – замыкаются.
Катушку контактора наматывают из большого количества витков тонкого провода, и по ней протекает небольшой ток. Поэтому вручную кнопкой управления замыкают и размыкают цепь с малым током. Кнопка управления имеет небольшие размеры и может быть размещена на любом удобном для оператора расстоянии от электроустановки. Контактор размещают вблизи электроустановки. Таким образом, можно дистанционно управлять электроустановкой.
Контакторы постоянного тока т. КП, КМ, КПД выпускаются на напряжения 220, 600, В; токи 20…250 А; допустимая частота включений в час – 240, 300, 1200. Контакторы постоянного тока бывают одно- и двухполюсными.
Контактор переменного тока. Магнитопровод контакторов переменного тока выполняют из отдельных листов электротехнической стали (для уменьшения потерь мощности, обусловленных вихревыми токами). Катушки управления имеют меньшее число витков, т. к. в отличие от катушек контакторов постоянного тока они имеют большую индуктивную составляющую сопротивления (при замкнутой магнитной системе). В момент включения катушки управления ток в ней велик, якорь быстро притягивается и ударяется о сердечник, после чего ток в цепи управления снижается. Удары якоря о сердечник сокращают срок службы контактора, во включенном положении контакторы переменного тока создают шум (гудение). Этот шум вызван тем, что при питании катушки управления переменным током при частоте 50 Гц ток и магнитный поток 100 раз в секунду проходит через нулевые значения, когда сила, удерживающая якорь у сердечника, становится равной 0. Образующаяся в результате этого вибрация якоря и создаёт гудение. Поэтому контакторы переменного тока имеют специальное устройство для уменьшения шума. Контактор переменного тока снабжают короткозамкнутым витком, охватывающим часть катушки для удержания якоря в притянутом состоянии при прохождении магнитного потока через 0. Якорь удерживается у сердечника потоком короткозамкнутого витка, который в это время отличен от 0.
При размыкании главных контактов контактора образуется электрическая дуга, т. к. по главной цепи протекают большие токи (в основном контакторы выпускают на токи до 600 А). Электрическая дуга, если она мощная и горит долго, оплавляет контакты, делает их поверхность неровной. Это, в свою очередь, ведет к увеличению сопротивления контактов, т. к. площадь соприкосновения уменьшается. В результате при протекании рабочего тока контакт сильно нагревается и еще больше разрушается. Поэтому контакторы имеют устройства, способствующие быстрому гашению дуги. Электрическую дугу легче погасить, если ее растянуть. Для этого применяют дугогасительные камеры, выполняемые из теплостойкого материала (асбоцемент).В этих камерах имеется узкая щель, в которой располагаются контакты и ось которой совпадает с осью дуги. Асбоцементы являются изолирующими материалами, защищающими металлические нетоковедущие части аппарата от переброса на них электрической дуги.
|
|
|
Контакторы переменного тока т. К и КТ выпускаются на напряжения 220, 380, 500, 660, 1600 В; токи 40…800 А; число полюсов 2, 3, 4 и 5, частота включений в час - 600, 1200, 3800.
Магнитный пускатель – аппарат, состоящий из контакторов, тепловых реле и кнопочной станции, закрытых общим кожухом. Магнитные пускатели предназначены для пуска, останова, реверсирования и тепловой защиты главным образом асинхронных двигателей. Наибольшее применение находят магнитные пускатели с контактными системами и электромагнитным приводом типов ПМЕ, ПМА, ПА (ПАЕ). Пускатели выполняются открытого, защищенного, пылебрызгонепроницаемого исполнения, реверсивные и нереверсивные, с тепловой защитой и без нее.
Пускатели серии ПМА предназначены для управления асинхронными двигателями в диапазоне мощностей от 1,1 кВт до 75 кВт на напряжение 380 – 660 В. Пускатели серии ПИЕ, ПАЕ обладают коммутационной способностью до 2х106 и частотой включений в час до 1200. Выбор контакторов и пускателей осуществляется по номинальному напряжению сети, номинальному напряжению питания катушек и пускателей, по номинальному току приемников электроэнергии.






